TOP
|
特許
|
意匠
|
商標
特許ウォッチ
Twitter
他の特許を見る
公開番号
2025146700
公報種別
公開特許公報(A)
公開日
2025-10-03
出願番号
2025026308,2024046424
出願日
2025-02-21,2024-03-22
発明の名称
マンコンベヤシステム
出願人
フジテック株式会社
代理人
個人
主分類
B66B
31/00 20060101AFI20250926BHJP(巻上装置;揚重装置;牽引装置)
要約
【課題】 処理装置の処理が停止した場合に、当該処理停止を示すデータを監視装置へ出力することができるマンコンベヤシステムを提供する。
【解決手段】 マンコンベヤシステムは、少なくとも一つのマンコンベヤを備える、マンコンベヤシステムであって、監視装置と通信可能である第1処理装置及び第2処理装置を備え、第1処理装置は、第2処理装置へ第1処理データを出力し、第2処理装置は、第1処理データを取得し、第2処理装置は、第1処理装置へ第2処理データを出力し、第1処理装置は、第2処理データを取得し、第2処理装置は、第1処理装置から第1処理データを取得しない場合に、第1処理装置の処理が停止したことを示す第1処理停止データを、監視装置へ出力し、第1処理装置は、第2処理装置から第2処理データを取得しない場合に、第2処理装置の処理が停止したことを示す第2処理停止データを、監視装置へ出力する。
【選択図】 図1
特許請求の範囲
【請求項1】
少なくとも一つのマンコンベヤを備える、マンコンベヤシステムであって、
監視装置と通信可能である第1処理装置及び第2処理装置を備え、
前記第1処理装置は、前記第2処理装置へ第1処理データを出力し、前記第2処理装置は、前記第1処理データを取得し、
前記第2処理装置は、前記第1処理装置へ第2処理データを出力し、前記第1処理装置は、前記第2処理データを取得し、
前記第2処理装置は、前記第1処理装置から前記第1処理データを取得しない場合に、前記第1処理装置の処理が停止したことを示す第1処理停止データを、前記監視装置へ出力し、
前記第1処理装置は、前記第2処理装置から前記第2処理データを取得しない場合に、前記第2処理装置の処理が停止したことを示す第2処理停止データを、前記監視装置へ出力する、マンコンベヤシステム。
続きを表示(約 1,100 文字)
【請求項2】
前記少なくとも一つのマンコンベヤは、第1マンコンベヤ及び第2マンコンベヤを含み、
前記第1処理装置は、前記第1マンコンベヤの状態を示す第1状態データを取得し、前記第1処理データは、前記第1状態データを含み、
前記第2処理装置は、前記第2マンコンベヤの状態を示す第2状態データを取得し、前記第2処理データは、前記第2状態データを含み、
前記第1処理装置は、前記第2処理装置から前記第2処理データを取得しない場合に、前記第2処理停止データと取得した前記第2状態データとを、前記監視装置へ出力する、請求項1に記載のマンコンベヤシステム。
【請求項3】
前記少なくとも一つのマンコンベヤは、第1マンコンベヤ及び第2マンコンベヤを含み、
前記第1処理装置は、前記第1マンコンベヤを異常停止させる重異常が発生した内容を示す第1重異常データと、前記第1マンコンベヤの運転を継続させる軽異常が発生した内容を示す第1軽異常データと、を取得し、前記第1処理データは、前記第1重異常データ及び前記第1軽異常データを含み、
前記第2処理装置は、前記第2マンコンベヤを異常停止させる重異常が発生した内容を示す第2重異常データと、前記第2マンコンベヤの運転を継続させる軽異常が発生した内容を示す第2軽異常データと、を取得し、前記第2処理データは、前記第2重異常データ及び前記第2軽異常データを含み、
前記第1処理装置は、前記第1マンコンベヤが異常停止した場合に、前記第1重異常データ及び前記第1軽異常データを、前記監視装置へ出力する、請求項1に記載のマンコンベヤシステム。
【請求項4】
前記第1処理装置が前記第1重異常データ及び前記第1軽異常データを前記監視装置へ出力した後に、前記第1処理装置が前記監視装置から前記第1重異常データ及び前記第1軽異常データを取得したことを示すデータを取得しない場合に、前記第2処理装置は、前記第1処理装置から取得した前記第1重異常データ及び前記第1軽異常データを、前記監視装置へ出力する、請求項3に記載のマンコンベヤシステム。
【請求項5】
前記第1処理装置への給電が停止した場合に、前記第1処理装置へ給電する蓄電池をさらに備え、
前記第1処理装置は、前記蓄電池から給電されている場合に、前記第2処理装置へ、給電が停止したことを示す停電データを出力し、
前記第2処理装置は、前記第1処理装置から前記停電データを取得した後に前記第1処理装置から前記第1処理データを取得しない場合に、前記第1処理停止データ及び前記停電データを、前記監視装置へ出力する、請求項1~4の何れか1項に記載のマンコンベヤシステム。
発明の詳細な説明
【技術分野】
【0001】
本明細書は、マンコンベヤシステムに関する。
続きを表示(約 1,600 文字)
【背景技術】
【0002】
従来、例えば、マンコンベヤシステムは、複数のマンコンベヤと、監視装置と通信可能であり、互いに通信可能な複数の処理装置を備えている(例えば、特許文献1)。ところで、特許文献1におけるマンコンベヤシステムにおいては、複数の処理装置のうち、一つの処理装置の処理が停止した場合に、当該処理停止を示すデータを監視装置へ出力することができない。
【先行技術文献】
【特許文献】
【0003】
特開2014-205550号公報
【発明の概要】
【発明が解決しようとする課題】
【0004】
そこで、課題は、処理装置の処理が停止した場合に、当該処理停止を示すデータを監視装置へ出力することができるマンコンベヤシステムを提供することである。
【課題を解決するための手段】
【0005】
マンコンベヤシステムは、
少なくとも一つのマンコンベヤを備える、マンコンベヤシステムであって、
監視装置と通信可能である第1処理装置及び第2処理装置を備え、
前記第1処理装置は、前記第2処理装置へ第1処理データを出力し、前記第2処理装置は、前記第1処理データを取得し、
前記第2処理装置は、前記第1処理装置へ第2処理データを出力し、前記第1処理装置は、前記第2処理データを取得し、
前記第2処理装置は、前記第1処理装置から前記第1処理データを取得しない場合に、前記第1処理装置の処理が停止したことを示す第1処理停止データを、前記監視装置へ出力し、
前記第1処理装置は、前記第2処理装置から前記第2処理データを取得しない場合に、前記第2処理装置の処理が停止したことを示す第2処理停止データを、前記監視装置へ出力する。
【図面の簡単な説明】
【0006】
一実施形態に係るマンコンベヤシステムの概要図
同実施形態に係るマンコンベヤの概要図
同実施形態に係るマンコンベヤの制御ブロック図
他の実施形態に係るマンコンベヤシステムの概要図
【発明を実施するための形態】
【0007】
各図面において、構成要素の寸法は、例えば、理解を容易にするために、実際の寸法に対して拡大、縮小して示す場合があり、また、各図面の間での寸法比は、一致していない場合がある。なお、各図面において、例えば、理解を容易にするために、構成要素の一部を省略して示す場合がある。
【0008】
第1、第2等の序数を含む用語は、多様な構成要素を説明するために用いられるが、この用語は、一つの構成要素を他の構成要素から区別する目的でのみ用いられ、構成要素は、この用語によって特に限定されるものではない。なお、序数を含む構成要素の個数は、特に限定されず、例えば、一つでもよい場合がある。また、以下の明細書及び図面で用いられる序数は、特許請求の範囲に記載された序数と異なる場合がある。
【0009】
以下、マンコンベヤシステムにおける一実施形態について、図1~図3を参照しながら説明する。なお、以下の実施形態は、マンコンベヤシステムの構成等の理解を助けるために例示するものであり、マンコンベヤシステムの構成を限定するものではない。
【0010】
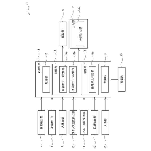
図1に示すように、マンコンベヤシステム20は、第1マンコンベヤ1a及び第2マンコンベヤ1bを備えている。第1マンコンベヤ1aは、監視装置X1と通信可能である第1処理装置2aを備えており、第2マンコンベヤ1bは、監視装置X1と通信可能である第2処理装置2bを備えている。なお、本明細書及び図面において、第1マンコンベヤ1a及び第2マンコンベヤ1bを区別しない場合は、単に、マンコンベヤ1とし、第1処理装置2a及び第2処理装置2bを区別しない場合は、単に、処理装置2とする。
(【0011】以降は省略されています)
この特許をJ-PlatPat(特許庁公式サイト)で参照する
関連特許
フジテック株式会社
エレベータ
17日前
フジテック株式会社
エレベータ
17日前
フジテック株式会社
エレベータ
7日前
フジテック株式会社
マンコンベヤ
7日前
フジテック株式会社
マンコンベヤ
11日前
フジテック株式会社
マンコンベヤ
7日前
フジテック株式会社
エレベータシステム
7日前
フジテック株式会社
行先階登録システム
4日前
フジテック株式会社
カスタマイズシステム
3日前
フジテック株式会社
マンコンベヤシステム
3日前
フジテック株式会社
情報処理システム、制御方法
7日前
フジテック株式会社
エレベータのかご及びエレベータ
11日前
フジテック株式会社
マンコンベヤ及びマンコンベヤの製造方法
11日前
フジテック株式会社
エレベータのかごドア開閉装置及びエレベータ
10日前
フジテック株式会社
ロボット管理装置、ロボット、及びプログラム
10日前
フジテック株式会社
ロボット管理装置、ロボット、及びプログラム
10日前
フジテック株式会社
ロボット管理装置、ロボット、及びプログラム
10日前
フジテック株式会社
マンコンベヤ手摺ベルト用回転体及びマンコンベヤ
17日前
フジテック株式会社
表示装置、表示制御方法、および、表示制御プログラム
3日前
フジテック株式会社
表示装置、表示制御方法、および、表示制御プログラム
3日前
フジテック株式会社
表示装置、表示制御方法、および、表示制御プログラム
3日前
フジテック株式会社
マンコンベヤ
7日前
フジテック株式会社
行先階登録システム
4日前
フジテック株式会社
マンコンベヤシステム
3日前
フジテック株式会社
エレベータ施工方法、表示装置、表示制御方法、および、表示制御プログラム
3日前
フジテック株式会社
エレベータ施工方法、表示装置、表示制御方法、および、表示制御プログラム
3日前
個人
自走手摺
2か月前
ユニパルス株式会社
吊具
4か月前
個人
海上コンテナ昇降装置
9か月前
ユニパルス株式会社
荷役装置
9か月前
ユニパルス株式会社
吊具装置
10か月前
水戸工業株式会社
吊り具
6か月前
株式会社いうら
車椅子用昇降機
2か月前
株式会社豊田自動織機
産業車両
25日前
株式会社豊田自動織機
荷役車両
9か月前
ユニパルス株式会社
リフト装置
4か月前
続きを見る
他の特許を見る