TOP
|
特許
|
意匠
|
商標
特許ウォッチ
Twitter
他の特許を見る
公開番号
2025139093
公報種別
公開特許公報(A)
公開日
2025-09-26
出願番号
2024037843
出願日
2024-03-12
発明の名称
三次元造形物の製造方法
出願人
セイコーエプソン株式会社
代理人
個人
,
個人
,
個人
主分類
B29C
64/386 20170101AFI20250918BHJP(プラスチックの加工;可塑状態の物質の加工一般)
要約
【課題】ユーザーにとって利用し易い三次元造形物の製造方法を提供する。
【解決手段】三次元造形物に広告を付ける否かを指定する広告有無情報を受け付ける工程と、前記広告有無情報として、前記三次元造形物に広告を付ける旨の情報を受け付けた場合に、広告が付いた前記三次元造形物である広告付き三次元造形物を造形するための造形データを生成する工程と、前記造形データに基づいて、造形材料を含む層を積層することで、前記広告付き三次元造形物を造形する工程と、を含む、三次元造形物の製造方法。
【選択図】図6
特許請求の範囲
【請求項1】
三次元造形物に広告を付ける否かを指定する広告有無情報を受け付ける工程と、
前記広告有無情報として、前記三次元造形物に広告を付ける旨の情報を受け付けた場合に、広告が付いた前記三次元造形物である広告付き三次元造形物を造形するための造形データを生成する工程と、
前記造形データに基づいて、造形材料を含む層を積層することで、前記広告付き三次元造形物を造形する工程と、
を含む、三次元造形物の製造方法。
続きを表示(約 1,000 文字)
【請求項2】
請求項1において、
前記三次元造形物のうちの広告を付けることを禁止する領域に関する広告禁止領域情報を受け付ける工程を含む、三次元造形物の製造方法。
【請求項3】
請求項1において、
前記広告付き三次元造形物を造形する工程では、
凹凸形状を形成すること、および、特性の異なる前記造形材料を複数用いること、のうちの少なくとも一方によって、広告を付ける、三次元造形物の製造方法。
【請求項4】
請求項1において、
受け付けた前記広告有無情報に基づいて、前記広告付き三次元造形物の造形コストを見積もる工程を含む、三次元造形物の製造方法。
【請求項5】
請求項4において、
前記三次元造形物において、第1領域、および前記第1領域よりも視認性の低い第2領域のうちのどちらに広告を付けるかを示す広告領域指定情報を受け付ける工程を含み、
前記造形コストを見積もる工程では、
前記広告領域指定情報として前記第2領域に広告を付ける旨の情報を受け付けた場合は、前記広告領域指定情報として前記第1領域に広告を付ける旨の情報を受け付けた場合よりも、前記造形コストを高く見積もる、三次元造形物の製造方法。
【請求項6】
請求項5において、
前記第2領域は、前記三次元造形物の底面、角、湾曲部、および前記第1領域よりも面積が小さい領域の少なくとも1つである、三次元造形物の製造方法。
【請求項7】
請求項1において、
前記広告付き三次元造形物の広告は、デバイスで読み込むことにより前記デバイス内で閲覧可能であり、
前記広告付き三次元造形物の広告が前記デバイスで読み込まれた場合に、ポイントおよびクーポンのうちの少なくとも一方を発行する工程を含む、三次元造形物の製造方法。
【請求項8】
請求項1において、
前記三次元造形物の造形を依頼するユーザーに関するユーザー情報、および前記三次元造形物の種類に関する造形物種類情報のうちの少なくとも一方を受け付ける工程と、
前記ユーザー情報および前記造形物種類情報のうちの少なくとも一方に基づいて、前記三次元造形物に付ける広告を選択する工程と、
を含む、三次元造形物の製造方法。
発明の詳細な説明
【技術分野】
【0001】
本発明は、三次元造形物の製造方法に関する。
続きを表示(約 1,600 文字)
【背景技術】
【0002】
可塑化された材料をステージに向けて吐出し、硬化させることによって三次元造形物を造形する三次元造形物の製造方法が知られている。このような三次元造形物の製造方法では、造形データに基づいて、三次元造形装置を制御することにより三次元造形物を造形する。
【0003】
例えば特許文献1には、広告付き加工データを希望するか否かの情報と共に原データを外部装置より受け付けるステップと、前記情報が広告付きの加工データを希望する情報である場合に原データを基に広告データを付加した加工データを生成するステップと、を有する加工データの提供方法が記載されている。
【先行技術文献】
【特許文献】
【0004】
特開2002-279295号公報
【発明の概要】
【発明が解決しようとする課題】
【0005】
特許文献1では、加工データについて記載されているが、三次元造形装置によって造形された実際の三次元造形物については、言及されていない。三次元造形装置を購入できない顧客向けに、代理で三次元造形装置によって三次元造形物を造形する代行サービスが知られているが、このような代行サービスは高価であり、容易に代行サービスを利用することは難しい。
【課題を解決するための手段】
【0006】
本発明に係る三次元造形物の製造方法の一態様は、
三次元造形物に広告を付ける否かを指定する広告有無情報を受け付ける工程と、
前記広告有無情報として、前記三次元造形物に広告を付ける旨の情報を受け付けた場合に、広告が付いた前記三次元造形物である広告付き三次元造形物を造形するための造形データを生成する工程と、
前記造形データに基づいて、造形材料を含む層を積層することで、前記広告付き三次元造形物を造形する工程と、
を含む。
【図面の簡単な説明】
【0007】
本実施形態に係る電子商取引システムの構成例を示す図。
本実施形態に係る電子商取引システムにおける情報やデータの流れの一例を示す図。
三次元造形物を模式的に示す斜視図。
本実施形態に係る三次元造形システムの処理装置の処理を説明するためのフローチャート。
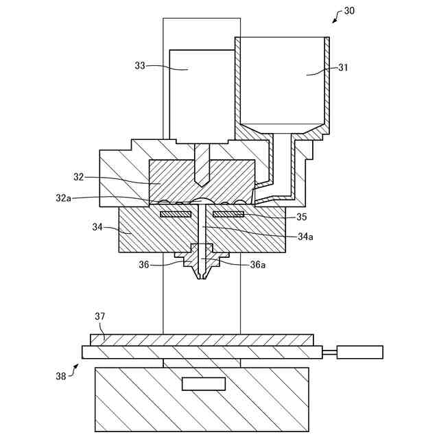
本実施形態に係る三次元造形システムの三次元造形装置を模式的に示す断面図。
本実施形態に係る三次元造形物の製造方法を説明するためのフローチャート。
【発明を実施するための形態】
【0008】
以下、本発明の好適な実施形態について、図面を用いて詳細に説明する。なお、以下に説明する実施形態は、特許請求の範囲に記載された本発明の内容を不当に限定するものではない。また、以下で説明される構成の全てが本発明の必須構成要件であるとは限らない。
【0009】
1. 三次元造形システム
1.1. 構成
まず、本実施形態に係る三次元造形システムを含む電子商取引システムについて、図面を参照しながら説明する。図1は、本実施形態に係る電子商取引システム100の構成例を示す図である。図2は、本実施形態に係る電子商取引システム100における情報やデータの流れの一例を示す図である。
【0010】
電子商取引システム100は、図1および図2に示すように、例えば、処理装置10、データ記憶装置20、および三次元造形装置30を含む三次元造形システム102と、第1入力装置40と、第2入力装置50と、通信ネットワーク60と、を含む。三次元造形システム102は、三次元造形物の造形を依頼するユーザーからの情報に基づいて、三次元造形物を造形するシステムである。
(【0011】以降は省略されています)
この特許をJ-PlatPat(特許庁公式サイト)で参照する
関連特許
個人
気泡緩衝材減容装置
11日前
東レ株式会社
吹出しノズル
10か月前
豊田鉄工株式会社
金型
2か月前
シーメット株式会社
光造形装置
9か月前
CKD株式会社
型用台車
9か月前
個人
射出ミキシングノズル
12か月前
東レ株式会社
フィルムの製造方法
3か月前
東レ株式会社
フィルムの製造方法
6か月前
東レ株式会社
フィルムの製造方法
2か月前
グンゼ株式会社
ピン
9か月前
株式会社日本製鋼所
押出機
12か月前
個人
樹脂可塑化方法及び装置
8か月前
日機装株式会社
加圧システム
5か月前
株式会社FTS
ロッド
8か月前
東レ株式会社
フィルムの製造方法。
2か月前
株式会社カワタ
計量混合装置
4か月前
東レ株式会社
樹脂フィルムの製造方法
4か月前
トヨタ自動車株式会社
射出装置
7か月前
NOK株式会社
樹脂ゴム複合体
1か月前
株式会社漆原
シートの成形方法
4か月前
株式会社FTS
成形装置
9か月前
株式会社シロハチ
真空チャンバ
11か月前
株式会社不二越
射出成形機
6か月前
株式会社不二越
射出成形機
6か月前
株式会社コスメック
射出成形装置
4か月前
株式会社不二越
射出成形機
6か月前
株式会社FTS
セパレータ
8か月前
東レ株式会社
炭素繊維シートの製造方法
5か月前
株式会社不二越
射出成形機
1か月前
株式会社不二越
射出成形機
4か月前
株式会社神戸製鋼所
混練機
7か月前
株式会社リコー
画像形成システム
10か月前
三和合板株式会社
化粧板の製造装置
1か月前
株式会社ニフコ
樹脂製品の製造方法
11か月前
コイト電工株式会社
フレーム成形品
26日前
東レ株式会社
繊維強化プラスチック構造体
1か月前
続きを見る
他の特許を見る