TOP
|
特許
|
意匠
|
商標
特許ウォッチ
Twitter
他の特許を見る
10個以上の画像は省略されています。
公開番号
2025149620
公報種別
公開特許公報(A)
公開日
2025-10-08
出願番号
2024050371
出願日
2024-03-26
発明の名称
臨床試験計画装置および臨床試験計画方法
出願人
株式会社日立製作所
代理人
青稜弁理士法人
主分類
G06Q
10/0637 20230101AFI20251001BHJP(計算;計数)
要約
【課題】
本発明の課題は、競合他社の薬剤の開発状況を考慮した効率の良い臨床試験が実現可能な手法を提供するにある。
【解決手段】
本発明の好ましい一側面は、臨床試験計画装置であって、臨床試験計画部を備え、該臨床試験計画部は、臨床試験を計画する第1の薬剤と患者適応が対応する第2の薬剤に関する臨床試験の状況を示す競合薬デザインに基づいて前記第2の薬剤の開発進行度を算出する開発進行度計算部を備え、該開発進行度に基づいて、前記第1の薬剤の臨床試験の期間と前記第1の薬剤の期待売上を最適化した臨床試験計画を生成することを特徴とする、臨床試験計画装置である。
【選択図】 図2
特許請求の範囲
【請求項1】
臨床試験計画装置であって、臨床試験計画部を備え、
該臨床試験計画部は、
臨床試験を計画する第1の薬剤と患者適応が対応する第2の薬剤に関する臨床試験の状況を示す競合薬デザインに基づいて前記第2の薬剤の開発進行度を算出する開発進行度計算部を備え、
該開発進行度に基づいて、前記第1の薬剤の臨床試験の期間と前記第1の薬剤の期待売上を最適化した臨床試験計画を生成することを特徴とする、
臨床試験計画装置。
続きを表示(約 1,100 文字)
【請求項2】
前記臨床試験計画は、前記第1の薬剤に関する複数の試験デザインの組み合わせである、
請求項1に記載の臨床試験計画装置。
【請求項3】
前記試験デザインは、前記患者適応とサンプル数と目標奏効率を定義する、
請求項2に記載の臨床試験計画装置。
【請求項4】
該臨床試験計画部は、
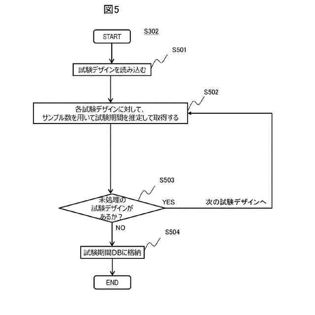
前記試験デザイン毎に、前記サンプル数に基づいて前記第1の薬剤の臨床試験の期間を推定し、試験期間データベースに格納する試験期間計算部を備える、
請求項3に記載の臨床試験計画装置。
【請求項5】
該臨床試験計画部は、
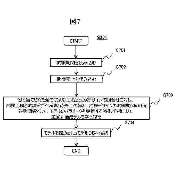
前記試験デザイン毎に、前記第1の薬剤の市場規模と前記目標奏効率と前記開発進行度に基づいて、前記第1の薬剤の期待売上を推定し、期待売上データベースに格納する期待売上計算部を備える、
請求項3に記載の臨床試験計画装置。
【請求項6】
前記期待売上計算部は、
前記第1の薬剤の市場規模と前記目標奏効率を前記第1の薬剤の期待売上を増やす方向に作用させ、前記開発進行度を前記第1の薬剤の期待売上を減らす方向に作用させる、
請求項5に記載の臨床試験計画装置。
【請求項7】
前記期待売上計算部は、
臨床試験で想定される前記第1の薬剤の奏効率と頻度の関係を表す正規分布より、前記サンプル数だけ正規乱数を取得し、全正規乱数中で前記目標奏効率を越えた確率を検出力とし、該検出力に基づいて、前記第1の薬剤の期待売上を推定する、
請求項5に記載の臨床試験計画装置。
【請求項8】
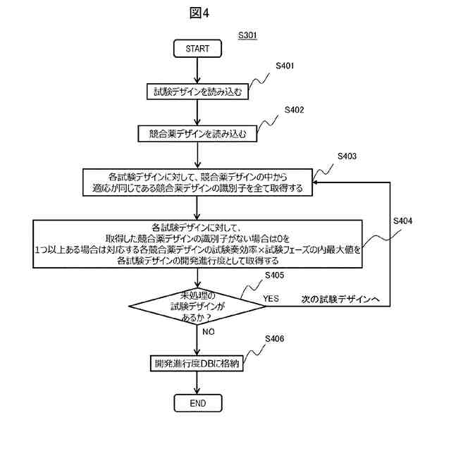
前記競合薬デザインは、前記患者適応と試験奏効率と試験フェーズを定義する、競合薬デザインデータベースに格納される、
請求項3に記載の臨床試験計画装置。
【請求項9】
開発進行度計算部は、前記競合薬デザインデータベースから前記第1の薬剤と患者適応が対応する第2の薬剤をすべて抽出し、抽出された前記第2の薬剤の前記試験奏効率と試験フェーズに基づいて前記開発進行度を算出して、開発進行度データベースに格納する、
請求項8に記載の臨床試験計画装置。
【請求項10】
該臨床試験計画部は、
前記最適化を、前記第1の薬剤の臨床試験の期間と前記第1の薬剤の期待売上の両方を用いた数式に基づき評価する最適計画推定部を備える、
請求項2に記載の臨床試験計画装置。
(【請求項11】以降は省略されています)
発明の詳細な説明
【技術分野】
【0001】
本発明は、臨床試験の計画を最適化する技術に関する。
続きを表示(約 1,700 文字)
【背景技術】
【0002】
高齢化によるがん患者急増に伴い、がんの薬剤の開発競争が激化している。がんの薬剤は分子診断技術の進化で適応の細分化が進み、臨床試験の数も増大していることから、他社との開発競争の中で収益性の高い薬剤の適応を選択することが難しくなっている。
【0003】
製薬会社は、競合他社の臨床試験の経過を見ながら、他社と比べて適応や効果で差別化できる薬剤を他社より先発で上市するように試験デザインや適応を決め、臨床試験を計画する。
【0004】
この計画は四半期ごとの学会の情報を基に見直されるが、情報過多と人員不足により短期間で高い薬価を上げる計画を立てることは困難であり、開発遅延や費用の増大を招いている。
【0005】
この問題に対し、定量的な臨床試験の計画手法が開発され(例えば、特許文献1、特許文献2)、典型的な手法では収益を最大化するような各試験工程の試験デザインを算出する臨床試験の計画手法が検討されている(例えば、非特許文献1、非特許文献2)。
【先行技術文献】
【特許文献】
【0006】
特表2021-533453号公報
特表2005-527921号公報
【非特許文献】
【0007】
Wiklund S. J. (2019). A modelling framework for improved design and decision-making in drug development. PloS one, 14(8), e0220812. https://doi.org/10.1371/journal.pone.0220812
Parke, T., Marchenko, O., Anisimov, V., Ivanova, A., Jennison, C., Perevozskaya, I., & Song, G. (2017). Comparing oncology clinical programs by use of innovative designs and expected net present value optimization: Which adaptive approach leads to the best result?. Journal of biopharmaceutical statistics, 27(3), 457-476. https://doi.org/10.1080/10543406.2017.1289949
【発明の概要】
【発明が解決しようとする課題】
【0008】
特許文献1では、臨床試験の実施計画を策定するための、具体的には、標的とする患者集団の決定に使用される、組み入れ/除外基準を策定するための方法、およびシステムを開示する。特許文献2では、臨床試験における物質を予測し、かつ追跡するためのシステムが開示される。
【0009】
非特許文献1や非特許文献2では、試験デザインの候補より推計される開発薬剤の臨床試験の費用や見込売上から収益(正味現在価値)を計算し、収益を最大化するような試験デザインを求める。
【0010】
しかし、これらの手法は、開発する薬剤のみの情報を用いた計画手法で競合他社の開発状況は考慮されていない。その結果、競合他社に同じ適応の薬剤を先に上市されることで、その薬剤と差別化ができず、収益が得られなくなるリスクがある。特に、臨床試験数の多いがんでは、短期間で多くの製薬会社が薬剤を開発しているため、このようなリスクが高い。がんの薬剤開発で収益を上げるためには、競合他社の薬剤の開発状況を考慮した手法が求められる。
(【0011】以降は省略されています)
この特許をJ-PlatPat(特許庁公式サイト)で参照する
関連特許
株式会社日立製作所
鉄道車両
7日前
株式会社日立製作所
鉄道車両
29日前
株式会社日立製作所
放射線モニタ
今日
株式会社日立製作所
ガス分離システム
7日前
株式会社日立製作所
形状制御システム
23日前
株式会社日立製作所
ガス濃度測定装置
29日前
株式会社日立製作所
調停案提示システム
8日前
株式会社日立製作所
部品管理装置及び方法
14日前
株式会社日立製作所
計画装置および計画方法
1か月前
株式会社日立製作所
ソフトウェア生成システム
17日前
株式会社日立製作所
データ変換装置および方法
1日前
株式会社日立製作所
訓練システムおよび訓練方法
25日前
株式会社日立製作所
情報処理装置、情報処理方法
16日前
株式会社日立製作所
管理システムおよび管理方法
25日前
株式会社日立製作所
情報処理装置及び情報処理方法
21日前
株式会社日立製作所
費用対効果算出方法および装置
23日前
株式会社日立製作所
回転電機および電動機システム
21日前
株式会社日立製作所
情報処理装置及び情報処理方法
25日前
株式会社日立製作所
情報処理システム、及び予測方法
22日前
株式会社日立製作所
蒸発乾固装置および蒸発乾固方法
15日前
株式会社日立製作所
治療効果予測システムおよび方法
8日前
株式会社日立製作所
電力変換器およびインバータ装置
25日前
株式会社日立製作所
Webページ更新管理装置及び方法
29日前
株式会社日立製作所
計算機システム及びデータ検索方法
25日前
株式会社日立製作所
物流計画システム及び物流計画方法
23日前
株式会社日立製作所
異常検知システム及び異常検知方法
1か月前
株式会社日立製作所
昇降機システム及び昇降機制御方法
25日前
株式会社日立製作所
音声分析システム及び音声分析方法
29日前
株式会社日立製作所
建物管理システム及び建物管理方法
1か月前
株式会社日立製作所
通貨管理システム、及び通貨管理方法
29日前
株式会社日立製作所
情報処理システム、及び情報処理方法
14日前
株式会社日立製作所
データ出力装置およびデータ出力方法
25日前
株式会社日立製作所
情報処理システム、及び情報処理方法
16日前
株式会社日立製作所
電力監視システムおよび電力監視方法
1か月前
株式会社日立製作所
計算機システム及び障害対処支援方法
8日前
株式会社日立製作所
設計図書のチェックシステムおよび方法
21日前
続きを見る
他の特許を見る