TOP
|
特許
|
意匠
|
商標
特許ウォッチ
Twitter
他の特許を見る
10個以上の画像は省略されています。
公開番号
2025139704
公報種別
公開特許公報(A)
公開日
2025-09-29
出願番号
2024038679
出願日
2024-03-13
発明の名称
ロータリバルブ
出願人
株式会社アイシン
代理人
個人
,
個人
主分類
F16K
1/24 20060101AFI20250919BHJP(機械要素または単位;機械または装置の効果的機能を生じ維持するための一般的手段)
要約
【課題】上下方向の大型化を抑制できるロータリバルブを提供する。
【解決手段】ロータリバルブ30において、ロアピストン110は、第1空気室の圧力の増大に伴って上昇する一方で第1空気室RM1の圧力の減少に伴って下降し、上昇に伴ってセンターピストン120に接する場合に第2空気室RM2を外気から遮断し、下降に伴ってセンターピストン120から離れる場合に第2空気室RM2を外気に接続する。センターピストン120は、ロアピストン110に接する状況下において、第1空気室RM1の圧力の増大に伴ってロアピストン110とともに上昇し、第1空気室RM1の圧力の減少に伴ってロアピストン110とともに下降する。
【選択図】図20
特許請求の範囲
【請求項1】
複数の空気袋に対する空気の供給態様を切り換えることにより、前記複数の空気袋を順番に膨張及び収縮させるロータリバルブであって、
下流端が前記複数の空気袋にそれぞれ接続される複数の接続流路を有し、ポンプに接続されるケースと、
連通流路を有し、前記ポンプから空気が供給される第1空気室を前記ケースとともに区画し、前記第1空気室の圧力の増大及び減少に伴って上下動するロアピストンと、
前記ロアピストンよりも上方に位置し、前記連通流路を介して前記第1空気室に接続する第2空気室を前記ロアピストンとともに区画し、前記第1空気室及び前記第2空気室の圧力の増大及び減少に伴って上下動するセンターピストンと、
前記センターピストンよりも上方に位置し、前記第2空気室に接続される給気流路を有し、前記センターピストンの上下動に応じて、上下方向に延びる軸線回りに回転するロータリと、
前記第1空気室の容積を小さくする方向であって前記ロアピストンを下降させる方向に前記ロアピストンを付勢するロアスプリングと、
前記第2空気室の容積を小さくする方向であって前記センターピストンを下降させる方向に前記センターピストンを付勢するセンタースプリングと、を備え、
前記ロータリは、上下方向に延びる軸線回りの回転に伴い、前記給気流路に接続する前記接続流路を順番に切り換えるとともに、前記給気流路が1つの前記接続流路に接続している間に前記給気流路を外気に接続しない給気状態及び前記給気流路を外気に接続する排気状態に切り換え、
前記ロアピストンの前記連通流路は、前記第1空気室から前記第2空気室に対する空気の流量を制限し、
前記ロアピストンは、前記第1空気室の圧力の増大に伴って上昇する一方で前記第1空気室の圧力の減少に伴って下降し、上昇に伴って前記センターピストンに接する場合に前記第2空気室を外気から遮断し、下降に伴って前記センターピストンから離れる場合に前記第2空気室を外気に接続し、
前記センターピストンは、前記ロアピストンに接する状況下において、前記第1空気室の圧力の増大に伴って前記ロアピストンとともに上昇し、前記第1空気室の圧力の減少に伴って前記ロアピストンとともに下降する
ロータリバルブ。
続きを表示(約 230 文字)
【請求項2】
前記ロアピストンが最も下降するとともに、前記センターピストンが最も下降する状況下において、前記ロアピストンに対する前記ロアスプリングの付勢力は、前記センターピストンに対する前記センタースプリングの付勢力よりも小さい
請求項1に記載のロータリバルブ。
【請求項3】
前記ロアスプリングは、前記第2空気室の内部であって、前記ロアピストンと前記センターピストンとの間に配置される
請求項1に記載のロータリバルブ。
発明の詳細な説明
【技術分野】
【0001】
本発明は、ロータリバルブに関する。
続きを表示(約 3,600 文字)
【背景技術】
【0002】
特許文献1には、着座するユーザの身体をマッサージするマッサージシートが記載されている。マッサージシートは、シートクッション及びシートバックに内蔵される複数の空気袋と、複数の空気袋に向けて空気を供給するポンプと、複数の空気袋に対する空気の供給態様を切り換えるロータリバルブと、を備える。ロータリバルブは、ケースと、ロアピストンと、センターピストンと、ロータリと、を備える。
【0003】
ケースは、ロータリバルブの構成部品を収容している。ケースは、ポンプに接続される供給継手と、複数の空気袋にそれぞれ接続される複数の接続継手と、を有する。供給継手は、ケースの下端に位置し、複数の接続継手は、ケースの上端に位置している。ロアピストンは、ケースとともに第1空気室を区画している。第1空気室は、供給継手を介してポンプに接続している。ロアピストンは、第1空気室の圧力の増大及び減少に応じて、ケース内を上下動する。センターピストンは、ロアピストンよりも上方に位置している。センターピストンは、ケースとロアピストンとともに第2空気室を区画している。第2空気室は、ロアピストンに設けられる連通路を介して、第1空気室に接続している。センターピストンは、第2空気室の圧力の増大及び減少に伴い、ケース内を上下動する。ロータリは、第2空気室と何れかの接続継手を接続する給気流路と、給気流路と外気とを接続する排気流路と、を有する。ロータリは、センターピストンの上下動に伴い回転することにより、給気流路と接続する接続継手を順番に切り換える。
【0004】
第2空気室の圧力の減少に伴うロータリの回転により、ある接続継手に給気流路が接続した場合には、排気流路の開口が閉じられる。この場合、ある接続継手に対応する空気袋に空気が供給されるとともに、第2空気室の圧力が増大する。続いて、第2空気室の圧力の増大に伴いロータリが回転すると、排気流路の開口が開かれる。すると、ある接続継手に対応する第2空気袋から空気が排出されるとともに、第2空気室の圧力が減少する。続いて、第2空気室の圧力の減少に伴いロータリが回転すると、次の接続継手に供給流路が接続するとともに排気流路の開口が閉じられる。こうして、ロータリバルブは、複数の空気袋を順番に膨張及び収縮させる。
【先行技術文献】
【特許文献】
【0005】
特開2021-80929号公報
【発明の概要】
【発明が解決しようとする課題】
【0006】
上記のようなロータリバルブは、複数の構成部品が上下方向に積層されている点で、上下方向に大型化しやすい。このため、ロータリバルブは、上下方向に対する小型化が望まれている。
【課題を解決するための手段】
【0007】
上記課題を解決するロータリバルブは、複数の空気袋に対する空気の供給態様を切り換えることにより、前記複数の空気袋を順番に膨張及び収縮させるロータリバルブであって、下流端が前記複数の空気袋にそれぞれ接続される複数の接続流路を有し、ポンプに接続されるケースと、連通流路を有し、前記ポンプから空気が供給される第1空気室を前記ケースとともに区画し、前記第1空気室の圧力の増大及び減少に伴って上下動するロアピストンと、前記ロアピストンよりも上方に位置し、前記連通流路を介して前記第1空気室に接続する第2空気室を前記ロアピストンとともに区画し、前記第1空気室及び前記第2空気室の圧力の増大及び減少に伴って上下動するセンターピストンと、前記センターピストンよりも上方に位置し、前記第2空気室に接続される給気流路を有し、前記センターピストンの上下動に応じて、上下方向に延びる軸線回りに回転するロータリと、前記第1空気室の容積を小さくする方向であって前記ロアピストンを下降させる方向に前記ロアピストンを付勢するロアスプリングと、前記第2空気室の容積を小さくする方向であって前記センターピストンを下降させる方向に前記センターピストンを付勢するセンタースプリングと、を備え、前記ロータリは、上下方向に延びる軸線回りの回転に伴い、前記給気流路に接続する前記接続流路を順番に切り換えるとともに、前記給気流路が1つの前記接続流路に接続している間に前記給気流路を外気に接続しない給気状態及び前記給気流路を外気に接続する排気状態に切り換え、前記ロアピストンの前記連通流路は、前記第1空気室から前記第2空気室に対する空気の流量を制限し、前記ロアピストンは、前記第1空気室の圧力の増大に伴って上昇する一方で前記第1空気室の圧力の減少に伴って下降し、上昇に伴って前記センターピストンに接する場合に前記第2空気室を外気から遮断し、下降に伴って前記センターピストンから離れる場合に前記第2空気室を外気に接続し、前記センターピストンは、前記ロアピストンに接する状況下において、前記第1空気室の圧力の増大に伴って前記ロアピストンとともに上昇し、前記第1空気室の圧力の減少に伴って前記ロアピストンとともに下降する。
【発明の効果】
【0008】
ロータリバルブは、上下方向の大型化を抑制できる。
【図面の簡単な説明】
【0009】
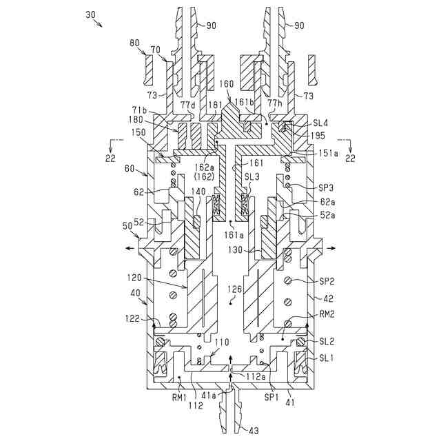
図1は、ロータリバルブを備えるシートの模式図である。
図2は、図1のロータリバルブの斜視図である。
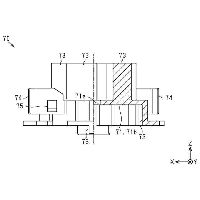
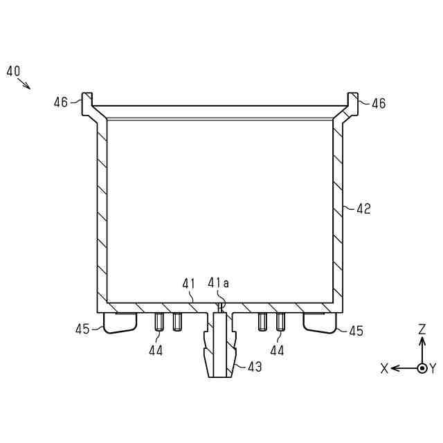
図3は、図1のロータリバルブの分解斜視図である。
図4は、図1のロータリバルブの分解斜視図である。
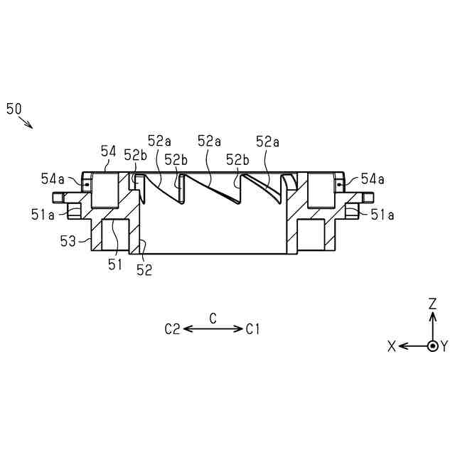
図5は、図1のロータリバルブのシリンダの断面図である。
図6は、図1のロータリバルブのロアガイドの断面図である。
図7は、図1のロータリバルブのアッパガイドの断面図である。
図8は、図1のロータリバルブのバルブケースの半断面図である。
図9は、図1のロータリバルブのバルブケースの底面図である。
図10は、図1のロータリバルブのノズルホルダ及びアッパノズルの上面図である。
図11は、図1のロータリバルブのロアピストンの断面図である。
図12は、図1のロータリバルブのセンターピストンの断面図である。
図13は、図1のロータリバルブの押圧部の断面図である。
図14は、図1のロータリバルブのロータリの分解斜視図である。
図15は、図14のロータリの分解斜視図である。
図16は、図14のロータリの上面図である。
図17は、図16のロータリの17-17線矢視断面図である。
図18は、図1のロータリバルブの上面図である。
図19は、図18のロータリバルブのA-A線矢視断面図である。
図20は、図18のロータリバルブのB-B線矢視断面図である。
図21は、図20のロータリバルブのボスベースの位置を示す模式図である。
図22は、図20のロータリバルブの22-22線矢視断面図である。
図23は、図18のロータリバルブにおいて、ロアピストンが上昇したときのB-B線矢視断面図である。
図24は、図18のロータリバルブにおいて、ロアピストン及びセンターピストンが上昇したときのB-B線矢視断面図である。
図25は、図24のロータリバルブのボスベースの動きを示す模式図である。
図26は、図24のロータリバルブの26-26線矢視断面図である。
図27は、図18のロータリバルブにおいて、ロアピストン及びセンターピストンが下降したときのB-B線矢視断面図である。
図28は、図27のロータリバルブのボスベースの動きを示す模式図である。
図29は、図27のロータリバルブの29-29線矢視断面図である。
図30は、図18のロータリバルブにおいて、ロアピストン及びセンターピストンが下降したときのC-C線断面図である。
図31は、図18のロータリバルブにおいて、ポンプの駆動が停止されたときのA-A線断面図である。
図32は、図18のロータリバルブにおいて、ポンプの駆動が停止されたときのA-A線断面図である。
【発明を実施するための形態】
【0010】
以下、ロータリバルブを備えるシートについて図面を参照しつつ説明する。断面図示を明確にするために、断面図に用いるハッチングの線種は、部材の材質によらず金属用の線種を使用している。
(【0011】以降は省略されています)
この特許をJ-PlatPat(特許庁公式サイト)で参照する
関連特許
株式会社アイシン
空気袋
3日前
株式会社アイシン
駆動装置
1日前
株式会社アイシン
電動ポンプ
1か月前
株式会社アイシン
鋳ぐるみ品
3日前
株式会社アイシン
温度調節器
3日前
株式会社アイシン
温度調節器
13日前
株式会社アイシン
コンデンサ
27日前
株式会社アイシン
温度調節器
13日前
株式会社アイシン
自律移動体
1か月前
株式会社アイシン
振動発生装置
1日前
株式会社アイシン
マニホールド
1日前
株式会社アイシン
物体検出装置
13日前
株式会社アイシン
ポンプケース
6日前
株式会社アイシン
駐車支援装置
6日前
株式会社アイシン
心拍検出装置
6日前
株式会社アイシン
乗員検知装置
14日前
株式会社アイシン
車両下部構造
22日前
株式会社アイシン
運転支援装置
23日前
株式会社アイシン
車両駆動装置
23日前
株式会社アイシン
電力変換装置
29日前
株式会社アイシン
立体構造基板
3日前
株式会社アイシン
電力変換装置
29日前
株式会社アイシン
温度調節装置
27日前
株式会社アイシン
冷却プレート
27日前
株式会社アイシン
直流回転電機
27日前
株式会社アイシン
開閉システム
今日
株式会社アイシン
排熱回収装置
23日前
株式会社アイシン
車両用駆動装置
1か月前
株式会社アイシン
車両用ドア装置
今日
株式会社アイシン
車両用駆動装置
27日前
株式会社アイシン
ドアロック装置
13日前
株式会社アイシン
車両用ドア装置
今日
株式会社アイシン
核磁気共鳴装置
7日前
株式会社アイシン
回転角検出装置
今日
株式会社アイシン
ロータリバルブ
3日前
株式会社アイシン
バッテリ温調器
3日前
続きを見る
他の特許を見る