TOP
|
特許
|
意匠
|
商標
特許ウォッチ
Twitter
他の特許を見る
公開番号
2025140315
公報種別
公開特許公報(A)
公開日
2025-09-29
出願番号
2024039643
出願日
2024-03-14
発明の名称
バッテリ温調器
出願人
株式会社アイシン
代理人
弁理士法人アイテック国際特許事務所
主分類
H01M
10/643 20140101AFI20250919BHJP(基本的電気素子)
要約
【課題】複数の円筒型バッテリセルとの熱交換効率をより向上させることができるバッテリ温調器の提供。
【解決手段】本開示のバッテリ温調器は、軸心が互いに平行に延在するように少なくとも一方向に沿って配列された複数の円筒型バッテリセルの温度を調整するためのものであり、波状の断面形状を有し、複数の円筒型バッテリセルの外周面に当接するように配置される温調器本体と、温調器本体の波状に形成された一対の端面の一方から他方に向けて互いに平行に延在する複数の熱媒体通路とを含む。
【選択図】図2
特許請求の範囲
【請求項1】
軸心が互いに平行に延在するように少なくとも一方向に沿って配列された複数の円筒型バッテリセルの温度を調整するためのバッテリ温調器であって、
波状の断面形状を有し、前記複数の円筒型バッテリセルの外周面に当接するように配置される温調器本体と、
前記温調器本体の波状に形成された一対の端面の一方から他方に向けて互いに平行に延在する複数の熱媒体通路と、
を備えるバッテリ温調器。
続きを表示(約 420 文字)
【請求項2】
請求項1に記載のバッテリ温調器において、
前記複数の熱媒体通路は、前記温調器本体の断面形状を規定する波形の波頂、波底および前記波頂と前記波底との間の部分を通るように前記温調器本体に形成されるバッテリ温調器。
【請求項3】
請求項1または2に記載のバッテリ温調器において、金属製の押出成形品であるバッテリ温調器。
【請求項4】
請求項1または2に記載のバッテリ温調器において、
前記複数の円筒型バッテリセルは、前記軸心が互いに平行に延在するように、水平に延在する前記一方向および上下方向に沿って配列されると共に、水平に延在すると共に前記一方向に直交する方向に沿って配列され、
下側で前記一方向に配列された前記複数の円筒型バッテリセルの外周面に当接すると共に、上側で前記一方向に配列された前記複数の円筒型バッテリセルの外周面に当接するように形成されているバッテリ温調器。
発明の詳細な説明
【技術分野】
【0001】
本開示は、円筒型バッテリセルの温度を調整するためのバッテリ温調器に関する。
続きを表示(約 1,500 文字)
【背景技術】
【0002】
従来、波状の断面形状を有する冷却マニホールド組立体が知られている(例えば、特許文献1参照)。この冷却マニホールド組立体は、一対の二重層熱インターフェース部材の間に介設された中央部分と、当該中央部分に形成された複数の冷却剤流路とを含み、複数の円筒型バッテリセルの間に挿入される。更に、各冷却剤流路には、例えば隣り合う冷却剤流路における流れの方向が逆向きになるように冷却液が供給される。また、冷却マニホールド組立体の高さは、円筒型バッテリセルの全高の少なくとも20-75%とされる。
【先行技術文献】
【特許文献】
【0003】
米国特許出願公開第2010/104938号明細書
【発明の概要】
【発明が解決しようとする課題】
【0004】
しかしながら、上記従来の冷却マニホールド組立体において、各冷却剤流路は、中央部分の略長方形状の細長い断面を有する一対の側面の一方から他方に向けて延在する。このため、冷却マニホールド組立体の高さを円筒型バッテリセルの高さに近づけたとしても、各円筒型バッテリセルとの伝熱面積を充分に確保し得なくなり、冷却剤と複数の円筒型バッテリセルとの熱交換効率を高めることが困難になる。
【0005】
そこで、本開示は、複数の円筒型バッテリセルとの熱交換効率をより向上させることができるバッテリ温調器の提供を主目的とする。
【課題を解決するための手段】
【0006】
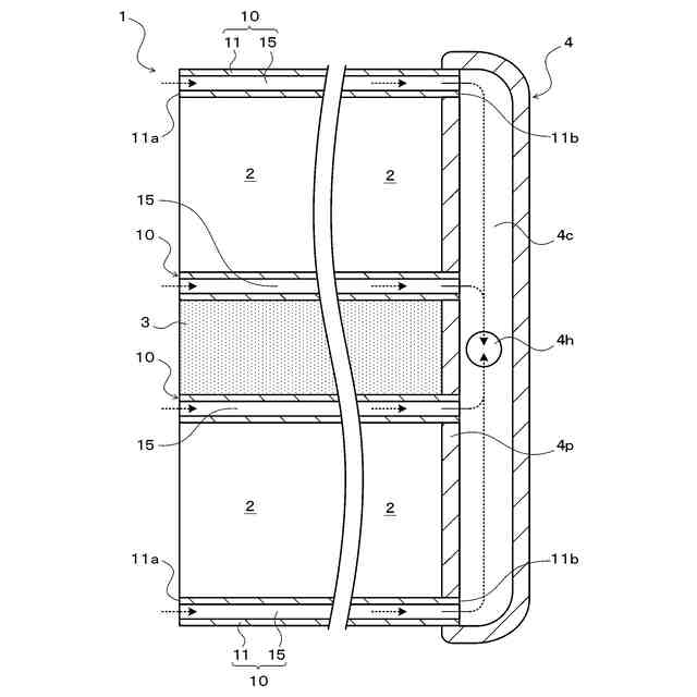
本開示のバッテリ温調器は、軸心が互いに平行に延在するように少なくとも一方向に沿って配列された複数の円筒型バッテリセルの温度を調整するためのバッテリ温調器であって、波状の断面形状を有し、前記複数の円筒型バッテリセルの外周面に当接するように配置される温調器本体と、前記温調器本体の波状に形成された一対の端面の一方から他方に向けて互いに平行に延在する複数の熱媒体通路とを含むものである。
【0007】
本開示のバッテリ温調器において、複数の熱媒体通路は、温調器本体の波状に形成された一対の端面の一方から他方に向けて互いに平行に延在するように当該温調器本体に形成される。これにより、各熱媒体通路を各円筒型バッテリセルの軸心(長手方向)に沿って延在させることが可能になるので、バッテリ温調器と各円筒型バッテリセルとの伝熱面積を充分に確保することができる。この結果、本開示のバッテリ温調器では、複数の円筒型バッテリセルとの熱交換効率をより向上させることが可能になる。
【図面の簡単な説明】
【0008】
本開示のバッテリ温調器を含むバッテリの一例を示す斜視図である。
本開示のバッテリ温調器を示す断面図である。
本実施形態のバッテリ温調器を含むバッテリを示す断面図である。
【発明を実施するための形態】
【0009】
次に、図面を参照しながら、本開示の発明を実施するための形態について説明する。
【0010】
図1は、本開示のバッテリ温調器10を含むバッテリ1を示す斜視図である。バッテリ1は、例えば電気自動車やハイブリッド車両といった電動車両に搭載されるものであり、バッテリ温調器10に加えて、例えばリチウムイオン二次電池およびニッケル水素二次電池である多数の円筒型バッテリセル2や、図示しないバッテリケース等を含む。本実施形態において、各円筒型バッテリセル2は、外径よりも長い軸長を有するものである。
(【0011】以降は省略されています)
この特許をJ-PlatPat(特許庁公式サイト)で参照する
関連特許
株式会社アイシン
安全弁
1か月前
株式会社アイシン
ロータ
1日前
株式会社アイシン
空気袋
10日前
株式会社アイシン
検知装置
今日
株式会社アイシン
回転電機
2日前
株式会社アイシン
回転電機
2日前
株式会社アイシン
制御装置
1か月前
株式会社アイシン
電子機器
今日
株式会社アイシン
車体構造
6日前
株式会社アイシン
回転電機
6日前
株式会社アイシン
保護装置
今日
株式会社アイシン
発電装置
1か月前
株式会社アイシン
駆動装置
今日
株式会社アイシン
駆動装置
8日前
株式会社アイシン
発電装置
1か月前
株式会社アイシン
制御装置
今日
株式会社アイシン
制御装置
今日
株式会社アイシン
制御装置
今日
株式会社アイシン
制御装置
6日前
株式会社アイシン
コンデンサ
1か月前
株式会社アイシン
水電解装置
1か月前
株式会社アイシン
温度調節器
10日前
株式会社アイシン
圧力調整弁
1か月前
株式会社アイシン
レーダ装置
今日
株式会社アイシン
温度調節器
6日前
株式会社アイシン
温度調節器
20日前
株式会社アイシン
自律移動体
1か月前
株式会社アイシン
温度調節器
20日前
株式会社アイシン
電動ポンプ
1か月前
株式会社アイシン
鋳ぐるみ品
10日前
株式会社アイシン
振動発生装置
8日前
株式会社アイシン
駐車支援装置
13日前
株式会社アイシン
開閉システム
7日前
株式会社アイシン
物体検出装置
1か月前
株式会社アイシン
マニホールド
8日前
株式会社アイシン
乗員検知装置
21日前
続きを見る
他の特許を見る