TOP
|
特許
|
意匠
|
商標
特許ウォッチ
Twitter
他の特許を見る
10個以上の画像は省略されています。
公開番号
2025142741
公報種別
公開特許公報(A)
公開日
2025-10-01
出願番号
2024042262
出願日
2024-03-18
発明の名称
マニホールド
出願人
株式会社アイシン
代理人
弁理士法人R&C
主分類
B60K
11/02 20060101AFI20250924BHJP(車両一般)
要約
【課題】接合部で剥離を生じ難いマニホールドを提供する。
【解決手段】第1部材10の第1接合体15と、第2部材20の第2接合体25とが、接合面同士の溶着により一体化されることで流路空間が形成されているマニホールドであって、第1接合体15の第1接合面10Tに形成された第1凹凸領域E1と、第2接合体25の第2接合面20Tに形成された第2凹凸領域E2とが互いに嵌まり込んだ凹凸形状の溶着面によって第1接合体15と第2接合体25とを接合している。
【選択図】図6
特許請求の範囲
【請求項1】
樹脂製の第1部材に形成された第1接合体と、樹脂製の第2部材に形成された第2接合体とが、夫々の接合面同士が溶着により一体化されており、一体化された前記第1部材と前記第2部材との間に流路空間が形成されているマニホールドであって、
前記第1接合体の第1接合面に形成された第1凹凸領域と、前記第2接合体の第2接合面に形成された第2凹凸領域とが互いに嵌まり込んだ凹凸形状の溶着面によって前記第1接合体と前記第2接合体とが接合されているマニホールド。
続きを表示(約 340 文字)
【請求項2】
前記第1凹凸領域は、前記第1接合面の長手方向に沿って第1凹部と第1凸部との1組を連続して複数組隣り合う位置に配置し、前記第2凹凸領域は、前記第2接合面の長手方向に沿って第2凹部と第2凸部との1組を連続して複数組隣り合う位置に配置している請求項1に記載のマニホールド。
【請求項3】
前記第1凹凸領域は、前記第1接合面の幅方向に沿って第1凹部と第1凸部とを隣り合う位置に配置し、前記第2凹凸領域は、前記第2接合面の幅方向に沿って第2凹部と第2凸部とを隣り合う位置に配置している請求項1に記載のマニホールド。
【請求項4】
前記溶着面が、矩形の凹状部に矩形の凸状部が嵌合する形状を有している請求項1~3の何れか一項に記載のマニホールド。
発明の詳細な説明
【技術分野】
【0001】
本発明は、部材の溶着により形成されているマニホールドに関する。
続きを表示(約 1,800 文字)
【背景技術】
【0002】
特許文献1には、第1セクションと、第2セクションとをリザーバーインタフェースで接合したリザーバが示されている。この特許文献1では、リザーバーインタフェースにおける接合として、例えば、溶接界面、接着界面、熱間成形界面、熱板溶接界面、熱溶接界面、音波溶接界面、超音波溶接界面などを用いることが記載されている。
【先行技術文献】
【特許文献】
【0003】
特表2019-520261号公報
【発明の概要】
【発明が解決しようとする課題】
【0004】
特許文献1に記載されるリザーバーインタフェースにおける接合は、分割状態にある複数のセクションが接合することで、必要とする構造物を形成するものである。
【0005】
特に、特許文献1の図3のFIG3Dには、リザーバの2つのセクションを、直線的なリザーバーインタフェースで接合する接合形態が示されている。このため、たとえば、熱溶着によって接合する際には、平坦な面を溶着する形態となり、リザーバの内圧が上昇した場合に溶着部が剥離することも懸念される。
【0006】
このような理由からでは、溶着部で剥離を生じ難いマニホールドが求められる。
【課題を解決するための手段】
【0007】
本発明に係るマニホールドの特徴構成は、樹脂製の第1部材に形成された第1接合体と、樹脂製の第2部材に形成された第2接合体とが、夫々の接合面同士が溶着により一体化されており、一体化された前記第1部材と前記第2部材との間に流路空間が形成されているマニホールドであって、前記第1接合体の第1接合面に形成された第1凹凸領域と、前記第2接合体の第2接合面に形成された前記第2凹凸領域とが互いに嵌まり込んだ凹凸形状の溶着面によって前記第1接合体と前記第2接合体とが接合されている点にある。
【0008】
本構成によると、第1接合面の第1凹凸領域と、第2接合面の第2凹凸領域とが互いに嵌まり込んだ凹凸形状の溶着面によって、第1接合体と第2接合体とが溶着により一体化した状態にある。このため、溶着面積が広く、強固な溶着状態を維持する。従って、溶着部で剥離を生じ難いマニホールドが構成された。
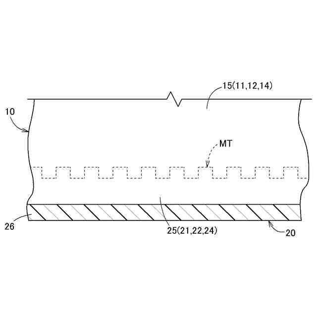
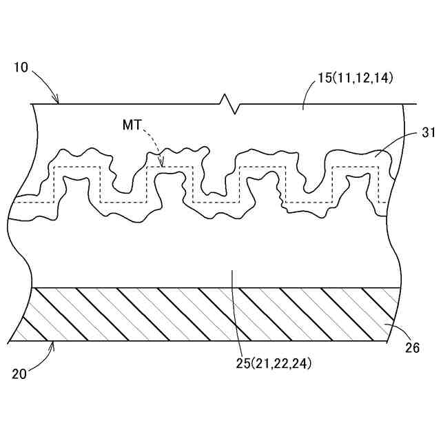
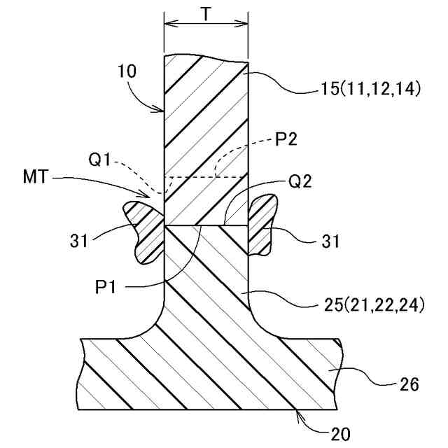
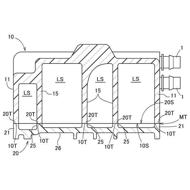
【図面の簡単な説明】
【0009】
マニホールドの分解斜視図である。
下部開口を示すアッパーハウジングの底面である。
上部開口を示すロアーハウジングの平面図である。
マニホールドの断面図である。
アッパーハウジングとロアーハウジングとの分離状態の断面図である。
アッパー接合面とロアー接合面との側面視形状を示す図である。
溶着面の側面視における形状を示す図である。
溶着状態のアッパー接合面とロアー接合面との断面図である。
溶着面とバリ部との側面視における拡大した形状を示す図である。
別実施形態(a)における分離状態のアッパー接合面とロアー接合面との幅方向での形状を示す断面図である。
別実施形態(a)におけるアッパー接合面とロアー接合面との溶着面の幅方向での形状を示す断面図である。
別実施形態(b)における分離状態のアッパー接合面とロアー接合面との幅方向での形状を示す断面図である。
別実施形態(b)におけるアッパー接合面とロアー接合面との溶着面の幅方向での形状を示す断面図である。
別実施形態(c)におけるアッパーハウジングとロアーハウジングとの側面視の形状を示す図である。
別実施形態(c)における溶着面の側面視における形状を示す図である。
別実施形態(d)におけるアッパーハウジングとロアーハウジングとの側面視の形状を示す図である。
別実施形態(d)における溶着面の側面視における形状を示す図である。
【発明を実施するための形態】
【0010】
以下に、本発明に係るマニホールドの実施形態について、図面に基づいて説明する。本実施形態では、電動車両において冷却媒体の流れを制御する構成のマニホールドの構成を説明しているが、マニホールドは、以下の実施形態に限定されることなく、その要旨を逸脱しない範囲内で種々の変形が可能である。
(【0011】以降は省略されています)
この特許をJ-PlatPat(特許庁公式サイト)で参照する
関連特許
株式会社アイシン
空気袋
7日前
株式会社アイシン
駆動装置
5日前
株式会社アイシン
回転電機
3日前
株式会社アイシン
車体構造
3日前
株式会社アイシン
制御装置
3日前
株式会社アイシン
温度調節器
7日前
株式会社アイシン
温度調節器
3日前
株式会社アイシン
温度調節器
17日前
株式会社アイシン
温度調節器
17日前
株式会社アイシン
鋳ぐるみ品
7日前
株式会社アイシン
運転支援装置
3日前
株式会社アイシン
マニホールド
5日前
株式会社アイシン
物体検出装置
17日前
株式会社アイシン
ポンプケース
10日前
株式会社アイシン
立体構造基板
7日前
株式会社アイシン
駐車支援装置
10日前
株式会社アイシン
運転支援装置
3日前
株式会社アイシン
開閉システム
4日前
株式会社アイシン
乗員検知装置
18日前
株式会社アイシン
車両下部構造
26日前
株式会社アイシン
心拍検出装置
10日前
株式会社アイシン
運転支援装置
27日前
株式会社アイシン
車両駆動装置
27日前
株式会社アイシン
駐車支援装置
3日前
株式会社アイシン
車両制御装置
3日前
株式会社アイシン
排熱回収装置
27日前
株式会社アイシン
振動発生装置
5日前
株式会社アイシン
バッテリ温調器
7日前
株式会社アイシン
核磁気共鳴装置
11日前
株式会社アイシン
車両用ドア装置
4日前
株式会社アイシン
回転角検出装置
4日前
株式会社アイシン
ドアロック装置
17日前
株式会社アイシン
車両用ドア装置
4日前
株式会社アイシン
ロータリバルブ
7日前
株式会社アイシン
冷暖房システム
3日前
株式会社アイシン
ロータリバルブ
7日前
続きを見る
他の特許を見る