TOP
|
特許
|
意匠
|
商標
特許ウォッチ
Twitter
他の特許を見る
10個以上の画像は省略されています。
公開番号
2025139748
公報種別
公開特許公報(A)
公開日
2025-09-29
出願番号
2024038755
出願日
2024-03-13
発明の名称
搬送装置、及び画像形成装置
出願人
セイコーエプソン株式会社
代理人
個人
,
個人
,
個人
主分類
B65H
5/00 20060101AFI20250919BHJP(運搬;包装;貯蔵;薄板状または線条材料の取扱い)
要約
【課題】紙粉が紙粉搬送部によって搬送されにくくなる虞がある。
【解決手段】搬送装置3は、媒体Pの搬送経路TRに沿って媒体Pを搬送する搬送ローラー53と、搬送ローラー53と対向する位置に配置され、媒体Pに付着している紙粉を吸着する紙粉吸着ローラー54と、紙粉吸着ローラー54に接触し、紙粉吸着ローラー54が吸着した紙粉を紙粉吸着ローラー54から除去する紙粉除去部55と、紙粉除去部55と隣り合う位置に設けられ、紙粉除去部55によって除去された紙粉を搬送する紙粉搬送部60と、を備え、紙粉吸着ローラー54と紙粉除去部55とは、紙粉吸着ローラー54と紙粉除去部55とが接触するときの接触圧が、X軸方向において異なるように構成される。
【選択図】図2
特許請求の範囲
【請求項1】
媒体の搬送経路に沿って前記媒体を搬送する搬送ローラーと、
前記搬送ローラーと対向する位置に配置され、前記媒体に付着している紙粉を吸着する紙粉吸着ローラーと、
前記紙粉吸着ローラーに接触し、前記紙粉吸着ローラーが吸着した前記紙粉を前記紙粉吸着ローラーから除去する紙粉除去部と、
前記紙粉除去部と隣り合う位置に設けられ、前記紙粉除去部によって除去された前記紙粉を搬送する紙粉搬送部と、
を備え、
前記紙粉吸着ローラーと前記紙粉除去部とは、前記紙粉吸着ローラーと前記紙粉除去部とが接触するときの接触圧が、前記媒体の搬送方向と交差する長手方向において異なるように構成される、
ことを特徴とする搬送装置。
続きを表示(約 1,000 文字)
【請求項2】
前記紙粉吸着ローラーは、前記長手方向における中央部の径が最も大きく、両端に向かうにつれて径が小さくなる、
ことを特徴とする請求項1に記載の搬送装置。
【請求項3】
前記搬送ローラーは、前記長手方向における中央部の径が最も小さく、両端に向かうにつれて径が大きくなる、
ことを特徴とする請求項2に記載の搬送装置。
【請求項4】
前記紙粉除去部は、前記長手方向における中央部が前記紙粉吸着ローラーに対して最も突出量が大きく、両端に向かうにつれて突出量が小さくなる、
ことを特徴とする請求項1に記載の搬送装置。
【請求項5】
前記紙粉搬送部は、前記紙粉除去部と比較して、前記長手方向の寸法が大きい、
ことを特徴とする請求項1に記載の搬送装置。
【請求項6】
前記紙粉搬送部は、駆動プーリーと、従動プーリーと、前記駆動プーリー及び前記従動プーリーに巻き掛けられる無端ベルトと、を有する搬送ベルトであり、
前記紙粉は前記搬送ベルトによって搬送される、
ことを特徴とする請求項1に記載の搬送装置。
【請求項7】
前記紙粉搬送部は、前記長手方向に沿う軸心を有するシャフトにスパイラルが設けられるオーガスクリューであり、
前記紙粉は前記シャフトが前記軸心回りに回転することで搬送される、
ことを特徴とする請求項1に記載の搬送装置。
【請求項8】
前記スパイラルは、前記シャフトの前記長手方向における中央部から一方の端に向かう第1スパイラルと、前記中央部から他方の端に向かう第2スパイラルと、を有し、前記第1スパイラルと前記第2スパイラルとは巻き方向が異なり、
前記紙粉は、前記シャフトが回転することで前記シャフトの前記中央部から両端に向かって搬送される、
ことを特徴とする請求項7に記載の搬送装置。
【請求項9】
前記紙粉除去部を前記紙粉吸着ローラーに向かって押圧する押圧部材をさらに備え、
前記紙粉除去部は、スポンジ状の部材で構成される、
ことを特徴とする請求項1に記載の搬送装置。
【請求項10】
請求項1から請求項9のいずれか一項に記載の搬送装置と、
前記媒体に画像を形成する画像形成部と、
を備え、
前記媒体は、前記搬送装置によって前記画像形成部に向けて搬送される、
ことを特徴とする画像形成装置。
発明の詳細な説明
【技術分野】
【0001】
本開示は、搬送装置、及び画像形成装置に関する。
続きを表示(約 1,800 文字)
【背景技術】
【0002】
特許文献1には、記録媒体上の紙粉を除去する紙粉取り装置を備える画像形成装置が開示されている。紙粉取り装置は、紙粉取りローラーと、掻取部材と、搬送手段とを備える。紙粉取りローラーは、記録媒体に接触して、紙粉を取り除く。掻取部材は、紙粉取りローラーに付着した紙粉を掻き取る。搬送手段は、掻取部材により掻き取った紙紛を、紙紛取りローラーと接触しない状態で、紙紛取りローラーの軸方向に沿って搬送する。掻取部材と搬送手段とは、掻取部材により掻き取った紙紛を一時的に滞留させる空間を形成するために、所定の間隔を隔てて配置されている。
【先行技術文献】
【特許文献】
【0003】
特開2002-108153号公報
【発明の概要】
【発明が解決しようとする課題】
【0004】
しかしながら、特許文献1の紙粉取り装置では、成長した紙粉の塊が紙粉取りローラーの軸方向において大きな塊となってしまい、搬送手段によって搬送されにくくなる虞がある。
【課題を解決するための手段】
【0005】
搬送装置は、媒体の搬送経路に沿って前記媒体を搬送する搬送ローラーと、前記搬送ローラーと対向する位置に配置され、前記媒体に付着している紙粉を吸着する紙粉吸着ローラーと、前記紙粉吸着ローラーに接触し、前記紙粉吸着ローラーが吸着した前記紙粉を前記紙粉吸着ローラーから除去する紙粉除去部と、前記紙粉除去部と隣り合う位置に設けられ、前記紙粉除去部によって除去された前記紙粉を搬送する紙粉搬送部と、を備え、前記紙粉吸着ローラーと前記紙粉除去部とは、前記紙粉吸着ローラーと前記紙粉除去部とが接触するときの接触圧が、前記媒体の搬送方向と交差する長手方向において異なるように構成される。
【0006】
画像形成装置は、前記搬送装置と、前記媒体に画像を形成する画像形成部と、を備え、前記媒体は、前記搬送装置によって前記画像形成部に向けて搬送される。
【図面の簡単な説明】
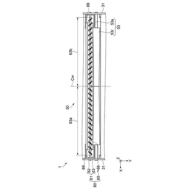
【0007】
画像形成装置の一実施形態を示す模式側面図。
画像形成装置が備える紙粉除去機構を示す側面図。
図2に示したS3-S3断面を示す断面図。
画像形成装置が備える紙粉除去機構を示す側面図。
画像形成装置が備える紙粉除去機構を示す平面図。
紙粉吸着ローラーを示す図。
搬送ローラーを示す図。
搬送ローラーの他の実施形態を示す図。
紙粉除去部の他の実施形態を示す図。
紙粉除去部の他の実施形態を示す図。
紙粉吸着ローラーの他の実施形態を示す図。
紙粉搬送部の他の実施形態を示す図。
【発明を実施するための形態】
【0008】
以下、実施形態に基づいて本開示を説明する。各図において同一部材には同一符号を付し、重複する説明は省略する。本明細書において、「同じ」、「同一」、「同時」と記載する場合、完全に同じであることのみを指すわけではない。例えば、本明細書において、「同じ」、「同一」、「同時」とは、測定誤差を考慮して同じである場合を含むものとする。例えば、本明細書において、「同じ」、「同一」、「同時」とは、部材の製造ばらつきを考慮して同じである場合を含むものとする。例えば、本明細書において、「同じ」、「同一」、「同時」とは、機能を損なわない範囲で同じである場合を含むものとする。よって、例えば、「両者の寸法が同じである」とは、測定誤差、部材の製造ばらつきを考慮し、両者の寸法差が、一方の寸法の±5パーセント以内、特に好ましくは±3パーセント以内であることを指す。
【0009】
1.実施形態1
画像形成装置1は、例えば、媒体Pの一例である枚葉の記録用紙等に画像を形成可能なインクジェット方式のプリンターである。
【0010】
尚、各図においてX、Y、Zは、互いに直交する3つの空間軸を表している。本明細書では、これらの軸に沿った方向をX軸方向、Y軸方向、及びZ軸方向とする。向きを特定する場合には、正の方向を「+」、負の方向を「-」として、方向表記に正負の符合を併用し、各図の矢印が向かう向きを+方向、矢印の反対方向を-方向として説明する。
(【0011】以降は省略されています)
この特許をJ-PlatPat(特許庁公式サイト)で参照する
関連特許
個人
収容箱
2か月前
個人
コンベア
4か月前
個人
段ボール箱
6か月前
個人
ゴミ収集器
6か月前
個人
段ボール箱
6か月前
個人
バンド
1か月前
個人
宅配システム
6か月前
個人
角筒状構造体
4か月前
個人
楽ちんハンド
4か月前
個人
コード類収納具
7か月前
個人
包装容器
14日前
個人
廃棄物収容容器
1か月前
個人
お薬の締結装置
5か月前
個人
把手付米袋
3か月前
株式会社コロナ
梱包材
4か月前
個人
蓋閉止構造
3か月前
個人
蓋閉止構造
3か月前
個人
貯蔵サイロ
6か月前
個人
積み重ね用補助具
1か月前
個人
コード折り畳み器具
3か月前
個人
袋入り即席麺
6か月前
株式会社KY7
封止装置
2か月前
三甲株式会社
蓋体
7か月前
三甲株式会社
容器
5か月前
株式会社新弘
容器
2か月前
株式会社イシダ
搬送装置
5か月前
個人
介護用コップ
1か月前
個人
輸送積荷用動吸振器
5か月前
三甲株式会社
容器
5か月前
個人
搬送システム
5か月前
三甲株式会社
容器
28日前
株式会社デュプロ
制御装置
2か月前
株式会社デュプロ
包装装置
2か月前
個人
テープカッター
3か月前
個人
ブリスタ包装体
25日前
個人
袋の自立保持具
3か月前
続きを見る
他の特許を見る