TOP
|
特許
|
意匠
|
商標
特許ウォッチ
Twitter
他の特許を見る
10個以上の画像は省略されています。
公開番号
2025140309
公報種別
公開特許公報(A)
公開日
2025-09-29
出願番号
2024039632
出願日
2024-03-14
発明の名称
給電装置、充電装置、充放電装置、充放電システムおよび制御方法
出願人
三菱電機株式会社
代理人
個人
,
個人
,
個人
,
個人
主分類
H02J
7/00 20060101AFI20250919BHJP(電力の発電,変換,配電)
要約
【課題】簡易な構成で、AC電源からバッテリへの充電だけでなくバッテリからAC電源への給電(放電)を可能にすること。
【解決手段】充放電装置は、多重巻線を有するモータの一方の巻線とバッテリとの間に接続された第1インバータと、他方の巻線に接続された第2インバータと、交流電力供給源との接続を開閉する連系リレーと、充電時には連系リレーを介して接続された交流電力供給源からの交流電力を直流電力に変換して第2インバータへ出力し、放電時は第2インバータからの直流電力を交流電力に変換して連系リレーを介して交流電力供給源へ出力する第3インバータと、第2インバータの直流側と第3インバータの直流側との間に接続された第1リレースイッチとを備え、バッテリの状態を監視(モニタリング)し、充放電する場合には第1リレースイッチの接続を閉じ、交流電力供給源の電圧および周波数が所定の範囲内である場合に連系リレーの接続を閉じる。
【選択図】図1
特許請求の範囲
【請求項1】
バッテリからの電力を交流電力供給源へ給電する給電装置であって、
多重巻線を有するモータと、
前記多重巻線のうち第1巻線と前記バッテリとの間に接続され、前記バッテリからの電力を前記交流電力供給源へ給電する場合には前記バッテリからの直流電力を交流電力に変換して前記モータに出力する第1インバータと、
前記多重巻線のうち第2巻線に接続され、前記バッテリからの電力を前記交流電力供給源へ給電する場合には前記モータが出力する交流電力を直流電力に変換して出力する第2インバータと、
一方に前記交流電力供給源が接続され、外部指令により前記交流電力供給源との接続を開閉する連系リレーと、
前記連系リレーの他方に接続され、前記第2インバータが出力する直流電力を交流電力に変換して前記連系リレーを介して前記交流電力供給源へ出力する第3インバータと、
一方が前記第2インバータの直流側に接続され、他方が前記第3インバータの直流側に接続され、外部指令により前記第2インバータの直流側と前記第3インバータの直流側との接続を開閉する第1リレースイッチと、
前記交流電力供給源の電圧および周波数を計測する計測部と、
前記バッテリの状態を監視するバッテリ監視部と、
前記計測部および前記バッテリ監視部の出力が入力され、当該入力に基づいて前記第1インバータ、前記第2インバータ、前記第3インバータおよび前記連系リレーへ駆動信号を出力する制御部と、
を備え、
前記制御部は、
前記バッテリからの電力を前記交流電力供給源へ給電する場合には、前記第1リレースイッチの接続を閉じる駆動信号を前記外部指令として前記第1リレースイッチに出力し、
前記計測部が計測した前記交流電力供給源の電圧および周波数が所定の範囲内である場合に、前記連系リレーの接続を閉じる駆動信号を前記外部指令として前記連系リレーに出力する、
給電装置。
続きを表示(約 3,400 文字)
【請求項2】
一方が前記第1インバータの直流側に接続され、他方が前記第2インバータの直流側に接続され、外部指令により前記第1インバータの直流側と前記第2インバータの直流側との接続を開閉する第2リレースイッチ、
を備え、
前記制御部は、
前記バッテリからの電力を前記交流電力供給源へ給電しない場合には、前記第1リレースイッチの接続を開く駆動信号を前記外部指令として前記第1リレースイッチへ出力するとともに、前記第2リレースイッチの接続を閉じる駆動信号を前記外部指令として前記第2リレースイッチへ出力する、
請求項1に記載の給電装置。
【請求項3】
前記第1巻線のΔ結線の接続を開閉する第3リレースイッチと、
前記第1巻線の中性点の接続を開閉する第4リレースイッチと、
前記第2巻線のΔ結線の接続を開閉する第5リレースイッチと、
前記第2巻線の中性点の接続を開閉する第6リレースイッチと、
を備え、
前記制御部は、
前記バッテリからの電力を前記交流電力供給源へ給電しない場合には、
前記第4リレースイッチおよび前記第6リレースイッチをONし、前記第3リレースイッチおよび前記第5リレースイッチをOFFする、
または前記第3リレースイッチおよび前記第5リレースイッチをONし、前記第4リレースイッチおよび前記第6リレースイッチをOFFし、
前記バッテリからの電力を前記交流電力供給源へ給電する場合には、
前記第4リレースイッチおよび前記第6リレースイッチをONし、前記第3リレースイッチおよび前記第5リレースイッチをOFFする、
または前記第4リレースイッチおよび前記第5リレースイッチをONし、前記第3リレースイッチおよび前記第6リレースイッチをOFFする、
または前記第3リレースイッチおよび前記第6リレースイッチをONし、前記第4リレースイッチおよび前記第5リレースイッチをOFFする、
請求項1に記載の給電装置。
【請求項4】
前記制御部は、
前記バッテリからの電力を前記交流電力供給源へ給電する場合には、
前記第2インバータの直流側電圧の√3倍と、前記多重巻線の一方の巻線と他方の巻線との間の結合係数との積、および前記バッテリの電圧の差が予め定められた値より大きいときに、前記第4リレースイッチおよび前記第5リレースイッチをONし、前記第3リレースイッチおよび前記第6リレースイッチをOFFする、
請求項3に記載の給電装置。
【請求項5】
前記バッテリからの電力を前記交流電力供給源へ給電する場合には、前記第1インバータの出力電流の波形は、前記モータが回転停止状態となる電流波形である、
請求項1から請求項4のいずれか1項に記載の給電装置。
【請求項6】
前記バッテリからの電力を前記交流電力供給源へ給電する場合には、前記第1インバータの各相の出力電流の波形は、ゼロクロスタイミングが一致した交番電流またはゼロ電流であり、かつ各相の電流の和がゼロである、
請求項1から請求項4のいずれか1項に記載の給電装置。
【請求項7】
交流電力供給源からの電力でバッテリを充電する充電装置であって、
多重巻線を有するモータと、
前記多重巻線のうち第1巻線と前記バッテリとの間に接続され、前記交流電力供給源からの電力で前記バッテリを充電する場合には前記モータが出力する交流電力を直流電力に変換して前記バッテリに出力する第1インバータと、
前記多重巻線のうち第2巻線に接続され、前記交流電力供給源からの電力で前記バッテリを充電する場合には直流電力を交流電力に変換して前記モータに出力する第2インバータと、
一方に前記交流電力供給源が接続され、外部指令により前記交流電力供給源との接続を開閉する連系リレーと、
前記連系リレーの他方に接続され、前記交流電力供給源からの電力で前記バッテリを充電する場合には前記連系リレーを介して接続された前記交流電力供給源からの交流電力を直流電力に変換して出力する第3インバータと、
一方が前記第2インバータの直流側に接続され、他方が前記第3インバータの直流側に接続され、外部指令により前記第2インバータの直流側と前記第3インバータの直流側との接続を開閉する第1リレースイッチと、
前記交流電力供給源の電圧および周波数を計測する計測部と、
前記バッテリの状態を監視するバッテリ監視部と、
前記計測部および前記バッテリ監視部の出力が入力され、当該入力に基づいて前記第1インバータ、前記第2インバータ、前記第3インバータおよび前記連系リレーへ駆動信号を出力する制御部と、
を備え、
前記制御部は、
前記交流電力供給源からの電力で前記バッテリを充電する場合には、前記第1リレースイッチの接続を閉じる駆動信号を前記外部指令として前記第1リレースイッチに出力し、
前記計測部が計測した前記交流電力供給源の電圧および周波数が所定の範囲内である場合に、前記連系リレーの接続を閉じる駆動信号を前記外部指令として前記連系リレーに出力する、
充電装置。
【請求項8】
一方が前記第1インバータの直流側に接続され、他方が前記第2インバータの直流側に接続され、外部指令により前記第1インバータの直流側と前記第2インバータの直流側との接続を開閉する第2リレースイッチ、
を備え、
前記制御部は、
前記交流電力供給源からの電力で前記バッテリを充電しない場合には、前記第1リレースイッチの接続を開く駆動信号を前記外部指令として前記第1リレースイッチへ出力するとともに、前記第2リレースイッチの接続を閉じる駆動信号を前記外部指令として前記第2リレースイッチへ出力する、
請求項7に記載の充電装置。
【請求項9】
前記第1巻線のΔ結線の接続を開閉する第3リレースイッチと、
前記第1巻線の中性点の接続を開閉する第4リレースイッチと、
前記第2巻線のΔ結線の接続を開閉する第5リレースイッチと、
前記第2巻線の中性点の接続を開閉する第6リレースイッチと、
を備え、
前記制御部は、
前記交流電力供給源からの電力で前記バッテリを充電しない場合には、
前記第4リレースイッチおよび前記第6リレースイッチをONし、前記第3リレースイッチおよび前記第5リレースイッチをOFFする、
または前記第3リレースイッチおよび前記第5リレースイッチをONし、前記第4リレースイッチおよび前記第6リレースイッチをOFFし、
前記交流電力供給源からの電力で前記バッテリを充電する場合には、
前記第4リレースイッチおよび前記第6リレースイッチをONし、前記第3リレースイッチおよび前記第5リレースイッチをOFFする、
または前記第4リレースイッチおよび前記第5リレースイッチをONし、前記第3リレースイッチおよび前記第6リレースイッチをOFFする、
または前記第3リレースイッチおよび前記第6リレースイッチをONし、前記第4リレースイッチおよび前記第5リレースイッチをOFFする、
請求項7に記載の充電装置。
【請求項10】
前記制御部は、
前記交流電力供給源からの電力で前記バッテリを充電する場合には、
前記バッテリの電圧の√3倍と、前記多重巻線の一方の巻線と他方の巻線との間の結合係数との積、および前記第2インバータの直流側電圧の差が予め定められた値より大きいときに、
前記第3リレースイッチおよび前記第6リレースイッチをONし、前記第4リレースイッチおよび前記第5リレースイッチをOFFする、
請求項9に記載の充電装置。
(【請求項11】以降は省略されています)
発明の詳細な説明
【技術分野】
【0001】
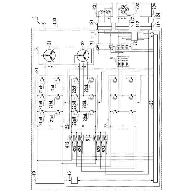
本開示は、給電装置、充電装置、充放電装置、充放電システムおよび制御方法に関する。
続きを表示(約 4,100 文字)
【背景技術】
【0002】
カーボンニュートラル実現に向けた再生可能エネルギーの導入の拡大に伴い、不安定な再生可能エネルギー発電電力を平滑し、商用電源系統を安定化する技術の重要性が高まっている。例えば蓄電池を活用した電力需給の平滑化などである。中でも近年普及拡大が著しい電気自動車などの電動車両が搭載する蓄電池を活用したV2X(Vehicle to X)システムに関する技術が注目されている。V2Xシステムの一形態であるV2H(Vehicle to Home)システムでは、電動車両が搭載するバッテリを住宅内の配電線につなぎ、住宅内配電線からバッテリを充電したり、バッテリの電力を住宅内配電線に給電したりすることができる。例えば昼間、太陽光発電システムの発電電力が消費電力よりも大きい時には、その余剰電力を電動車両のバッテリに蓄電する。夜間など太陽光発電システムの発電電力が無く消費電力の方が大きい時には、電動車両のバッテリの電力を住宅内に供給することで、太陽光発電システムの発電電力の商用電源系統への売電を減らすとともに、商用電源系統から住宅内への電力供給を減らすことができ、電力需給を平滑化することができる。
【0003】
しかしながら、V2Xシステムを構成するためには、電動車両とは別に、電動車両が搭載するバッテリを充放電するためのV2X装置が必要である。V2X装置は、一般的に、絶縁型DC-DCコンバータとインバータとで構成される充放電部と、AC電源系統に異常があった場合に充放電部とAC電源系統とを切り離し両者を保護する系統連系保護部とで構成されている。そのため、V2Xシステムを構成するには、システムが複雑で高価であることから、広く普及するまでには至っていない。
【0004】
この問題を改善する技術として、例えば特許文献1には、二重三相モータを駆動する第1インバータおよび第2インバータと、AC電源系統からの電力をDC電力に変換して第2インバータへ供給するコンバータとを備え、AC電源系統からバッテリを充電する時に、二重三相モータを絶縁トランスとして使い、第1のインバータおよび第2インバータとともに絶縁型DC-DCコンバータとして機能させることで、電動車両における絶縁機能付加に伴う部品機構の複雑化、大型化を抑えながら、外部充電装置の絶縁機能を不要として、充電システムを簡易にする技術が開示されている。
【先行技術文献】
【特許文献】
【0005】
特許第6079455号公報
【発明の概要】
【発明が解決しようとする課題】
【0006】
しかしながら、特許文献1に開示の充電装置は、AC電源系統から電動車両内のバッテリを充電できるが、バッテリの電力をAC電源系統へ給電(放電)することができなかった。そのため前述のV2Xシステムを構成するためには別体のV2X装置が必要となり、V2Xシステムが複雑で、大型になるという問題があった。また、別体のV2X装置を用いた充放電においては、電動車両内のバッテリ制御部とV2X装置内の充放電制御部との間で、通信によるシーケンス制御が必要となり、装置間の相性によって通信異常が発生すると充放電ができないという問題があった。
【0007】
本開示は、上記した事情に鑑みてなされたもので、簡易な構成で、AC電源からバッテリへの充電だけでなくバッテリからAC電源への給電(放電)が可能な給電装置、充電装置、充放電装置、充放電システムおよび制御方法を提供することを目的の一つとする。
【課題を解決するための手段】
【0008】
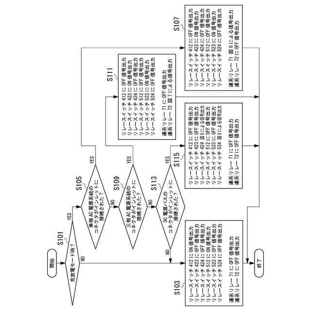
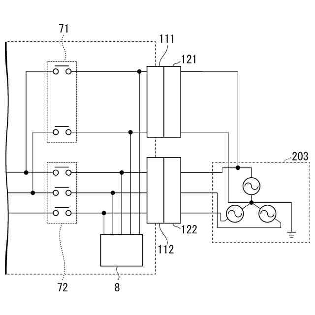
本開示の一態様は、バッテリからの電力を交流電力供給源へ給電する給電装置であって、多重巻線を有するモータと、前記多重巻線のうち第1巻線と前記バッテリとの間に接続され、前記バッテリからの電力を前記交流電力供給源へ給電する場合には前記バッテリからの直流電力を交流電力に変換して前記モータに出力する第1インバータと、前記多重巻線のうち第2巻線に接続され、前記バッテリからの電力を前記交流電力供給源へ給電する場合には前記モータが出力する交流電力を直流電力に変換して出力する第2インバータと、一方に前記交流電力供給源が接続され、外部指令により前記交流電力供給源との接続を開閉する連系リレーと、前記連系リレーの他方に接続され、前記第2インバータが出力する直流電力を交流電力に変換して前記連系リレーを介して前記交流電力供給源へ出力する第3インバータと、一方が前記第2インバータの直流側に接続され、他方が前記第3インバータの直流側に接続され、外部指令により前記第2インバータの直流側と前記第3インバータの直流側との接続を開閉する第1リレースイッチと、前記交流電力供給源の電圧および周波数を計測する計測部と、前記バッテリの状態を監視するバッテリ監視部と、前記計測部および前記バッテリ監視部の出力が入力され、当該入力に基づいて前記第1インバータ、前記第2インバータ、前記第3インバータおよび前記連系リレーへ駆動信号を出力する制御部と、を備え、前記制御部は、前記バッテリからの電力を前記交流電力供給源へ給電する場合には、前記第1リレースイッチの接続を閉じる駆動信号を前記外部指令として前記第1リレースイッチに出力し、前記計測部が計測した前記交流電力供給源の電圧および周波数が所定の範囲内である場合に、前記連系リレーの接続を閉じる駆動信号を前記外部指令として前記連系リレーに出力する、給電装置である。
【0009】
また、本開示の一態様は、交流電力供給源からの電力でバッテリを充電する充電装置であって、多重巻線を有するモータと、前記多重巻線のうち第1巻線と前記バッテリとの間に接続され、前記交流電力供給源からの電力で前記バッテリを充電する場合には前記モータが出力する交流電力を直流電力に変換して前記バッテリに出力する第1インバータと、前記多重巻線のうち第2巻線に接続され、前記交流電力供給源からの電力で前記バッテリを充電する場合には直流電力を交流電力に変換して前記モータに出力する第2インバータと、一方に前記交流電力供給源が接続され、外部指令により前記交流電力供給源との接続を開閉する連系リレーと、前記連系リレーの他方に接続され、前記交流電力供給源からの電力で前記バッテリを充電する場合には前記連系リレーを介して接続された前記交流電力供給源からの交流電力を直流電力に変換して出力する第3インバータと、一方が前記第2インバータの直流側に接続され、他方が前記第3インバータの直流側に接続され、外部指令により前記第2インバータの直流側と前記第3インバータの直流側との接続を開閉する第1リレースイッチと、前記交流電力供給源の電圧および周波数を計測する計測部と、前記バッテリの状態を監視するバッテリ監視部と、前記計測部および前記バッテリ監視部の出力が入力され、当該入力に基づいて前記第1インバータ、前記第2インバータ、前記第3インバータおよび前記連系リレーへ駆動信号を出力する制御部と、を備え、前記制御部は、前記交流電力供給源からの電力で前記バッテリを充電する場合には、前記第1リレースイッチの接続を閉じる駆動信号を前記外部指令として前記第1リレースイッチに出力し、前記計測部が計測した前記交流電力供給源の電圧および周波数が所定の範囲内である場合に、前記連系リレーの接続を閉じる駆動信号を前記外部指令として前記連系リレーに出力する、充電装置である。
【0010】
また、本開示の一態様は、バッテリと交流電力供給源との間で充放電する充放電装置であって、多重巻線を有するモータと、前記多重巻線のうち一方の巻線と前記バッテリとの間に接続され、前記バッテリを充電する場合には前記モータが出力する交流電力を直流電力に変換して前記バッテリに出力し、前記バッテリを放電する場合には前記バッテリからの直流電力を交流電力に変換して前記モータに出力する第1インバータと、前記多重巻線のうち他方の巻線に接続され、前記バッテリを充電する場合には直流電力を交流電力に変換して前記モータに出力し、前記バッテリを放電する場合には前記モータが出力する交流電力を直流電力に変換して出力する第2インバータと、一方に前記交流電力供給源が接続され、外部指令により前記交流電力供給源との接続を開閉する連系リレーと、前記連系リレーの他方に接続され、前記バッテリを充電する場合には前記連系リレーを介して接続された前記交流電力供給源からの交流電力を直流電力に変換して出力し、前記バッテリを放電するときは前記第2インバータが出力する直流電力を交流電力に変換して前記連系リレーを介して前記交流電力供給源へ出力する第3インバータと、一方が前記第2インバータの直流側に接続され、他方が前記第3インバータの直流側に接続され、外部指令により前記第2インバータの直流側と前記第3インバータの直流側との接続を開閉する第1リレースイッチと、前記交流電力供給源の電圧および周波数を計測する計測部と、前記バッテリの状態を監視するバッテリ監視部と、前記計測部および前記バッテリ監視部の出力が入力され、当該入力に基づいて前記第1インバータ、前記第2インバータ、前記第3インバータおよび前記連系リレーへ駆動信号を出力する制御部と、を備え、前記制御部は、前記バッテリと前記交流電力供給源との間で充放電する場合には、前記第1リレースイッチの接続を閉じる駆動信号を前記外部指令として前記第1リレースイッチに出力し、前記計測部が計測した前記交流電力供給源の電圧および周波数が所定の範囲内である場合に、前記連系リレーの接続を閉じる駆動信号を前記外部指令として前記連系リレーに出力する、充放電装置である。
(【0011】以降は省略されています)
この特許をJ-PlatPat(特許庁公式サイト)で参照する
関連特許
三菱電機株式会社
回転電機
12日前
三菱電機株式会社
照明装置
22日前
三菱電機株式会社
回転電機
22日前
三菱電機株式会社
半導体装置
16日前
三菱電機株式会社
加熱調理器
15日前
三菱電機株式会社
半導体装置
22日前
三菱電機株式会社
半導体装置
2日前
三菱電機株式会社
電力変換装置
22日前
三菱電機株式会社
空気調和装置
23日前
三菱電機株式会社
ネジ取出機構
23日前
三菱電機株式会社
給湯システム
15日前
三菱電機株式会社
貯湯式給湯機
12日前
三菱電機株式会社
照明システム
2日前
三菱電機株式会社
電動機制御装置
8日前
三菱電機株式会社
送電線保護装置
22日前
三菱電機株式会社
非常用照明装置
15日前
三菱電機株式会社
照明制御システム
9日前
三菱電機株式会社
風力発電システム
12日前
三菱電機株式会社
ウエハテスト装置
22日前
三菱電機株式会社
空気清浄システム
15日前
三菱電機株式会社
照明制御システム
22日前
三菱電機株式会社
換気空調システム
12日前
三菱電機株式会社
電流切替型DAC
2日前
三菱電機株式会社
コントロールセンタ
22日前
三菱電機株式会社
照明器具及び照明装置
22日前
三菱電機株式会社
室外機および空気調和装置
22日前
三菱電機株式会社
半導体装置及びヒートシンク
16日前
三菱電機株式会社
制御システムおよび学習装置
22日前
三菱電機株式会社
半導体装置及びその製造方法
15日前
三菱電機株式会社
半導体装置および電力変換装置
22日前
三菱電機株式会社
監視装置、および監視システム
3日前
三菱電機株式会社
コントローラ及び送風システム
12日前
三菱電機株式会社
加熱調理器及び加熱調理システム
3日前
三菱電機株式会社
換気装置、送風装置および制御装置
2日前
三菱電機株式会社
照明器具および照明器具の製造方法
4日前
三菱電機株式会社
指示支援装置、方法、及びプログラム
12日前
続きを見る
他の特許を見る