TOP
|
特許
|
意匠
|
商標
特許ウォッチ
Twitter
他の特許を見る
10個以上の画像は省略されています。
公開番号
2025141218
公報種別
公開特許公報(A)
公開日
2025-09-29
出願番号
2024041067
出願日
2024-03-15
発明の名称
指示支援装置、方法、及びプログラム
出願人
三菱電機株式会社
代理人
個人
,
個人
,
個人
,
個人
,
個人
,
個人
主分類
G06F
30/12 20200101AFI20250919BHJP(計算;計数)
要約
【課題】設計者の習熟度に関わらず、図面に適切な幾何公差を効率的に指示することができる指示支援装置を提供する。
【解決手段】
指示支援装置2は、部品の三次元モデル形状に含まれる幾何公差を指示する対象の指示対象形体をユーザに選択させ、指示対象形体の形体種別、形体の幾何的分類である形体の種類をユーザに入力させる指示対象形体入力部と、ユーザの入力した形体種別、形体の種類に基づいて公差域の形を定める公差域定義入力部と、形体種別、形体の種類、公差域の形の組合せに基づいて公差域の位置または方向を拘束する拘束条件、拘束方向を選択するための選択肢をユーザに提示し、ユーザに選択肢を選択させることにより、拘束条件、拘束方向を入力させるデータム形体入力部と、形体種別、形体の種類、公差域の形、拘束条件、拘束方向に基づいて指示対象形体に指示する幾何公差を判定する幾何公差・データム指示部とを備える。
【選択図】図1
特許請求の範囲
【請求項1】
部品の三次元モデル形状に含まれる、幾何公差を指示する対象の指示対象形体をユーザに選択させ、前記指示対象形体の形体種別および形体の幾何的分類である形体の種類を前記ユーザに入力させる指示対象形体入力部と、
前記ユーザの入力した前記形体種別および前記形体の種類に基づいて公差域の形を定める公差域定義入力部と、
前記形体種別、前記形体の種類および前記公差域の形の組合せに基づいて、前記公差域の位置または方向を拘束する拘束条件および拘束方向を選択するための選択肢を前記ユーザに提示し、前記ユーザに選択肢を選択させることにより、前記拘束条件および前記拘束方向を入力させるデータム形体入力部と、
前記形体種別、前記形体の種類、前記公差域の形、前記拘束条件、および前記拘束方向に基づいて前記指示対象形体に指示する前記幾何公差を判定する幾何公差・データム指示部と、
を備える、
指示支援装置。
続きを表示(約 2,100 文字)
【請求項2】
前記三次元モデル形状を表示できる表示部をさらに備え、
前記データム形体入力部は、前記ユーザに前記表示部に表示された前記三次元モデル形状の指示対象形体を選択させ、選択された前記指示対象形体に形体種別を入力させる、
請求項1に記載の指示支援装置。
【請求項3】
前記公差域定義入力部は、前記形体種別および前記形体の種類に基づいて求めた公差域の形が複数ある場合、複数の前記公差域の形のうちいずれか一つを前記ユーザに選択させる、
請求項1または2に記載の指示支援装置。
【請求項4】
前記三次元モデル形状のデータを外部機器から読み込む図面データ読込部をさらに備え、
前記指示対象形体入力部は、読み込まれた前記三次元モデル形状に含まれる、幾何公差を指示する対象の指示対象形体をユーザに選択させる、
請求項1または2に記載の指示支援装置。
【請求項5】
指示支援装置が実行する方法であって、
部品の三次元モデル形状に含まれる、幾何公差を指示する対象の指示対象形体をユーザに選択させ、
前記指示対象形体の形体種別および形体の幾何的分類である形体の種類を前記ユーザに入力させ、
前記ユーザの入力した前記形体種別および前記形体の種類に基づいて公差域の形を定め、
前記形体種別、前記形体の種類、および前記公差域の形の組合せに基づいて、前記公差域の位置または方向を拘束する拘束条件および拘束方向を選択するための選択肢を前記ユーザに提示し、
前記ユーザに選択肢を選択させることにより、前記拘束条件および前記拘束方向を入力させ、
前記形体種別、前記形体の種類、前記公差域の形、前記拘束条件、および前記拘束方向に基づいて前記指示対象形体に指示する前記幾何公差を判定する、
方法。
【請求項6】
部品の三次元モデル形状を設計する装置が実行する方法であって、
前記三次元モデル形状に含まれる指示対象形体に幾何公差を指示する幾何公差指示機能をアクティブにし、
前記幾何公差指示機能によって、
前記幾何公差を指示する対象の指示対象形体をユーザに選択させ、
前記指示対象形体の形体種別および形体の幾何的分類である形体の種類を前記ユーザに入力させ、
前記ユーザの入力した前記形体種別および前記形体の種類に基づいて公差域の形を取得し、
前記形体種別、前記形体の種類および前記公差域の形の組合せに基づいて、前記公差域の位置または方向を拘束する拘束条件および拘束方向を選択するための選択肢を前記ユーザに提示し、
前記ユーザに選択肢を選択させることにより、前記拘束条件および前記拘束方向を入力させ、
前記形体種別、前記形体の種類、前記公差域の形、前記拘束条件、および前記拘束方向に基づいて前記指示対象形体に指示する前記幾何公差を判定する、
方法。
【請求項7】
コンピュータに、
部品の三次元モデル形状に含まれる、幾何公差を指示する対象の指示対象形体をユーザに選択させる処理、
前記指示対象形体の形体種別および形体の幾何的分類である形体の種類を前記ユーザに入力させる処理、
前記ユーザの入力した前記形体種別および前記形体の種類に基づいて公差域の形を定める処理、
前記形体種別、前記形体の種類および前記公差域の形の組合せに基づいて、前記公差域の位置または方向を拘束する拘束条件および拘束方向を選択するための選択肢を前記ユーザに提示する処理、
前記ユーザに選択肢を選択させることにより、前記拘束条件および前記拘束方向を入力させる処理、
前記形体種別、前記形体の種類、前記公差域の形、前記拘束条件、および前記拘束方向に基づいて前記指示対象形体に指示する前記幾何公差を判定する処理、
を実行させるためのプログラム。
【請求項8】
コンピュータに、
三次元モデル形状に含まれる指示対象形体に幾何公差を指示する幾何公差指示機能をアクティブにする処理、
前記幾何公差指示機能によって、
前記幾何公差を指示する対象の指示対象形体をユーザに選択させる処理、
前記指示対象形体の形体種別および形体の幾何的分類である形体の種類を前記ユーザに入力させる処理、
前記ユーザの入力した前記形体種別および前記形体の種類に基づいて公差域の形を定める処理、
前記形体種別、前記形体の種類および前記公差域の形の組合せに基づいて、前記公差域の位置または方向を拘束する拘束条件および拘束方向を選択するための選択肢を前記ユーザに提示する処理、
前記ユーザに選択肢を選択させることにより、前記拘束条件および前記拘束方向を入力させる処理、
前記ユーザの前記形体種別、前記形体の種類、前記公差域の形、前記拘束条件、および前記拘束方向に基づいて前記指示対象形体に指示する前記幾何公差を判定する処理、
を実行させるためのプログラム。
発明の詳細な説明
【技術分野】
【0001】
本開示は、指示支援装置、方法、及びプログラムに関する。
続きを表示(約 2,300 文字)
【背景技術】
【0002】
近年、製造業のグローバル化に伴いGPS(Geometrical Product Specifications:製品の幾何特性仕様)を適用したGPS適用図面の必要性が高まっている。GPS適用図面は、従来の、いわゆる寸法公差だけでは曖昧にしか定義できていなかった製品形状を、幾何公差を使用して一義的に定義するものである。GPS適用図面を作成するためには、図面の設計者が幾何公差の使い方、各幾何公差の意味等を十分に理解できている必要がある。特に、図面の設計者は、幾何公差が指示された面、線、点等の形体が存在してもよい領域を示す、公差域について理解する必要がある。公差域には“形”と“位置・方向”とがあり、さらに、公差域の“形”と“位置・方向”との組合せは多岐にわたるため、設計者が理解するのは簡単ではない。そこで、例えば、特許文献1には、対象部品に指示された幾何公差の公差域の“形”と“位置・方向”とをディスプレイ装置にグラフィック表示にする技術が開示されている。
【先行技術文献】
【特許文献】
【0003】
特許第5703046号公報
【発明の概要】
【発明が解決しようとする課題】
【0004】
設計者が図面を作成する際、一般的には、設計の対象部品の各部位に要求される形状と、その形状が存在することが望ましい公差域とを定めた設計要件が存在する。設計者は、設計要件にしたがって、設計の対象部品の各部位に要求される形状と、その形状が存在することが望ましい公差域とを図面上に幾何公差として表現する。特許文献1に開示された技術では、対象部品に指示された幾何公差をディスプレイ装置にグラフィック表示することができるため、設計者が対象部品に指示した幾何公差を、設計中でも随時ディスプレイ装置上で確認することができる。
【0005】
しかしながら、幾何公差を指示することに慣れていない未習熟な設計者が特許文献1に開示された技術を利用する場合、未習熟な設計者は適切な幾何公差の指示にたどり着くためにトライ・アンド・エラーを繰り返し、作業時間を浪費する可能性がある。さらに、未習熟な設計者は、より適切な指示があるにもかかわらず、トライ・アンド・エラー中に出てきた、ある程度適切そうな幾何公差の指示を採用してしまう可能性もある。
【0006】
本開示は、上述の問題を解決するためになされたものであり、設計者の習熟度に関わらず、図面に適切な幾何公差を効率的に指示することができる指示支援装置、方法、プログラム提供することを目的とする。
【課題を解決するための手段】
【0007】
上述の目的を達成するために、本開示に係る指示支援装置は、部品の三次元モデル形状に含まれる、幾何公差を指示する対象の指示対象形体をユーザに選択させ、指示対象形体の形体種別および形体の幾何的分類である形体の種類をユーザに入力させる指示対象形体入力部と、ユーザの入力した形体種別および形体の種類に基づいて公差域の形を定める公差域定義入力部と、形体種別、形体の種類および公差域の形の組合せに基づいて、公差域の位置または方向を拘束する拘束条件および拘束方向を選択するための選択肢をユーザに提示し、ユーザに選択肢を選択させることにより、拘束条件および拘束方向を入力させるデータム形体入力部と、形体種別、形体の種類、公差域の形、拘束条件、および拘束方向に基づいて指示対象形体に指示する幾何公差を判定する幾何公差・データム指示部と、を備える。
【発明の効果】
【0008】
本開示によれば、幾何公差を指示するために必要な情報を対話的に入力することができるため、設計者の習熟度に関わらず、図面に適切な幾何公差を効率的に指示することができる指示支援装置を提供することができる。
【図面の簡単な説明】
【0009】
本開示の実施の形態に係る指示支援装置を含む指示支援システムの概要を示す図
実施の形態に係る指示支援装置の処理部の構成を示す図
実施の形態に係る指示支援装置のハードウエア構成の一例を示す図
実施の形態に係る公差域判定表を示す図
実施の形態に係る拘束方向・幾何公差判定表を示す図
図5Aに係る拘束方向・幾何公差判定表の続きを示す図
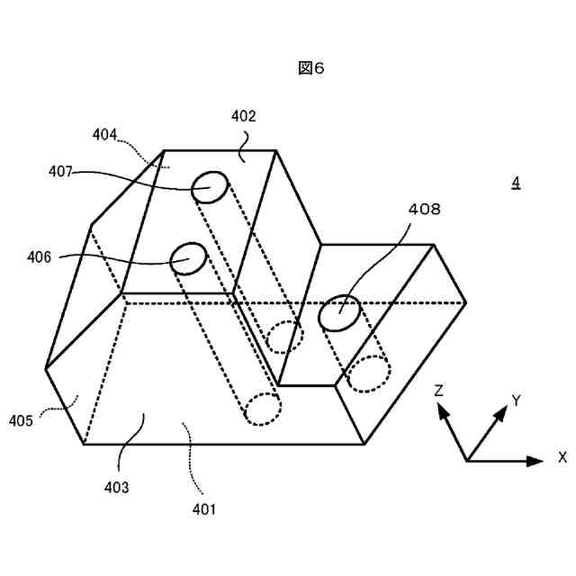
実施の形態に係る指示対象モデル形状の形状を示す図
実施の形態に係る入力情報データベースのテーブルを示す図
図7Aに示した入力情報データベースのテーブルの続きを示す図
図6に示した指示対象モデル形状に指示する幾何公差とデータムを示す図
図8Aとは別の角度から見た指示対象モデル形状に指示する幾何公差とデータムを示す図
実施の形態に係る指示支援処理のフローチャート
実施の形態に係る指示対象形体入力処理のフローチャート
実施の形態に係る公差域定義入力処理のフローチャート
実施の形態に係るデータム形体入力処理のフローチャート
実施の形態に係るデータム設定処理のフローチャート
実施の形態に係る幾何公差・データム指示処理のフローチャート
【発明を実施するための形態】
【0010】
以下、本開示の実施の形態に係る指示支援装置2および指示支援装置2を含む指示支援システム100について、図面を参照しつつ説明する。なお、同一または同等の部分に同一の符号を付す。
(【0011】以降は省略されています)
この特許をJ-PlatPat(特許庁公式サイト)で参照する
関連特許
三菱電機株式会社
冷蔵庫
1か月前
三菱電機株式会社
照明装置
13日前
三菱電機株式会社
回転電機
1か月前
三菱電機株式会社
回転電機
1か月前
三菱電機株式会社
照明器具
1か月前
三菱電機株式会社
回転電機
3日前
三菱電機株式会社
回転電機
13日前
三菱電機株式会社
照明装置
24日前
三菱電機株式会社
換気装置
1か月前
三菱電機株式会社
回転電機
27日前
三菱電機株式会社
電子機器
1か月前
三菱電機株式会社
照明器具
1か月前
三菱電機株式会社
回路遮断器
1か月前
三菱電機株式会社
半導体装置
7日前
三菱電機株式会社
半導体装置
13日前
三菱電機株式会社
加熱調理器
6日前
三菱電機株式会社
半導体装置
1か月前
三菱電機株式会社
半導体装置
1か月前
三菱電機株式会社
半導体装置
1か月前
三菱電機株式会社
半導体装置
1か月前
三菱電機株式会社
電気掃除機
1か月前
三菱電機株式会社
半導体装置
23日前
三菱電機株式会社
ネジ取出機構
14日前
三菱電機株式会社
空気調和装置
14日前
三菱電機株式会社
車両制御装置
15日前
三菱電機株式会社
電力変換装置
13日前
三菱電機株式会社
給湯システム
6日前
三菱電機株式会社
貯湯式給湯機
3日前
三菱電機株式会社
空気処理装置
1か月前
三菱電機株式会社
電源システム
1か月前
三菱電機株式会社
回転電機装置
27日前
三菱電機株式会社
電力変換装置
23日前
三菱電機株式会社
給湯機システム
27日前
三菱電機株式会社
非常用照明装置
6日前
三菱電機株式会社
屋外設置用筐体
23日前
三菱電機株式会社
はんだ処理装置
1か月前
続きを見る
他の特許を見る