TOP
|
特許
|
意匠
|
商標
特許ウォッチ
Twitter
他の特許を見る
10個以上の画像は省略されています。
公開番号
2025136700
公報種別
公開特許公報(A)
公開日
2025-09-19
出願番号
2024035472
出願日
2024-03-08
発明の名称
照明装置
出願人
三菱電機株式会社
,
三菱電機照明株式会社
代理人
弁理士法人きさ特許商標事務所
主分類
F21S
8/02 20060101AFI20250911BHJP(照明)
要約
【課題】簡便に天井と器具本体との隙間を埋めることができる照明装置を提供する。
【解決手段】照明装置は、長尺形状をなし、被取付部に固定されるとともに、灯具が装着される器具本体と、器具本体の長手方向における端部に設置され、端部を覆うとともに、器具本体に対し、器具本体の長手方向に沿って、器具本体に対してスライド可能に取り付けられた端板と、を備えたものである。
【選択図】図5
特許請求の範囲
【請求項1】
長尺形状をなし、被取付部に固定されるとともに、灯具が装着される器具本体と、
前記器具本体の長手方向における端部に設置され、前記端部を覆うとともに、前記器具本体に対し、前記器具本体の前記長手方向に沿って、前記器具本体に対してスライド可能に取り付けられた端板と、
を備えた照明装置。
続きを表示(約 730 文字)
【請求項2】
前記端板は、
前記器具本体の端面に沿って配置される端板端面部と、
前記端板の上端から前記器具本体の方向に張り出している端板上面部と、
を有し、
前記端板上面部には、前記器具本体に形成され、前記長手方向に延びる貫通孔に係合される係合片が設けられている
請求項1に記載の照明装置。
【請求項3】
前記係合片は、
前記端板上面部から前記器具本体の方向に延びる起立部と、
前記起立部から屈曲して前記端板上面部と平行な方向に延びる屈曲部と、
により構成されており、
前記屈曲部は、
前記器具本体の前記貫通孔に係合し、
前記起立部は、
前記貫通孔の内部を前記長手方向にスライド可能である
請求項2に記載の照明装置。
【請求項4】
前記端板上面部と前記器具本体とを連結する連結具を更に有し、
前記貫通孔は、前記係合片が係合される第1貫通孔と、前記連結具が挿通される第2貫通孔と、を含み、
前記第1貫通孔を前記係合片が移動すると共に、前記第2貫通孔を前記連結具が移動され、前記連結具が締結されることで、前記器具本体に対する前記端板の位置が固定される
請求項3に記載の照明装置。
【請求項5】
前記器具本体の前記長手方向に沿った縁部を覆う目隠部と、
前記器具本体の前記長手方向における端面と、前記端板との間に配置され、前記器具本体に固定されるとともに、前記目隠部に固定されている接続具と、
を更に備えた
請求項1から請求項4のいずれか一項に記載の照明装置。
発明の詳細な説明
【技術分野】
【0001】
本開示は、照明装置に関し、特に、天井に取り付けられて使用される照明装置に関するものである。
続きを表示(約 2,100 文字)
【背景技術】
【0002】
照明装置において、光源モジュールを取り付けるための器具本体は、器具本体の取付部分である天井側の埋込穴の寸法に合わせて寸法を変化させる必要がある。埋込穴の寸法に合わせて寸法の異なる複数種類の光源モジュールを用意すると、製造コストが増大する一方で、異なる寸法の器具本体に対し、同じ寸法の光源モジュールを共通に使用した場合には、器具本体の端部と光源モジュールとの間隙が変化してしまう。特許文献1は、第1端板を上下いずれの向きでも使用できる構成とすることで、異なる寸法の器具本体に対応しようとするものである。
【先行技術文献】
【特許文献】
【0003】
特許第6248368号公報
【発明の概要】
【発明が解決しようとする課題】
【0004】
特許文献1の構成では、第1端板の上下を付け替える作業が発生し、作業が煩雑である。また、特許文献1には、第1端板を長手方向の長さが異なる製品に共通で使用できると記載されているものの、対応可能な寸法は、器具本体の片側で最大2種類、器具本体の両側でも最大4種類と限定的であり、取り付け部分の実寸法に合わせた微調整ができない。
【0005】
本開示は、簡便に天井と器具本体との隙間を埋めることができる照明装置を提供することを目的とする。
【課題を解決するための手段】
【0006】
本開示に係る照明装置は、長尺形状をなし、被取付部に固定されるとともに、灯具が装着される器具本体と、前記器具本体の長手方向における端部に設置され、前記端部を覆うとともに、前記器具本体に対し、前記器具本体の前記長手方向に沿って、前記器具本体に対してスライド可能に取り付けられた端板と、を備えたものである。
【発明の効果】
【0007】
本開示に係る照明装置によれば、端板が器具本体に対してスライド可能に取り付けられているため、照明装置の長手方向の寸法が無段階で調整することが可能となり、器具本体と端板との間隙、又は、器具本体と天井との間隙を確実に閉鎖することができる。
【図面の簡単な説明】
【0008】
本開示の実施の形態1に係る照明装置を上側から視た斜視図である。
本開示の実施の形態1に係る照明装置の分解斜視図である。
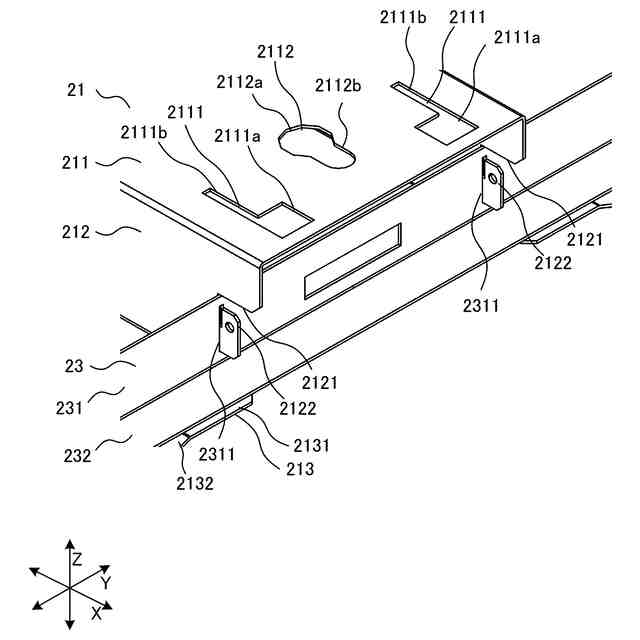
本開示の実施の形態1に係る照明装置の拡大分解斜視図である。
本開示の実施の形態1に係る照明装置の端板を照明器具の外側から視た斜視図である。
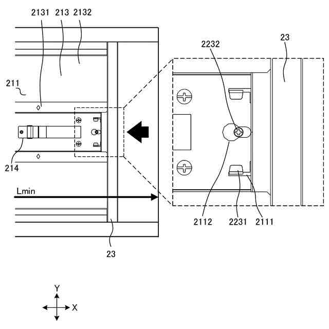
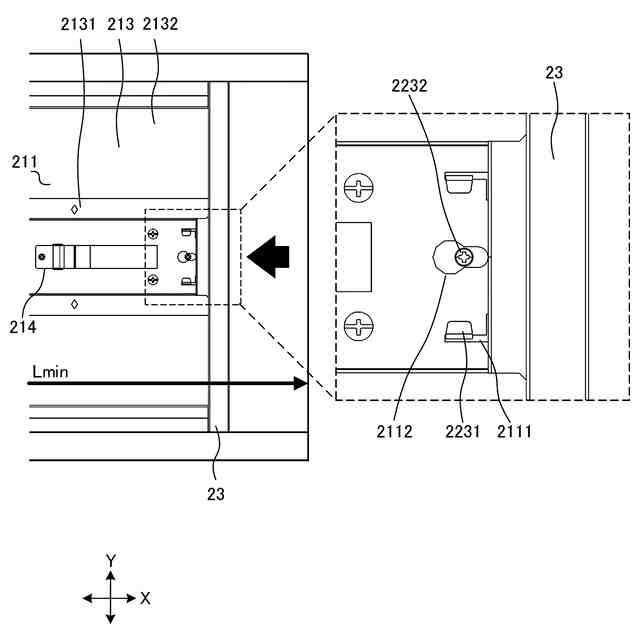
本開示の実施の形態1に係る照明装置が最小寸法である場合の下面図である。
本開示の実施の形態1に係る照明装置が最大寸法である場合の下面図である。
本開示の実施の形態1に係る照明装置の組立手順を説明する斜視図である。
本開示の実施の形態1に係る照明装置に接続具を固定する工程を説明する斜視図である。
本開示の実施の形態1に係る照明装置に目隠具を固定する工程を説明する斜視図である。
本開示の実施の形態1に係る照明装置に端板を連結する工程を説明する斜視図である。
本開示の実施の形態1に係る照明装置に端板を連結する工程を説明する下面図である。
本開示の実施の形態1の変形例に係る照明装置の拡大斜視図である。
【発明を実施するための形態】
【0009】
以下、本開示に係る照明装置の実施の形態を、図面を参照して説明する。本開示は、以下の実施の形態に限定されるものではなく、本開示の主旨を逸脱しない範囲で種々に変形することが可能である。また、本開示は、以下の各実施の形態に示す構成のうち、組み合わせ可能な構成のあらゆる組み合わせを含むものである。特に構成要素の組み合わせは、各実施の形態における組み合わせのみに限定するものではなく、一の実施の形態に記載した構成要素を別の実施の形態に適用することができる。また、図面に示す照明装置は、本開示の照明装置の一例を示すものであり、図面に示された照明装置によって本開示の照明装置が限定されるものではない。また、以下の説明において、理解を容易にするために方向を表す用語(例えば「上」、「下」、「右」、「左」、「前」、「後」など)を適宜用いるが、これらは説明のためのものであって、本開示を限定するものではない。また、各図において、同一の符号を付したものは、同一の又はこれに相当するものであり、これは明細書の全文において共通している。なお、各図面では、各構成部材の相対的な寸法関係又は形状等が実際のものとは異なる場合がある。
【0010】
実施の形態1.
<照明装置1>
図1は、本開示の実施の形態1に係る照明装置1を上側から視た斜視図である。図2は、本開示の実施の形態1に係る照明装置1の分解斜視図である。図3は、本開示の実施の形態1に係る照明装置1の拡大分解斜視図である。図4は、本開示の実施の形態1に係る照明装置1の端板22を照明器具2の外側から視た斜視図である。
(【0011】以降は省略されています)
この特許をJ-PlatPat(特許庁公式サイト)で参照する
関連特許
三菱電機株式会社
冷蔵庫
1か月前
三菱電機株式会社
計測器
1か月前
三菱電機株式会社
給湯機
2か月前
三菱電機株式会社
照明装置
1か月前
三菱電機株式会社
回転電機
1か月前
三菱電機株式会社
回転電機
6日前
三菱電機株式会社
換気装置
1か月前
三菱電機株式会社
照明装置
1か月前
三菱電機株式会社
照明装置
1か月前
三菱電機株式会社
照明器具
1か月前
三菱電機株式会社
回転電機
16日前
三菱電機株式会社
回転電機
1か月前
三菱電機株式会社
照明装置
1か月前
三菱電機株式会社
照明器具
2か月前
三菱電機株式会社
回転電機
1か月前
三菱電機株式会社
送風装置
2か月前
三菱電機株式会社
照明装置
16日前
三菱電機株式会社
電子機器
1か月前
三菱電機株式会社
照明装置
27日前
三菱電機株式会社
照明器具
1か月前
三菱電機株式会社
回路遮断器
1か月前
三菱電機株式会社
回路遮断器
1か月前
三菱電機株式会社
電気掃除機
1か月前
三菱電機株式会社
加熱調理器
1か月前
三菱電機株式会社
半導体装置
1か月前
三菱電機株式会社
加熱調理器
9日前
三菱電機株式会社
半導体装置
1か月前
三菱電機株式会社
半導体装置
26日前
三菱電機株式会社
半導体装置
1か月前
三菱電機株式会社
半導体装置
10日前
三菱電機株式会社
加熱調理器
1か月前
三菱電機株式会社
半導体装置
1か月前
三菱電機株式会社
半導体装置
1か月前
三菱電機株式会社
半導体装置
16日前
三菱電機株式会社
半導体装置
2か月前
三菱電機株式会社
半導体装置
2か月前
続きを見る
他の特許を見る