TOP
|
特許
|
意匠
|
商標
特許ウォッチ
Twitter
他の特許を見る
10個以上の画像は省略されています。
公開番号
2025136874
公報種別
公開特許公報(A)
公開日
2025-09-19
出願番号
2024035787
出願日
2024-03-08
発明の名称
回転電機
出願人
三菱電機株式会社
代理人
個人
,
個人
,
個人
,
個人
主分類
H02K
11/225 20160101AFI20250911BHJP(電力の発電,変換,配電)
要約
【課題】静電誘導により検出部が電荷を帯びることを回避し、回転角演算部でのノイズによる検出精度の悪化を抑制すること。
【解決手段】回転電機は、回転可能に支持された回転軸と、前記回転軸に固定され、前記回転軸と一体に回転する回転子と、前記回転軸の第1端部に結合した絶縁体と、前記絶縁体に結合した導電性の被検出部と、前記回転軸の軸方向に前記被検出部と対向して設けられ、前記被検出部に誘導電流を発生させる磁場を送信する送信部、および前記被検出部に発生した誘導電流による磁場を受信する受信部を有する検出部と、前記受信部の出力電圧に基づいて前記回転子の回転位置を演算する回転角演算部と、を備え、前記回転軸と前記被検出部とが絶縁されている。
【選択図】図1
特許請求の範囲
【請求項1】
回転可能に支持された回転軸と、
前記回転軸に固定され、前記回転軸と一体に回転する回転子と、
前記回転軸の第1端部に結合した絶縁体と、
前記絶縁体に結合した導電性の被検出部と、
前記回転軸の軸方向に前記被検出部と対向して設けられ、前記被検出部に誘導電流を発生させる磁場を送信する送信部、および前記被検出部に発生した誘導電流による磁場を受信する受信部を有する検出部と、
前記受信部の出力電圧に基づいて前記回転子の回転位置を演算する回転角演算部と、を備え、
前記回転軸と前記被検出部とが絶縁されている、回転電機。
続きを表示(約 1,000 文字)
【請求項2】
前記送信部は、高周波の交流電流が流れる送信コイルを有し、
前記受信部は、Nを偶数とするとき、N個のループを有し、互いに隣接する前記ループは互いに異なる方向に巻かれた第1受信コイル、および、前記第1受信コイルと同形状で、前記第1受信コイルから180/N°だけ周方向の角度が異なるように配置された第2受信コイルを有し、
前記回転角演算部は、前記第1受信コイルの両端部の出力電圧および前記第2受信コイルの両端部の出力電圧を計測し、前記回転軸の回転角度を演算する、
請求項1に記載の回転電機。
【請求項3】
前記被検出部は、前記絶縁体に結合した金属板である、請求項1に記載の回転電機。
【請求項4】
前記被検出部は、前記絶縁体に塗布された金属めっきである、請求項1に記載の回転電機。
【請求項5】
前記被検出部は、非磁性体である、請求項1から4のいずれか一項に記載の回転電機。
【請求項6】
前記絶縁体は、非磁性絶縁体であり、
前記回転軸と、前記被検出部とが電気的および磁性的に絶縁されている、請求項1から4のいずれか一項に記載の回転電機。
【請求項7】
前記回転軸と前記絶縁体との間に、非磁性絶縁体をさらに備え、
前記回転軸と、前記被検出部とが電気的および磁性的に絶縁されている、請求項1から4のいずれか一項に記載の回転電機。
【請求項8】
固定子と、
前記固定子に電圧を印加するインバータ、および前記インバータの印加電圧を制御する制御部を有するインバータユニットと、をさらに備え、
前記検出部は、前記インバータユニットの前記回転軸を向く面上に設けられる、請求項1から4のいずれか一項に記載の回転電機。
【請求項9】
固定子と、
前記固定子に電圧を印加するインバータ、および前記インバータの印加電圧を制御する制御部を有するインバータユニットと、をさらに備え、
前記制御部および前記検出部は同一平面上にある、請求項1から4のいずれか1項に記載の回転電機。
【請求項10】
固定子と、
前記固定子に電圧を印加するインバータ、および前記インバータの印加電圧を制御する制御部を有するインバータユニットと、をさらに備え、
前記制御部および前記検出部は同一基板上にある、請求項1から4のいずれか1項に記載の回転電機。
発明の詳細な説明
【技術分野】
【0001】
本開示は、回転電機に関する。
続きを表示(約 2,900 文字)
【背景技術】
【0002】
特許文献1のように、回転する導電性材料からなる非円形のカプラを、回路基板に向かい合うように設置した位置センサが知られている。特許文献1の回路基板は送信コイル、第1の受信コイル、および第2の受信コイルを有する。このような位置センサのカプラを回転電機の回転軸に設置することで、回転軸の回転角度を検出することが可能となる。
【先行技術文献】
【特許文献】
【0003】
特表2013-518247公報
【発明の概要】
【発明が解決しようとする課題】
【0004】
一般的に、回転軸はモータ内部の回転子と直結しているため、モータ回転時に電荷を帯びる。特許文献1の構成において、回転軸先端に取り付けられたカプラ(被検出部)と、被検出部に対向するよう配置された回路基板(検出部)は、数mm程度の近い距離で向かい合っており、静電誘導によって電荷を帯びる。この電荷により、回転角演算部にノイズが生じ、誤動作および角度誤差の要因となる場合がある。
【0005】
本開示は、前述した事情に鑑みて、静電誘導により検出部が電荷を帯びることを回避し、回転角演算部でのノイズによる検出精度の悪化を抑制することが可能な回転電機を提供することを目的とする。
【課題を解決するための手段】
【0006】
本開示における回転電機は、回転可能に支持された回転軸と、前記回転軸に固定され、前記回転軸と一体に回転する回転子と、前記回転軸の第1端部に結合した絶縁体と、前記絶縁体に結合した導電性の被検出部と、前記回転軸の軸方向に前記被検出部と対向して設けられ、前記被検出部に誘導電流を発生させる磁場を送信する送信部、および前記被検出部に発生した誘導電流による磁場を受信する受信部を有する検出部と、前記受信部の出力電圧に基づいて前記回転子の回転位置を演算する回転角演算部と、を備え、前記回転軸と前記被検出部とが絶縁されている。
【発明の効果】
【0007】
本開示によれば、静電誘導により検出部が電荷を帯びることを回避し、回転角演算部でのノイズによる検出精度の悪化を抑制することが可能な回転電機を提供できる。
【図面の簡単な説明】
【0008】
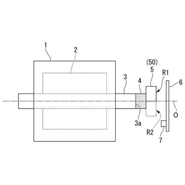
本開示の実施の形態1における回転電機の全体構成を示す構成図である。
本開示の実施の形態1における検出部の平面図である。
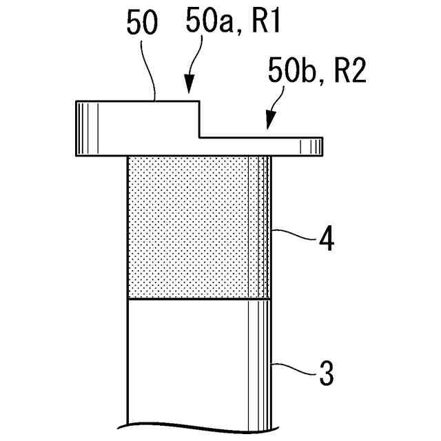
本開示の実施の形態1における被検出部(金属板)の形状を説明する図であり、図1に示す回転軸、絶縁体、および被検出部の上面図である。
図3Aの回転軸、絶縁体、および被検出部を示す側面図である。
本開示の実施の形態1におけるその他の被検出部の形状を説明する図であり、回転軸、絶縁体、および被検出部を示す上面図である。
図3Cの回転軸、絶縁体、および被検出部を示す側面図である。
本開示の実施の形態1におけるその他の被検出部の形状を説明する図であり、回転軸、絶縁体、および被検出部を示す上面図である。
図3Eの回転軸、絶縁体、および被検出部を示す側面図である。
実施の形態1における回転軸、および絶縁体の結合方法を説明する図である。
実施の形態1における回転軸、および絶縁体のその他の結合方法を説明する図である。
実施の形態1における回転軸、および絶縁体のその他の結合方法を説明する図である。
実施の形態1における回転軸、および絶縁体のその他の結合方法を説明する図である。
実施の形態1における被検出部の形状と、回転軸、絶縁体、および被検出部の結合方法との一例を説明する図であり、回転軸、絶縁体、および被検出部の上面図である。
図5Aに示す回転軸、絶縁体、および被検出部の側面図である。
図5Aに示す回転軸、絶縁体、および被検出部の斜視図である。
本開示の実施の形態2における回転電機の全体構成を示す構成図である。
本開示の実施の形態2における検出部の平面図である。
本開示の実施の形態2における回転軸、絶縁体、および金属めっきの配置の一例を説明する上面図である。
図8Aの回転軸、絶縁体、および金属めっきを示す側面図である。
本開示の実施の形態2における回転軸、絶縁体、および金属めっきの配置のその他の例を説明する上面図である。
図8Cの回転軸、絶縁体、および金属めっきを示す側面図である。
本開示の実施の形態2における回転軸、絶縁体、および金属めっきの配置のその他の例を説明する上面図である。
図8Eの回転軸、絶縁体、および金属めっきを示す側面図である。
本開示の実施の形態2における回転軸、絶縁体、および金属めっきの配置のその他の例を説明する上面図である。
図8Gの回転軸、絶縁体、および金属めっきを示す側面図である。
本開示の実施の形態3における回転電機の全体構成を示す構成図の一例である。
本開示の実施の形態3における回転電機のその他の例を示す図である。
本開示の実施の形態4における回転電機の全体構成を示す構成図の一例である。
本開示の実施の形態4における回転電機のその他の例を示す図である。
本開示の実施の形態5における回転電機の全体構成を示す構成図の一例である。
本開示の実施の形態5における回転電機のその他の例を示す図である。
【発明を実施するための形態】
【0009】
<実施の形態1>
以下、実施の形態1における回転電機1について、図面を参照して説明する。
図1は、回転電機1の全体図である。回転電機1は、回転子2と、回転軸3と、回転軸3の第1端部3aに結合された絶縁体4と、絶縁体4に結合された被検出部5と、被検出部5と対向するように配置された検出部6と、回転角演算部7と、を備える。
被検出部5は、導電性を有する材料から形成されており、回転軸3の第1端部3aの端面の一部と重なる領域に設けられる。本実施の形態においては、被検出部5は、金属の板で形成された金属板50である。
回転軸3、絶縁体4、および金属板50は一体となっており、回転軸3の軸心Oを中心として回転する。また、回転軸3の回転角度を検出するため、検出部6には回転角演算部7が搭載されている。
回転軸3に接続された回転子2は、モータ筐体の内部に設けられている。
【0010】
本明細書では、回転軸3の軸心Oに沿う方向を「軸方向」という。また、軸方向から見て、回転軸3の軸心Oと交差する方向を「径方向」といい、回転軸3の軸心O回りに周回する方向を「周方向」という。
(【0011】以降は省略されています)
この特許をJ-PlatPat(特許庁公式サイト)で参照する
関連特許
三菱電機株式会社
照明装置
1か月前
三菱電機株式会社
回転電機
15日前
三菱電機株式会社
電子機器
今日
三菱電機株式会社
回転電機
25日前
三菱電機株式会社
照明装置
25日前
三菱電機株式会社
半導体装置
19日前
三菱電機株式会社
半導体装置
1か月前
三菱電機株式会社
半導体装置
5日前
三菱電機株式会社
半導体装置
25日前
三菱電機株式会社
加熱調理器
18日前
三菱電機株式会社
貯湯式給湯機
15日前
三菱電機株式会社
電力変換装置
1か月前
三菱電機株式会社
電力変換装置
25日前
三菱電機株式会社
車両制御装置
27日前
三菱電機株式会社
照明システム
5日前
三菱電機株式会社
空気調和装置
26日前
三菱電機株式会社
ネジ取出機構
26日前
三菱電機株式会社
給湯システム
18日前
三菱電機株式会社
電動機制御装置
11日前
三菱電機株式会社
非常用照明装置
18日前
三菱電機株式会社
送電線保護装置
25日前
三菱電機株式会社
屋外設置用筐体
1か月前
三菱電機株式会社
電流切替型DAC
5日前
三菱電機株式会社
照明制御システム
25日前
三菱電機株式会社
風力発電システム
15日前
三菱電機株式会社
変圧器の診断方法
1か月前
三菱電機株式会社
ウエハテスト装置
25日前
三菱電機株式会社
換気空調システム
15日前
三菱電機株式会社
空気清浄システム
18日前
三菱電機株式会社
照明制御システム
12日前
三菱電機株式会社
コントロールセンタ
25日前
三菱電機株式会社
半導体装置の製造方法
1か月前
三菱電機株式会社
照明器具及び照明装置
25日前
三菱電機株式会社
室外機および空気調和装置
25日前
三菱電機株式会社
車両空調機用診断システム
今日
三菱電機株式会社
冷蔵庫及び冷蔵庫システム
27日前
続きを見る
他の特許を見る