TOP
|
特許
|
意匠
|
商標
特許ウォッチ
Twitter
他の特許を見る
10個以上の画像は省略されています。
公開番号
2025140381
公報種別
公開特許公報(A)
公開日
2025-09-29
出願番号
2024039742
出願日
2024-03-14
発明の名称
治具、及び加工システム
出願人
セイコーエプソン株式会社
代理人
個人
,
個人
,
個人
主分類
B29C
64/245 20170101AFI20250919BHJP(プラスチックの加工;可塑状態の物質の加工一般)
要約
【課題】三次元造形物の裏面側の加工に要する手間を軽減することができる治具を提供すること。
【解決手段】加工される対象の部材である被加工部材を保持する治具であって、第1方向に向かって互いに平行な複数個の第1貫通孔が形成された第1部材と、複数個の第1貫通孔のそれぞれへ摺動可能に挿通される棒状の複数個の中空部材と、複数個の中空部材のそれぞれが第1貫通孔から第1方向に向かって突出する長さを調整する突出長調整部と、を備え、複数個の第1貫通孔の少なくとも一部は、第1方向と交差する第2方向と、第1方向及び第2方向と交差する第3方向とのそれぞれと平行に並んでおり、複数個の中空部材それぞれの第1方向における第1端部には、複数個の中空部材のうちの一部とともに被加工部材を固定する第1固定部材が取り付け可能な第1固定部材取付部が形成されている、治具。
【選択図】図4
特許請求の範囲
【請求項1】
加工される対象の部材である被加工部材を保持する治具であって、
第1方向に向かって互いに平行な複数個の第1貫通孔が形成された第1部材と、
前記複数個の前記第1貫通孔のそれぞれへ摺動可能に挿通される棒状の前記複数個の中空部材と、
前記複数個の前記中空部材のそれぞれが前記第1貫通孔から前記第1方向に向かって突出する長さを調整する突出長調整部と、
を備え、
前記複数個の前記第1貫通孔の少なくとも一部は、前記第1方向と交差する第2方向と、前記第1方向及び前記第2方向と交差する第3方向とのそれぞれと平行に並んでおり、
前記複数個の前記中空部材それぞれの前記第1方向における第1端部には、前記複数個の前記中空部材のうちの一部とともに前記被加工部材を固定する第1固定部材が取り付け可能な第1固定部材取付部が形成されている、
治具。
続きを表示(約 1,200 文字)
【請求項2】
前記突出長調整部は、前記複数個の前記中空部材の状態を、前記複数個の前記中空部材のそれぞれが前記第1貫通孔から前記第1方向に向かって所定長さ突出している第1状態と、前記複数個の前記中空部材のそれぞれが前記第1貫通孔から突出していない第2状態とのいずれかに調整する、
請求項1に記載の治具。
【請求項3】
前記第1固定部材取付部は、前記複数個の前記中空部材それぞれの前記第1端部の内縁に形成された雌ねじであり、
前記第1固定部材は、前記第1固定部材取付部へ雄ねじによって取り付けられる、
請求項1に記載の治具。
【請求項4】
前記複数個の前記中空部材それぞれの前記第1端部と反対の第2端部から空気を吸引する真空吸着部を備える、
請求項1に記載の治具。
【請求項5】
前記複数個の前記第1貫通孔に対応する位置に前記複数個の第2貫通孔が形成され、前記複数個の前記第2貫通孔のそれぞれへ摺動可能に前記中空部材が挿通される第2部材を備え、
前記第2部材は、前記第1方向に向かって前記第2部材、前記第1部材の順に並ぶように前記第1部材と対向して配置され、
前記複数個の前記第1貫通孔のそれぞれは、前記中空部材との隙間が前記第2部材に向かって大きくなる空隙部を有し、
前記第1部材と前記第2部材との間には、前記複数個の前記空隙部へ挿通される前記複数個の第2固定部材が配置され、
前記複数個の前記第2固定部材が有する端部のうち前記第1方向と反対の方向側の端部は、前記第2部材に固定され、
前記複数個の前記中空部材は、前記第2部材を前記第1部材に近づけることによって前記第2固定部材が前記空隙部内に押し込まれると、前記第1部材に固定される、
請求項1に記載の治具。
【請求項6】
前記第2固定部材の形状は、前記第1方向に向かって細くなるくさび形状である、
請求項5に記載の治具。
【請求項7】
前記複数個の前記中空部材のうちの一部を前記第1貫通孔から前記第1方向に向かって突出させないように前記複数個の前記第1貫通孔のうちの一部を覆うマスク部材を備える、
請求項1に記載の治具。
【請求項8】
前記マスク部材は、前記被加工部材の一部である、
請求項7に記載の治具。
【請求項9】
前記第1固定部材は、前記複数個の前記中空部材のうちの一部との間で前記被加工部材を挟んで保持する爪部材である、
請求項1に記載の治具。
【請求項10】
前記第1固定部材は、前記被加工部材の一部である、
請求項1に記載の治具。
(【請求項11】以降は省略されています)
発明の詳細な説明
【技術分野】
【0001】
この開示は、治具、及び加工システムに関する。
続きを表示(約 2,100 文字)
【背景技術】
【0002】
特許文献1には、三次元造形物の製造方法において、ステージ上に積層された造形材料の一部を、切削工具を用いて切断することにより、所望の形状の三次元造形物を造形することが開示されている。
【先行技術文献】
【特許文献】
【0003】
特開2020-104439号公報
【発明の概要】
【発明が解決しようとする課題】
【0004】
従来の技術では、三次元造形物の裏面側を加工することが考慮されていなかった。
【課題を解決するための手段】
【0005】
上記課題を解決するために本開示の一態様は、加工される対象の部材である被加工部材を保持する治具であって、第1方向に向かって互いに平行な複数個の第1貫通孔が形成された第1部材と、前記複数個の前記第1貫通孔のそれぞれへ摺動可能に挿通される棒状の前記複数個の中空部材と、前記複数個の前記中空部材のそれぞれが前記第1貫通孔から前記第1方向に向かって突出する長さを調整する突出長調整部と、を備え、前記複数個の前記第1貫通孔の少なくとも一部は、前記第1方向と交差する第2方向と、前記第1方向及び前記第2方向と交差する第3方向とのそれぞれと平行に並んでおり、前記複数個の前記中空部材それぞれの前記第1方向における第1端部には、前記複数個の前記中空部材のうちの一部とともに前記被加工部材を固定する第1固定部材が取り付け可能な第1固定部材取付部が形成されている、治具である。
【図面の簡単な説明】
【0006】
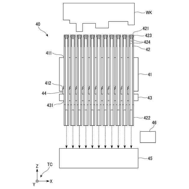
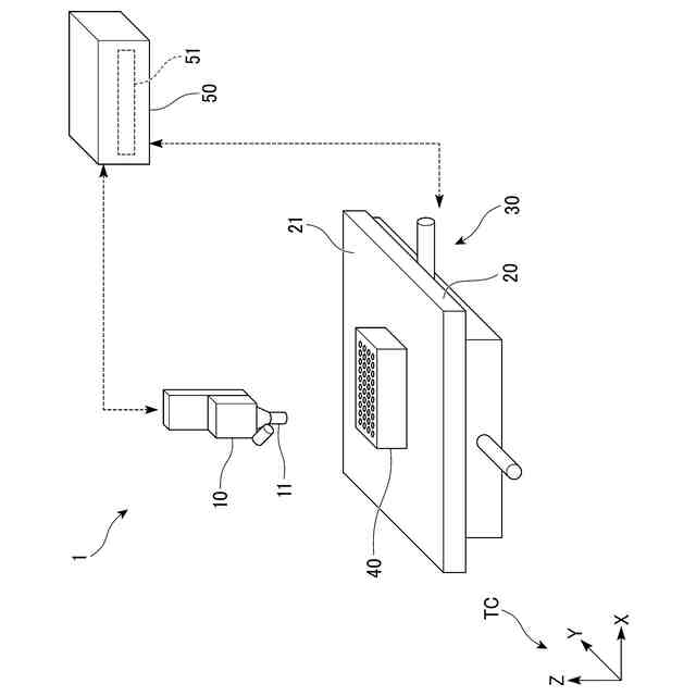
加工システム1の構成の一例を示す図である。
被加工部材WKの表面の一例を示す図である。
図2に示した被加工部材の裏面の一例を示す図である。
治具40の構成の一例を示す概略断面図である。
治具40の動作を説明するための図である。
治具40を用いて被加工部材WKを保持する保持方法の流れの一例を示す図である。
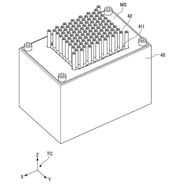
複数個の中空部材42の状態が第2状態である場合の治具40の一例を示す斜視図である。
図7に示した治具40の第1部材41の上面にマスク部材MSが取り付けられた様子の一例を示す斜視図である。
図8に示した治具40においてマスク部材MSによって覆われていない複数個の中空部材42の状態が第1状態にされた様子の一例を示す斜視図である。
図9に示した治具40において第1状態となっている複数個の中空部材42の一部に被加工部材WKの表面が押し付けられている様子の一例を示す斜視図である。
図10に示した治具40の中空部材42のうちの4個の中空部材42のそれぞれに第1固定部材FXが取り付けられた様子の一例を示す図である。
図11に示した治具40に対してステップS160の手順が行われた様子の一例を示す断面図である。
第1固定部材FXとして駄肉部が形成された被加工部材WKの表面の一例を示す図である。
図13に示した被加工部材WKの裏面の一例を示す図である。
マスク部材MSと一体に構成された被加工部材WKの表面の一例を示す図である。
図15に示した被加工部材WKの裏面の一例を示す図である。
治具40に保持された被加工部材WKを切削加工する加工方法の流れの一例を示す図である。
治具40に保持された被加工部材WKへの切削加工が加工部10により行われている様子の一例を示す斜視図である。
【発明を実施するための形態】
【0007】
<実施形態>
以下、本開示の実施形態について、図面を参照して説明する。
【0008】
<加工システムの概要>
まず、実施形態に係る加工システムの概要について説明する。
【0009】
実施形態に係る加工システムは、治具と、加工部とを備える。治具は、加工される対象の部材である被加工部材を保持する。具体的には、治具は、第1方向に向かって互いに平行な複数個の第1貫通孔が形成された第1部材と、当該複数個の第1貫通孔のそれぞれへ摺動可能に挿通される棒状の当該複数個の中空部材と、当該複数個の中空部材のそれぞれが第1貫通孔から第1方向に向かって突出する長さを調整する突出長調整部と、を備える。また、当該複数個の第1貫通孔の少なくとも一部は、第1方向と交差する第2方向と、第1方向及び第2方向と交差する第3方向とのそれぞれと平行に並んでいる。また、当該複数個の中空部材それぞれの第1方向における第1端部には、当該複数個の中空部材のうちの一部とともに被加工部材を固定する第1固定部材が取り付け可能な第1固定部材取付部が形成されている。そして、加工部は、治具によって保持された被加工部材へ、切削工具による加工を行う。
【0010】
これにより、実施形態に係る加工システムは、三次元造形物の裏面側の加工に要する手間を軽減することができる。
(【0011】以降は省略されています)
この特許をJ-PlatPat(特許庁公式サイト)で参照する
関連特許
個人
気泡緩衝材減容装置
8日前
東レ株式会社
吹出しノズル
10か月前
豊田鉄工株式会社
金型
2か月前
CKD株式会社
型用台車
9か月前
シーメット株式会社
光造形装置
9か月前
東レ株式会社
フィルムの製造方法
2か月前
東レ株式会社
フィルムの製造方法
6か月前
株式会社日本製鋼所
押出機
12か月前
東レ株式会社
フィルムの製造方法
3か月前
個人
射出ミキシングノズル
11か月前
グンゼ株式会社
ピン
9か月前
株式会社カワタ
計量混合装置
4か月前
株式会社FTS
ロッド
8か月前
日機装株式会社
加圧システム
5か月前
東レ株式会社
フィルムの製造方法。
2か月前
個人
樹脂可塑化方法及び装置
8か月前
NOK株式会社
樹脂ゴム複合体
29日前
東レ株式会社
樹脂フィルムの製造方法
4か月前
株式会社漆原
シートの成形方法
4か月前
株式会社シロハチ
真空チャンバ
11か月前
トヨタ自動車株式会社
射出装置
6か月前
株式会社FTS
成形装置
9か月前
株式会社不二越
射出成形機
4か月前
株式会社不二越
射出成形機
1か月前
株式会社不二越
射出成形機
5か月前
東レ株式会社
炭素繊維シートの製造方法
5か月前
株式会社不二越
射出成形機
6か月前
株式会社神戸製鋼所
混練機
7か月前
株式会社コスメック
射出成形装置
4か月前
株式会社FTS
セパレータ
8か月前
株式会社リコー
画像形成システム
10か月前
株式会社不二越
射出成形機
5か月前
日産自動車株式会社
成形装置
2か月前
三和合板株式会社
化粧板の製造装置
1か月前
東レ株式会社
繊維強化プラスチック構造体
1か月前
日東工業株式会社
インサート成形機
10か月前
続きを見る
他の特許を見る