TOP
|
特許
|
意匠
|
商標
特許ウォッチ
Twitter
他の特許を見る
10個以上の画像は省略されています。
公開番号
2025140433
公報種別
公開特許公報(A)
公開日
2025-09-29
出願番号
2024039839
出願日
2024-03-14
発明の名称
虚像表示装置及び光学ユニット
出願人
セイコーエプソン株式会社
代理人
個人
,
個人
,
個人
主分類
G02B
27/02 20060101AFI20250919BHJP(光学)
要約
【課題】虚像表示装置の結像系を薄型化すること。
【解決手段】虚像表示装置100A,100B又は光学ユニット100は、映像光MLを射出する表示器40と、表示器40に対向して配置され、映像光MLの偏光に対して選択的に作用する屈折力を有する偏光選択レンズ50aと、を備え、偏光選択レンズ50aは、表示器40側から順に、円偏光の映像光MLに対して正の屈折力を持ち円偏光の外界光OLに対して負の屈折力を持つ偏光回折レンズ51と、偏光回折レンズ51と同等の正の屈折力を持つ補助レンズ52とを有する。
【選択図】図2
特許請求の範囲
【請求項1】
映像光を射出する表示器と、
前記表示器に対向して配置され、前記映像光の偏光に対して選択的に作用する屈折力を有する偏光選択レンズと、
を備え、
前記偏光選択レンズは、前記表示器側から順に、円偏光の前記映像光に対して正の屈折力を持ち円偏光の外界光に対して負の屈折力を持つ偏光回折レンズと、前記偏光回折レンズと同等の正の屈折力を持つ補助レンズとを有する、
虚像表示装置。
続きを表示(約 940 文字)
【請求項2】
前記表示器は、前記偏光選択レンズの前記表示器側に配置され前記映像光と前記外界光とで異なる偏光成分を持たせる偏光分離部材と、所定の直線偏光を所定の円偏光にする1/4波長板とを有する、
請求項1に記載の虚像表示装置。
【請求項3】
前記偏光回折レンズは、平面内で屈折率異方性の分布が形成され、所定の円偏光に対してレンズ形状に対応する幾何学的位相を生じさせる、
請求項1に記載の虚像表示装置。
【請求項4】
前記補助レンズは、前記偏光回折レンズを経て第1円偏光から第2円偏光になった前記映像光に屈折作用を持たせる、
請求項1に記載の虚像表示装置。
【請求項5】
前記偏光回折レンズは、前記映像光を前記第1円偏光である左円偏光から前記第2円偏光である右円偏光にし、前記外界光を前記第2円偏光である右円偏光から前記第1円偏光である左円偏光にする、
請求項4に記載の虚像表示装置。
【請求項6】
前記補助レンズは、屈折型レンズ及び回折型レンズのいずれかである、
請求項1に記載の虚像表示装置。
【請求項7】
前記屈折型レンズは、凸レンズ及びフレネルレンズのいずれかである、
請求項6に記載の虚像表示装置。
【請求項8】
前記回折型レンズは、フレネルゾーンプレート及び液晶レンズのいずれかである、
請求項6に記載の虚像表示装置。
【請求項9】
前記偏光分離部材は、前記映像光のうち特定方向の第1偏光を前記偏光選択レンズに向けて反射させ、前記外界光のうち前記第1偏光に直交する第2偏光を透過させる偏光ハーフミラーである、
請求項2に記載の虚像表示装置。
【請求項10】
前記偏光分離部材は、前記映像光を形成する発光領域と前記外界光を透過させる透過領域とを有する画像表示パネルと、前記画像表示パネルと前記偏光選択レンズとの間に配置され前記発光領域と前記透過領域とで異なる偏光成分を持たせるパターン偏光素子である、
請求項2に記載の虚像表示装置。
(【請求項11】以降は省略されています)
発明の詳細な説明
【技術分野】
【0001】
本発明は、虚像の観察を可能にする虚像表示装置及び光学ユニットに関し、特に偏光回折レンズを用いた虚像表示装置等に関する。
続きを表示(約 2,200 文字)
【背景技術】
【0002】
偏光変換システムとして、幾何学的位相素子とリターダ素子とを備えるものが公知となっている(特許文献1参照)。幾何学的位相素子は、表面に沿って少なくとも1つの次元で非線形に変化する局所的な光軸方向を備えた光学異方性を有している。リターダ素子は、幾何学的位相素子から出力される光を受け取るように配置されている。
【先行技術文献】
【特許文献】
【0003】
特表2016-519327号公報
【発明の概要】
【発明が解決しようとする課題】
【0004】
上記偏光変換システムのうち幾何学的位相素子は、右円偏光に対して集光作用が機能し、左円偏光に対して発散作用が機能する。そのため、虚像表示装置に特許文献1のシステムを単純に適用しても、映像観察と外光観察との両立が難しい。シースルー型の虚像表示装置とする場合、幾何学的位相素子をシースルーの領域から外した位置に配置する必要があるため、光学系が大型化するという問題がある。
【課題を解決するための手段】
【0005】
本発明の一側面における虚像表示装置及び光学ユニットは、映像光を射出する表示器と、表示器に対向して配置され、映像光の偏光に対して選択的に作用する屈折力を有する偏光選択レンズと、を備え、偏光選択レンズは、表示器側から順に、円偏光の映像光に対して正の屈折力を持ち円偏光の外界光に対して負の屈折力を持つ偏光回折レンズと、偏光回折レンズと同等の正の屈折力を持つ補助レンズとを有する。
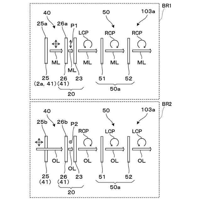
【図面の簡単な説明】
【0006】
第1実施形態の虚像表示装置の装着状態を説明する外観正面図である。
虚像表示装置の構造を説明する概念的な斜視図である。
表示光学系の構成を説明する概念的な側方断面図である。
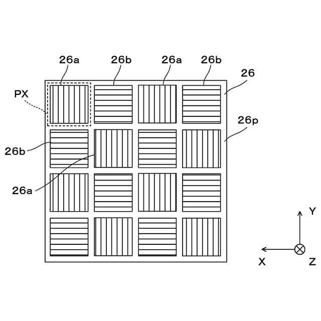
画像表示パネルを説明する背面図である。
パターン偏光素子を説明する背面図である。
偏光回折レンズの機能を説明する図である。
表示光学系における光の状態を説明する図である。
第2実施形態の虚像表示装置を説明する概念的な側方断面図である。
第3実施形態の虚像表示装置を説明する概念的な側方断面図である。
第4実施形態の虚像表示装置を説明する概念的な側方断面図である。
第5実施形態の虚像表示装置の構造を説明する概念的な斜視図である。
図11の表示光学系の構成を説明する概念的な側方断面図である。
図11の表示光学系における光の状態を説明する図である。
図11の虚像表示装置の動作を説明するチャートである。
第6実施形態の虚像表示装置の表示光学系の構成及び光の状態を説明する概念的な側方断面図である。
図15の虚像表示装置の動作を説明するチャートである。
【発明を実施するための形態】
【0007】
〔第1実施形態〕
以下、図1~7を参照して、本発明の第1実施形態に係る虚像表示装置について説明する。
【0008】
図1は、ヘッドマウントディスプレイ、すなわち頭部装着型表示装置200の装着状態を説明する正面図である。頭部装着型表示装置(以下、HMDとも称する。)200は、これを装着する観察者又は装着者USに虚像としての映像を認識させる。図1等において、X、Y、及びZは、直交座標系であり、+X方向は、HMD200を装着した観察者又は装着者USの両眼EYの並ぶ横方向に対応し、+Y方向は、装着者USにとっての両眼EYの並ぶ横方向に直交する上方向に相当し、+Z方向は、装着者USにとっての前方向又は正面方向に相当する。±Y方向は、鉛直軸又は鉛直方向に平行になっている。
【0009】
HMD200は、右眼用の第1虚像表示装置100Aと、左眼用の第2虚像表示装置100Bと、虚像表示装置100A,100Bを支持する一対のテンプル100Cと、情報端末であるユーザー端末90とを備える。第1虚像表示装置100Aは、上部に配置される第1表示駆動部102aと、眼前を覆う第1表示光学系103aとで構成される。第2虚像表示装置100Bは、上部に配置される第2表示駆動部102bと、眼前を覆う第2表示光学系103bとで構成される。第1虚像表示装置100Aと、第2虚像表示装置100Bとを組み合わせたHMD200は、広義の虚像表示装置でもある。一対のテンプル100Cは、装着者USの頭部に装着される装着部材又は支持装置106であり、外観上一体化されている表示駆動部102a,102bを介して一対の表示光学系103a,103bの上端側を支持している。一対の表示駆動部102a,102bを組み合わせたものを駆動装置102と呼ぶ。
【0010】
図2は、第1虚像表示装置100Aの第1表示光学系103aの構造を説明する概念的な斜視図である。図3は、第1表示光学系103aの構成を説明する概念的な側方断面図である。第1表示光学系103aは、2次元的な画像を形成しこれに対応する映像光MLを射出する板状の表示器40と、表示器40から射出された映像光MLに対してレンズとして機能し虚像を形成する結像系50とを備える。
(【0011】以降は省略されています)
この特許をJ-PlatPat(特許庁公式サイト)で参照する
関連特許
カンタツ株式会社
光学系
29日前
日本精機株式会社
表示装置
1か月前
日本精機株式会社
表示装置
1か月前
アイカ工業株式会社
反射防止フィルム
29日前
キヤノン株式会社
映像表示装置
18日前
アイカ工業株式会社
反射防止フィルム
5日前
インターマン株式会社
立体映像表示装置
18日前
日本精機株式会社
ヘッドアップディスプレイ
1か月前
沖電気工業株式会社
光導波路素子
1か月前
沖電気工業株式会社
光導波路素子
1か月前
沖電気工業株式会社
光導波路素子
1か月前
旭化成株式会社
成形体
4日前
旭化成株式会社
成形体
4日前
個人
透過型及び反射型顕微鏡
18日前
日本分光株式会社
赤外顕微鏡
4日前
キヤノン株式会社
画像表示装置
4日前
キヤノン株式会社
レンズ装置および撮像装置
6日前
キヤノン株式会社
画像表示装置
26日前
東レ株式会社
プラスチック光ファイバ
28日前
レーザーテック株式会社
検査装置及び検査方法
8日前
キヤノン株式会社
表示装置
11日前
東レ株式会社
先端に凸面を有する光ファイバ
18日前
日東電工株式会社
光学積層体
19日前
キヤノン株式会社
光学系及び撮像装置
12日前
日東電工株式会社
光学積層体
1か月前
株式会社小糸製作所
画像投影装置
19日前
株式会社小糸製作所
画像生成装置
27日前
株式会社小糸製作所
画像投影装置
18日前
KDDI株式会社
光増幅器
5日前
日本電気株式会社
リング共振器、およびその製造方法
1か月前
KDDI株式会社
光増幅器
18日前
KDDI株式会社
光増幅器
18日前
住友化学株式会社
複合偏光板及び画像表示装置
6日前
キヤノン株式会社
光学系および撮像装置
1か月前
セイコーエプソン株式会社
虚像表示装置
8日前
エピフォトニクス株式会社
光導波路素子
5日前
続きを見る
他の特許を見る