TOP
|
特許
|
意匠
|
商標
特許ウォッチ
Twitter
他の特許を見る
10個以上の画像は省略されています。
公開番号
2025142577
公報種別
公開特許公報(A)
公開日
2025-10-01
出願番号
2024042022
出願日
2024-03-18
発明の名称
レンズ装置および撮像装置
出願人
キヤノン株式会社
代理人
個人
主分類
G02B
7/02 20210101AFI20250924BHJP(光学)
要約
【課題】簡易な構成で省スペース化したレンズ装置等を提供する。
【解決手段】第1光学系と第2光学系の内の少なくともいずれか一方を光軸方向に移動可能に保持する可動部材と、光軸方向に固定された固定部材と、可動部材と固定部材を接続するフレキシブルプリント基板800とを有するレンズ装置200において、フレキシブルプリント基板800は、前記固定部材に接続するための第1余長部801と第2余長部802を有し、第1余長部801と第2余長部802の余長はそれぞれ長さが異なり、第1余長部801と第2余長部802は、第1光学系と第2光学系とを光軸方向から見て両光学系の光学素子とは重ならない位置に配置されることを特徴とする。
【選択図】 図10
特許請求の範囲
【請求項1】
第1光学系と第2光学系の内の少なくともいずれか一方を光軸方向に移動可能に保持する可動部材と、光軸方向に固定された固定部材と、前記可動部材と前記固定部材を接続するフレキシブルプリント基板とを有するレンズ装置において、
前記フレキシブルプリント基板は、
前記固定部材に接続するための第1余長部と第2余長部を有し、前記第1余長部と第2余長部の余長はそれぞれ長さが異なり、
前記第1余長部と前記第2余長部は、
前記第1光学系と前記第2光学系とを光軸方向から見て両光学系の光学素子とは重ならない位置に配置されることを特徴とするレンズ装置。
続きを表示(約 1,200 文字)
【請求項2】
前記固定部材は、
第1固定部と第2固定部を備え、
前記フレキシブルプリント基板は、
前記第1固定部と前記第1余長部により接続され、前記第2固定部と前記第2余長部により接続されることを特徴とする請求項1に記載のレンズ装置。
【請求項3】
前記第1余長部および前記第2余長部は、
前記フレキシブルプリント基板を展開した際にそれぞれが平行に配置されていることを特徴とする請求項1または2に記載のレンズ装置。
【請求項4】
前記可動部材に対して相対的に駆動する第2可動部材を備え、
前記フレキシブルプリント基板は、
前記可動部材と前記第2可動部材とを接続する第3余長部を有することを特徴とする請求項1または2に記載のレンズ装置。
【請求項5】
前記第1光学系は右眼光学系であり、
前記第3余長部は、
駆動部により光軸方向に前記右眼光学系の焦点位置を調整可能なレンズベースと当該右眼光学系を接続し、
前記レンズベースに対する前記右眼光学系の相対位置が変化した際の余長であることを特徴とする請求項4に記載のレンズ装置。
【請求項6】
前記第1固定部は撮像装置に組み込まれる回路基板であり、前記第2固定部は当該レンズ装置の外装部材であることを特徴とする請求項2に記載のレンズ装置。
【請求項7】
前記第1余長部と前記第2余長部は、
前記可動部材の可動方向と直交する方向から見て重ならないことを特徴とする請求項1または2に記載のレンズ装置。
【請求項8】
前記第1余長部と前記第2余長部は、
光軸方向から見た際の光学素子の直径より外側の上下スペースに配置されることを特徴とする請求項1または2に記載のレンズ装置。
【請求項9】
撮像素子が配置された撮像装置と結合する、開口部を有する結合部を備え、
前記第1光学系と第2光学系の少なくとも1以上の光学素子の光軸中心は前記開口部の内側にあり、
前記第1余長部と前記第2余長部は、
光軸と直交する面において、前記第1光学系と前記第2光学系のそれぞれを構成する複数の光学素子の外径に接する接線よりも外側に配置されることを特徴とする請求項1または2に記載のレンズ装置。
【請求項10】
前記第1余長部と前記第2余長部の内の少なくとも一方は、
前記固定部材に固定される第1固定面と、前記可動部材に固定される第2固定面とを備え、
前記第1固定面と前記第2固定面とが互いに対向した空間に前記フレキシブルプリント基板をU字状に折り曲げたUターン部が構成されていることを特徴とする請求項1または2に記載のレンズ装置。
(【請求項11】以降は省略されています)
発明の詳細な説明
【技術分野】
【0001】
本発明は、レンズ装置および撮像装置に関する。
続きを表示(約 2,200 文字)
【背景技術】
【0002】
従来、左右一対の光学系が所定距離(基線長)だけ離間して配置されて、一つの撮像素子に二つのイメージサークルが並列に結像するレンズが知られている。このようなレンズにあっては左右一対の光学系で結像される像はそれぞれ左眼用および右眼用の動画、静止画を記録する。また、再生時には3Dディスプレイ、VRゴーグル等を用いてコンテンツを鑑賞すると、鑑賞者の右眼には右眼用の映像が映り、左眼には左眼用の映像が映る。このとき、左右一対の光学系の基線長によって右眼と左眼には視差のある映像が投影されるため鑑賞者は立体感を得ることができる。
【0003】
視差のある映像を撮像するために左右一対の光学系を用いると、左右一対の光学系のピント調整をそれぞれ行うことが必要となり、左右一対の光学系のピント差が鑑賞者に不快な印象を与えてしまう懸念がある。特許文献1は、左右一対の光学系のピント調整を行う機構と、左右ピント差の調整を行う機構とを有するレンズ鏡筒を開示している。特許文献1が開示しているレンズ鏡筒においては、ピント調整は手動操作、いわゆるマニュアルフォーカスを実行している。一方で、撮像装置の簡易化や遠隔操作による撮像を可能にするためアクチュエーターによる自動ピント調整、いわゆるオートフォーカスを搭載することが求められている。
【先行技術文献】
【特許文献】
【0004】
特開2023-47653号公報
【発明の概要】
【発明が解決しようとする課題】
【0005】
しかしながら、電動によるオートフォーカスを搭載すると、各レンズ群を移動させるアクチュエーター、レンズ動作を切り替えるスイッチ類等の部品が必要になる。これらの部品を動作させるため、回路基板、駆動ユニット、外装部品等を例えばフレキシブルプリント基板(以下「FPC」とも記す)等を用いて電気的に接続する必要がある。一般的に相対的に駆動する2つの部材をフレキシブルプリント基板で接続する場合、相対的に駆動してもフレキシブルプリント基板の接続が保たれるように余長を設ける。例えば、或る曲率を有するUターン形状にフレキシブルプリント基板を適用した場合、余長部を設けるとその配置スペースが新たに必要となる。
【0006】
一方で2つの光学系を有するレンズ構造において、内部の光学ユニットは2つの光学系を並べるため、並べる方向においてスペースが必要になる。レンズ装置の大きさを最小に構成するために設計した際、2つの光学系を並べて配置することでフレキシブルプリント基板を配置するスペースに制約が生じ、レンズ装置が大型化し易いといった問題があった。
【0007】
本発明の目的は、かかる従来の課題を鑑みて成されたものであり、フレキシブルプリント基板を使用しても簡易な構成で省スペース化したレンズ装置、撮像装置を提供することにある。
【課題を解決するための手段】
【0008】
上記目的を達成するために、本発明の一態様は、第1光学系と第2光学系の内の少なくともいずれか一方を光軸方向に移動可能に保持する可動部材と、光軸方向に固定された固定部材と、前記可動部材と前記固定部材を接続するフレキシブルプリント基板とを有するレンズ装置において、前記フレキシブルプリント基板は、前記固定部材に接続するための第1余長部と第2余長部を有し、前記第1余長部と第2余長部の余長はそれぞれ長さが異なり、、前記第1余長部と前記第2余長部は、前記第1光学系と前記第2光学系とを光軸方向から見て両光学系の光学素子とは重ならない位置に配置されることを特徴とする。
【発明の効果】
【0009】
本発明によれば、フレキシブルプリント基板を使用しても簡易な構成で省スペース化したレンズ装置、撮像装置を提供できるという効果が得られる。
【図面の簡単な説明】
【0010】
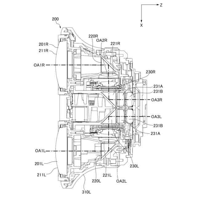
本発明の実施形態の撮像装置の断面図である。
本発明の実施形態の撮像装置の正面図である。
本発明の実施形態のカメラシステムの概略構成図である。
撮像素子が傾いている様子を示す模式的説明図である。
交換レンズの側面図である。
電気系のブロック図である。
フォーカスレンズの動きを決定する際の処理を示すフローチャートである。
交換レンズの内部構造のみを示した斜視図である。
交換レンズの内部構造のみを示した斜視図である。
フレキシブルプリント基板800の接続先と余長量の関係を示した説明図である。
交換レンズの内部構造のみを示した正面図である。
交換レンズが有する光学素子のみを示した側面図である。
フレキシブルプリント基板800を平面に展開した展開図である。
交換レンズの内部構造のみを示した横断面図である。
交換レンズの第2余長部802を拡大した断面図である。
第1余長部801の位置で交換レンズ200の内部を示した断面図である。
第2実施形態のフレキシブルプリント基板800の接続先と余長量の関係の説明図である。
【発明を実施するための形態】
(【0011】以降は省略されています)
この特許をJ-PlatPat(特許庁公式サイト)で参照する
関連特許
キヤノン株式会社
トナー
29日前
キヤノン株式会社
撮像装置
23日前
キヤノン株式会社
定着装置
12日前
キヤノン株式会社
撮像装置
1か月前
キヤノン株式会社
撮像装置
1か月前
キヤノン株式会社
電子機器
6日前
キヤノン株式会社
電子機器
2日前
キヤノン株式会社
撮像装置
6日前
キヤノン株式会社
光学装置
26日前
キヤノン株式会社
電子機器
21日前
キヤノン株式会社
発光装置
5日前
キヤノン株式会社
電子機器
26日前
キヤノン株式会社
撮像装置
26日前
キヤノン株式会社
電子機器
14日前
キヤノン株式会社
定着装置
21日前
キヤノン株式会社
定着装置
21日前
キヤノン株式会社
定着装置
21日前
キヤノン株式会社
電子機器
23日前
キヤノン株式会社
撮像装置
14日前
キヤノン株式会社
電子機器
6日前
キヤノン株式会社
記録装置
14日前
キヤノン株式会社
表示装置
5日前
キヤノン株式会社
定着装置
6日前
キヤノン株式会社
収容装置
6日前
キヤノン株式会社
現像装置
29日前
キヤノン株式会社
撮像装置
12日前
キヤノン株式会社
電子機器
1か月前
キヤノン株式会社
撮像装置
1か月前
キヤノン株式会社
電子機器
今日
キヤノン株式会社
記録装置
13日前
キヤノン株式会社
電子機器
29日前
キヤノン株式会社
撮像装置
13日前
キヤノン株式会社
容器構造体
1か月前
キヤノン株式会社
半導体装置
今日
キヤノン株式会社
容器構造体
1か月前
キヤノン株式会社
画像形成装置
1か月前
続きを見る
他の特許を見る