TOP
|
特許
|
意匠
|
商標
特許ウォッチ
Twitter
他の特許を見る
公開番号
2025143209
公報種別
公開特許公報(A)
公開日
2025-10-01
出願番号
2025028945
出願日
2025-02-26
発明の名称
複合偏光板及び画像表示装置
出願人
住友化学株式会社
代理人
個人
,
個人
主分類
G02B
5/30 20060101AFI20250924BHJP(光学)
要約
【課題】偏光板に赤変が発生することを抑制する。
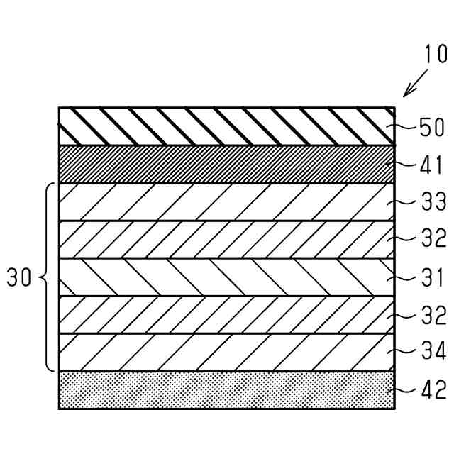
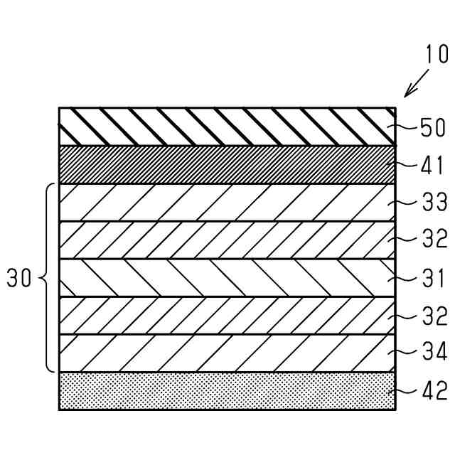
【解決手段】複合偏光板10は、ポリビニルアルコール系樹脂フィルムに二色性色素が吸着配向している偏光子31と、偏光子31の一方の面に積層されている第1保護フィルム33と、偏光子31の他方の面に積層されている第2保護フィルム34と、を有する偏光板30を備えている。複合偏光板10は、第1保護フィルム33における偏光子31とは反対の面に、アンモニアガス透過濃度が500ppm以下であるアンモニアガスブロック層50がさらに積層されている。複合偏光板10は、第2保護フィルム34における偏光子31とは反対の面に、粘着剤層42がさらに積層されている。
【選択図】図1
特許請求の範囲
【請求項1】
ポリビニルアルコール系樹脂フィルムに二色性色素が吸着配向している偏光子と、前記偏光子の一方の面に積層されている第1保護フィルムと、前記偏光子の他方の面に積層されている第2保護フィルムと、を有する偏光板を備えている複合偏光板であって、
前記第1保護フィルムにおける前記偏光子とは反対の面に、アンモニアガス透過濃度が500ppm以下であるアンモニアガスブロック層がさらに積層されており、
前記第2保護フィルムにおける前記偏光子とは反対の面に、粘着剤層がさらに積層されている、複合偏光板。
続きを表示(約 530 文字)
【請求項2】
前記アンモニアガスブロック層が、環状オレフィン系樹脂フィルム、及びアクリル系樹脂フィルムからなる群より選ばれる少なくとも1つを含む層である請求項1に記載の複合偏光板。
【請求項3】
前記偏光子と前記第1保護フィルム、及び、前記偏光子と前記第2保護フィルムは、尿素、尿素誘導体、チオ尿素及びチオ尿素誘導体からなる群より選ばれる少なくとも1種の尿素化合物を含む接着剤層を介して積層されている請求項1又は2に記載の複合偏光板。
【請求項4】
前記第1保護フィルムの温度40℃相対湿度90%環境下での透湿度が、200g/(m
2
・24時間)以下である請求項1又は2に記載の複合偏光板。
【請求項5】
前記第1保護フィルムと前記アンモニアガスブロック層とが厚み10μm以下の粘接着剤層を介して積層されている請求項1又は2に記載の複合偏光板。
【請求項6】
請求項1又は2に記載の複合偏光板と画像表示パネルとが積層されている画像表示装置であって、
前記粘着剤層を介して前記第2保護フィルムにおける前記偏光子とは反対の面に前記画像表示パネルが積層されている画像表示装置。
発明の詳細な説明
【技術分野】
【0001】
本発明は、複合偏光板及び画像表示装置に関する。
続きを表示(約 1,200 文字)
【背景技術】
【0002】
特許文献1に記載されているように、偏光板が高温環境下におかれることによって、赤変という現象が発生することが知られている。赤変は、約700nmの長波長側の透過率が上昇することで、偏光板をクロスニコル配置した際に赤く視認される現象である。
【先行技術文献】
【特許文献】
【0003】
特開2019-152862号公報
【発明の概要】
【発明が解決しようとする課題】
【0004】
本発明は、偏光板における赤変の発生を抑制することを目的とする。本件発明者らは、偏光板に外部から浸入するアンモニアガスと偏光子との接触と、赤変の発生との相関を見出した。
【課題を解決するための手段】
【0005】
本発明は、以下の発明を含む。
[1]
ポリビニルアルコール系樹脂フィルムに二色性色素が吸着配向している偏光子と、前記偏光子の一方の面に積層されている第1保護フィルムと、前記偏光子の他方の面に積層されている第2保護フィルムと、を有する偏光板を備えている複合偏光板であって、
前記第1保護フィルムにおける前記偏光子とは反対の面に、アンモニアガス透過濃度が500ppm以下であるアンモニアガスブロック層がさらに積層されており、
前記第2保護フィルムにおける前記偏光子とは反対の面に、粘着剤層がさらに積層されている、複合偏光板。
【0006】
[2]
前記アンモニアガスブロック層が、環状オレフィン系樹脂フィルム、及びアクリル系樹脂フィルムからなる群より選ばれる少なくとも1つを含む層である[1]に記載の複合偏光板。
【0007】
[3]
前記偏光子と前記第1保護フィルム、及び、前記偏光子と前記第2保護フィルムは、尿素、尿素誘導体、チオ尿素及びチオ尿素誘導体からなる群より選ばれる少なくとも1種の尿素化合物を含む接着剤層を介して積層されている[1]又は[2]に記載の複合偏光板。
【0008】
[4]
前記第1保護フィルムの透湿度が、200g/(m
2
・24時間)以下である[1]~[3]のいずれか1つに記載の複合偏光板。
【0009】
[5]
前記第1保護フィルムと前記アンモニアガスブロック層とが厚み10μm以下の粘接着剤層を介して積層されている[1]~[4]のいずれか1つに記載の複合偏光板。
【0010】
[6]
[1]~[5]のいずれか1つに記載の複合偏光板と画像表示パネルとが積層されている画像表示装置であって、
前記粘着剤層を介して前記第2保護フィルムにおける前記偏光子とは反対の面に前記画像表示パネルが積層されている画像表示装置。
【発明の効果】
(【0011】以降は省略されています)
この特許をJ-PlatPat(特許庁公式サイト)で参照する
関連特許
住友化学株式会社
化合物
12日前
住友化学株式会社
偏光板
1か月前
住友化学株式会社
偏光板
1か月前
住友化学株式会社
着色剤
12日前
住友化学株式会社
芳香族ポリスルホン
12日前
住友化学株式会社
体液に由来する試料
2日前
住友化学株式会社
成形原料及びフィルム
1か月前
住友化学株式会社
光学積層体及びその製造方法
14日前
住友化学株式会社
複合偏光板及び画像表示装置
今日
住友化学株式会社
積層体の製造方法及び積層体
1か月前
住友化学株式会社
粘着剤付き偏光板及び表示装置
22日前
住友化学株式会社
接着剤組成物及び偏光板の製造方法
22日前
住友化学株式会社
芳香族ポリスルホン及び耐熱フィルム
12日前
住友化学株式会社
非水電解液二次電池用積層セパレータ
2日前
住友化学株式会社
高分子化合物、組成物、及び発光素子
28日前
住友化学株式会社
リチウム二次電池用正極活物質の製造方法
23日前
住友化学株式会社
膜、積層体、素子、デバイス、及び、構造体
26日前
住友化学株式会社
リチウム二次電池用負極及びリチウム二次電池
23日前
住友化学株式会社
ペレット、ペレットの製造方法、成形体及びギア
1か月前
住友化学株式会社
除草剤耐性作物の栽培地における雑草の防除方法
12日前
住友化学株式会社
カラーフィルタ及び該カラーフィルタを含む表示装置
23日前
住友化学株式会社
化合物、樹脂組成物、光学フィルタ及び固体撮像素子
26日前
住友化学株式会社
ジホスファイト系化合物、その製造方法およびその用途
12日前
住友化学株式会社
粘着剤組成物
1か月前
住友化学株式会社
レジスト組成物及びレジストパターンの製造方法並びに化合物
29日前
住友化学株式会社
レジスト組成物及びレジストパターンの製造方法並びに化合物
29日前
住友化学株式会社
着色樹脂組成物
1か月前
住友化学株式会社
塩、酸発生剤、レジスト組成物及びレジストパターンの製造方法
2日前
住友化学株式会社
酸発生剤、塩、レジスト組成物及びレジストパターンの製造方法
26日前
住友化学株式会社
塩、酸発生剤、レジスト組成物及びレジストパターンの製造方法
2日前
住友化学株式会社
化合物、組成物、カラーフィルタ、表示装置、及び固体撮像素子
今日
住友化学株式会社
酸発生剤、塩、レジスト組成物及びレジストパターンの製造方法
2日前
住友化学株式会社
酸発生剤、塩、レジスト組成物及びレジストパターンの製造方法
21日前
住友化学株式会社
窒化物半導体基板
22日前
住友化学株式会社
窒化ガリウム単結晶基板および窒化ガリウム単結晶基板の製造方法
1か月前
住友化学株式会社
窒化ガリウム単結晶基板および窒化ガリウム単結晶基板の製造方法
1か月前
続きを見る
他の特許を見る