TOP
|
特許
|
意匠
|
商標
特許ウォッチ
Twitter
他の特許を見る
公開番号
2025140438
公報種別
公開特許公報(A)
公開日
2025-09-29
出願番号
2024039846
出願日
2024-03-14
発明の名称
媒体排出装置及び画像読取装置
出願人
セイコーエプソン株式会社
代理人
個人
,
個人
,
個人
主分類
B65H
31/10 20060101AFI20250919BHJP(運搬;包装;貯蔵;薄板状または線条材料の取扱い)
要約
【課題】補助トレイをユーザー自身が操作する必要をなくすこと。
【解決手段】媒体排出装置30は、媒体2を排出する排出部31と、排出部31から排出された媒体2を載置する載置面32を有し、載置面32に沿う方向46に伸縮可能な載置部19と、載置部19を伸縮させる伸縮変更部33とを備えている。載置部19は、ベーストレイ38と、ベーストレイ38に対して伸縮方向に移動可能な補助トレイ39とを砂得ている。そして、伸縮変更部33は、載置部19を媒体2のサイズに応じて伸縮させるように構成されている。
【選択図】図3
特許請求の範囲
【請求項1】
媒体を排出する排出部と、
前記排出部から排出された前記媒体を載置する載置面を有し、前記載置面に沿う方向に伸縮可能な載置部と、
前記載置部を伸縮させる伸縮変更部と、を備え、
前記伸縮変更部は、前記載置部を前記媒体のサイズに応じて伸縮させる、
ことを特徴とする媒体排出装置。
続きを表示(約 1,400 文字)
【請求項2】
請求項1に記載の媒体排出装置であって、
前記載置部は、基端部を回動支点として上下方向に回動可能であり、
前記伸縮変更部は、前記載置部の回動に連動して前記載置部を伸ばす、
ことを特徴とする媒体排出装置。
【請求項3】
請求項2に記載の媒体排出装置であって、
前記伸縮変更部は、前記載置部の上方への回動及び続く下方への回動に連動して前記載置部を伸ばす、
ことを特徴とする媒体排出装置。
【請求項4】
請求項3に記載の媒体排出装置であって、
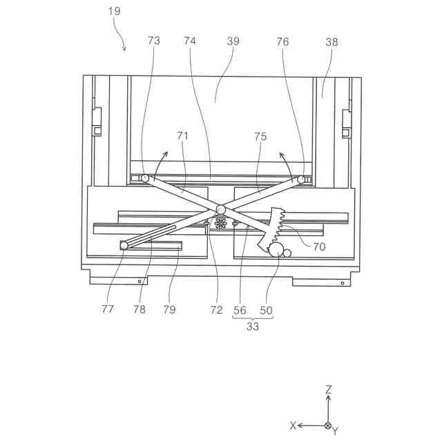
前記載置部は、
ベーストレイと、
前記ベーストレイに対して伸縮方向に移動可能な補助トレイと、
前記補助トレイに対して縮む方向に弾性力を付与する弾性部材と、を備え、
前記伸縮変更部は、
前記載置部の回動に連動する連動レバーを有し、
前記連動レバーが前記載置部の回動に連動して前記補助トレイを前記弾性力に抗して伸びる方向に移動させる、
ことを特徴とする媒体排出装置。
【請求項5】
請求項1に記載の媒体排出装置であって、
前記伸縮変更部を制御する制御部を備え、
前記制御部は、前記媒体のサイズ情報に基づいて前記載置部を伸縮させる、
ことを特徴とする媒体排出装置。
【請求項6】
請求項5に記載の媒体排出装置であって、
前記載置部は、
ベーストレイと、
前記ベーストレイに対して伸縮方向に移動可能な補助トレイと、を備え、
前記伸縮変更部は、
駆動ピニオンと、
前記駆動ピニオンの回転の動力を前記補助トレイに伝達して前記補助トレイを移動させる動力伝達機構と、を備え、
前記制御部は、前記媒体のサイズ情報に基づいて前記駆動ピニオンの回転を制御して前記載置部を伸縮させる、
ことを特徴とする媒体排出装置。
【請求項7】
請求項5に記載の媒体排出装置であって、
前記媒体のサイズに関する情報を取得可能なセンサーを備え、
前記制御部は、前記センサーが取得した前記情報に基づいて前記載置部を伸縮させる、
ことを特徴とする媒体排出装置。
【請求項8】
請求項7に記載の媒体排出装置であって、
前記センサーは、前記載置部の伸縮方向における下流端に配置される、
ことを特徴とする媒体排出装置。
【請求項9】
請求項5に記載の媒体排出装置であって、
前記載置部は、基端を回動支点として上下方向に回動可能であり、
前記載置部を回動させて前記載置面の水平面に対する載置角度を変更する載置角度変更部を備え、
前記制御部は、前記載置面に載置される前記媒体の排出状態に関する情報に基づいて前記載置角度変更部を駆動させて前記載置角度を変える、
ことを特徴とする媒体排出装置。
【請求項10】
請求項1から請求項8のいずれか一項に記載の媒体排出装置と、
前記媒体排出装置に向かって搬送される前記媒体の画像を読み取る読取部と、を備える、
ことを特徴とする画像読取装置。
発明の詳細な説明
【技術分野】
【0001】
本発明は、媒体排出装置及び画像読取装置に関する。
続きを表示(約 1,700 文字)
【背景技術】
【0002】
この種の装置の一例として、特許文献1に記載の装置が挙げられる。
特許文献1には、読取ユニットで画像が読み取られたシートは、排出ローラー対を介してシート排出積載部に積載されるシート排出装置が開示されている。
【先行技術文献】
【特許文献】
【0003】
特開2019-210077号公報
【発明の概要】
【発明が解決しようとする課題】
【0004】
前記シート排出積載部に排出されるシートのサイズが異なる場合、例えば、前記シートがA4サイズからA3サイズに変わる場合、前記シートの先端が前記シート排出積載部からはみ出て垂れ下がり、自重で落下してしまうおそれがある。そのため、前記シート排出積載部が前記シートのサイズに合せて長さを変えることができるよう補助トレイを有しているものがある。即ち、前記補助トレイをユーザーが伸ばして前記シート排出積載部のシート載置面の大きさを大きくする構造のものがある。
しかし、この場合、前記補助トレイをユーザー自身が操作する必要があるが、ユーザーが補助トレイを伸ばし忘れてしまい、前記シートが前記シート排出積載部から落下してしまうという課題がある。また、前記補助トレイの伸ばしの程度がユーザーによってばらつき易い傾向があるが、ユーザー自身はそのことに気が付きにくいという課題がある。
【課題を解決するための手段】
【0005】
上記課題を解決するため、本発明に係る媒体排出装置は、媒体を排出する排出部と、前記排出部から排出された前記媒体を載置する載置面を有し、前記載置面に沿う方向に伸縮可能な載置部と、前記載置部を伸縮させる伸縮変更部と、を備え、前記伸縮変更部は、前記載置部を前記媒体のサイズに応じて伸縮させることを特徴とする。
【0006】
また、本発明に係る画像読取装置は、後述する第1の態様から第9の態様のいずれか一つの態様の媒体排出装置と、前記媒体排出装置に向かって搬送される前記媒体の画像を読み取る読取部と、を備えることを特徴とする。
【図面の簡単な説明】
【0007】
実施形態1に係る画像読取装置の側断面の模式図。
実施形態1に係る画像読取装置の側断面の模式図。
実施形態1に係る画像読取装置の側断面の模式図。
実施形態1に係る画像読取装置の側断面の模式図。
実施形態2に係る画像読取装置の側断面の模式図。
実施形態2に係る画像読取装置の側断面の模式図。
実施形態2に係る載置部を背面から見た背面図。
実施形態2に係る載置部を背面から見た背面図。
【発明を実施するための形態】
【0008】
以下、本発明について先ず概略的に説明する。
本発明の第1の態様に係る媒体排出装置は、媒体を排出する排出部と、前記排出部から排出された前記媒体を載置する載置面を有し、前記載置面に沿う方向に伸縮可能な載置部と、前記載置部を伸縮させる伸縮変更部と、を備え、前記伸縮変更部は、前記載置部を前記媒体のサイズに応じて伸縮させることを特徴とする。
【0009】
本態様によれば、前記載置部を伸縮させる伸縮変更部を備え、前記伸縮変更部は、前記載置部を前記媒体のサイズに応じて伸縮させる。即ち、前記伸縮変更部が前記載置部の伸縮を行うように構成されている。これにより、ユーザーが前記載置部を手動で伸縮させる従来構造のように、前記載置部を伸ばすことを忘れる虞を低減することができる。また、前記載置部の伸ばしの程度がばらつくことを抑制することができる。
【0010】
本発明の第2の態様に係る媒体排出装置は、第1の態様に従属する態様であって、前記載置部は、基端部を回動支点として上下方向に回動可能であり、前記伸縮変更部は、前記載置部の回動に連動して前記載置部を伸ばすことを特徴とする。
(【0011】以降は省略されています)
この特許をJ-PlatPat(特許庁公式サイト)で参照する
関連特許
個人
箱
11か月前
個人
ゴミ箱
11か月前
個人
収容箱
2か月前
個人
コンベア
4か月前
個人
ゴミ収集器
6か月前
個人
段ボール箱
6か月前
個人
容器
8か月前
個人
段ボール箱
6か月前
個人
土嚢運搬器具
7か月前
個人
楽ちんハンド
4か月前
個人
パウチ補助具
11か月前
個人
バンド
1か月前
個人
宅配システム
6か月前
個人
角筒状構造体
4か月前
個人
閉塞装置
9か月前
個人
廃棄物収容容器
1か月前
個人
包装容器
16日前
個人
お薬の締結装置
5か月前
個人
コード類収納具
7か月前
株式会社コロナ
梱包材
4か月前
個人
ゴミ処理機
8か月前
個人
貯蔵サイロ
6か月前
個人
蓋閉止構造
3か月前
株式会社和気
包装用箱
8か月前
個人
蓋閉止構造
3か月前
個人
積み重ね用補助具
2か月前
個人
把手付米袋
3か月前
三甲株式会社
蓋体
7か月前
株式会社KY7
封止装置
2か月前
三甲株式会社
容器
5か月前
三甲株式会社
容器
5か月前
個人
包装箱
9か月前
株式会社新弘
容器
2か月前
個人
コード折り畳み器具
3か月前
個人
輸送積荷用動吸振器
5か月前
株式会社イシダ
包装装置
11か月前
続きを見る
他の特許を見る