TOP
|
特許
|
意匠
|
商標
特許ウォッチ
Twitter
他の特許を見る
10個以上の画像は省略されています。
公開番号
2025141033
公報種別
公開特許公報(A)
公開日
2025-09-29
出願番号
2024040755
出願日
2024-03-15
発明の名称
半導体装置、および、半導体装置の製造方法
出願人
ローム株式会社
代理人
個人
,
個人
主分類
H01L
23/29 20060101AFI20250919BHJP(基本的電気素子)
要約
【課題】封止樹脂に傾斜面がある場合でも、リードのワイヤ接合位置付近の封止樹脂の剥離を検出できる半導体装置を提供する。
【解決手段】半導体装置A10において、厚さ方向zの第1側z1を向く主面31を有するダイパッド3、および、ダイパッド3から離間し、全体がダイパッド3より第1方向xの第1側x1に位置する入力側端子51cを含む導電支持部材2と、主面31に搭載された半導体素子11と、半導体素子11と入力側端子51cとに導通接合されているワイヤ61と、封止樹脂7とを備えた。封止樹脂7は、厚さ方向zの第1側z1を向く頂面71と、第1方向xの第1側x1を向き、入力側端子51cの一部が突出する側面73と、頂面71および側面73につながり、主面31となす角度が頂面71より大きい傾斜面77とを備える。厚さ方向zに視て、ワイヤ61の入力側端子51cへの接合部61aが傾斜面77に重ならない。
【選択図】図7
特許請求の範囲
【請求項1】
厚さ方向の第1側を向くダイパッド主面を有するダイパッド、および、前記ダイパッドから離間し、かつ、全体が前記ダイパッドより前記厚さ方向に直交する第1方向の第1側に位置する第1端子を含む導電支持部材と、
前記ダイパッド主面に搭載された半導体素子と、
前記半導体素子と前記第1端子とに導通接合されているワイヤと、
前記導電支持部材の少なくとも一部と、前記半導体素子および前記ワイヤと、を覆う封止樹脂と、
を備え、
前記封止樹脂は、前記厚さ方向の第1側を向く樹脂頂面と、前記第1方向の第1側を向き、かつ、前記第1端子が露出する第1樹脂側面と、前記樹脂頂面および前記第1樹脂側面につながり、かつ、前記ダイパッド主面となす角度が前記樹脂頂面より大きい傾斜面と、を備え、
前記厚さ方向に視て、前記ワイヤの前記第1端子への接合部が前記傾斜面に重ならない、
半導体装置。
続きを表示(約 1,200 文字)
【請求項2】
前記傾斜面の前記樹脂頂面に対する第1傾斜角度は25度以上である、
請求項1に記載の半導体装置。
【請求項3】
前記第1樹脂側面の前記樹脂頂面に対する第2傾斜角度は、前記第1傾斜角度より大きい、
請求項2に記載の半導体装置。
【請求項4】
前記封止樹脂は、前記第1方向において前記第1樹脂側面とは反対側を向く第2樹脂側面をさらに備え、
前記導電支持部材は、前記第2樹脂側面から一部が突出する第2端子をさらに備えている、
請求項1に記載の半導体装置。
【請求項5】
第2半導体素子をさらに備え、
前記導電支持部材は、前記ダイパッドから前記第1方向の第2側に離間して配置され、かつ、前記第2半導体素子が搭載された第2ダイパッドをさらに備え、
前記第2端子は、全体が前記第2ダイパッドより前記第1方向の第2側に位置する、
請求項4に記載の半導体装置。
【請求項6】
前記第2半導体素子と前記第2端子とに導通接合されている第2ワイヤをさらに備え、
前記厚さ方向に視て、前記第2ワイヤの前記第2端子への第2接合部が前記第2樹脂側面に重ならない、
請求項5に記載の半導体装置。
【請求項7】
前記半導体素子は制御素子であり、
前記第2半導体素子は前記制御素子より高い電圧を必要とする駆動素子である、
請求項5に記載の半導体装置。
【請求項8】
前記半導体素子と前記第2半導体素子との信号の送受信を中継し、かつ、前記半導体素子と前記第2半導体素子とを互いに絶縁する絶縁素子をさらに備えている、
請求項5に記載の半導体装置。
【請求項9】
前記絶縁素子は、前記ダイパッドに搭載されている、
請求項8に記載の半導体装置。
【請求項10】
前記封止樹脂は、前記厚さ方向の第2側を向く樹脂底面をさらに備え、
前記第1樹脂側面は、前記傾斜面につながる第1上部領域と、前記樹脂底面につながる第1下部領域と、前記第1上部領域および前記第1下部領域につながり、かつ、前記第1端子が突出する第1中央領域と、を含み、
前記第2樹脂側面は、前記樹脂頂面につながる第2上部領域と、前記樹脂底面につながる第2下部領域と、前記第2上部領域および前記第2下部領域につながり、かつ、前記第2端子が突出する第2中央領域と、を含み、
前記樹脂頂面、前記傾斜面、前記樹脂底面、前記第1上部領域、前記第1下部領域、前記第2上部領域、および前記第2下部領域の各々の第1表面粗さは、前記第1中央領域および前記第2中央領域の第2表面粗さよりも大である、
請求項4に記載の半導体装置。
(【請求項11】以降は省略されています)
発明の詳細な説明
【技術分野】
【0001】
本開示は、半導体装置、および、半導体装置の製造方法に関する。
続きを表示(約 2,600 文字)
【背景技術】
【0002】
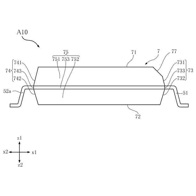
従来、スイッチング機能を有する半導体素子(MOSFETやIGBTなど)が搭載された半導体装置が広く知られている。特許文献1には、このような半導体装置の一例が開示されている。同文献に開示された半導体装置は、パッケージ形式がSOP(Small Outline Package)であり、半導体素子、ダイパッド、複数のリード、および封止樹脂を備えている。半導体素子はダイパッドに搭載されている。複数のリードは、ダイパッドの両側にそれぞれ複数ずつ配列されて、それぞれがワイヤを介して半導体素子に導通している。封止樹脂は、半導体素子を覆い、両側面からそれぞれ複数のリードの一部が突出している。半導体装置は、一般的に外観が左右対称なので、搭載方向を間違えないように、外観から視認できる目印が設けられている。たとえば、半導体装置には、封止樹脂において切り欠き(傾斜面)が設けられている場合がある。
【0003】
また、半導体装置の非破壊による剥離、ボイド、クラックなどの検出に、SAT(Scanning Acoustic Tomography)検査が行われる場合がある。SAT検査では、半導体装置に超音波が照射され、その反射波により半導体装置の内部の情報が取得される。しかし、半導体装置の封止樹脂に上記傾斜面が設けられていると、SAT検査で照射される超音波が当該傾斜面で反射されることで、傾斜面に重なる部分の内部情報が取得できない。この場合、当該重なる部分で剥離が発生していても検出できない。当該重なる部分にワイヤが接合されていると、検出できなかった剥離に基づくワイヤの断線が発生する場合がある。
【先行技術文献】
【特許文献】
【0004】
特開2022-143167号公報
【0005】
[概要]
本発明は上述の事情に鑑み、封止樹脂に傾斜面がある場合でも、リードのワイヤ接合位置付近の封止樹脂の剥離を検出できる半導体装置を提供することをその課題とする。
【0006】
本開示の第1の側面によって提供される半導体装置は、厚さ方向の第1側を向くダイパッド主面を有するダイパッド、および、前記ダイパッドから離間し、かつ、全体が前記ダイパッドより前記厚さ方向に直交する第1方向の第1側に位置する第1端子を含む導電支持部材と、前記ダイパッド主面に搭載された半導体素子と、前記半導体素子と前記第1端子とに導通接合されているワイヤと、前記導電支持部材の少なくとも一部と、前記半導体素子および前記ワイヤと、を覆う封止樹脂と、を備え、前記封止樹脂は、前記厚さ方向の第1側を向く樹脂頂面と、前記第1方向の第1側を向き、かつ、前記第1端子が露出する第1樹脂側面と、前記樹脂頂面および前記第1樹脂側面につながり、かつ、前記ダイパッド主面となす角度が前記樹脂頂面より大きい傾斜面と、を備え、前記厚さ方向に視て、前記ワイヤの前記第1端子への接合部が前記傾斜面に重ならない。
【0007】
本開示の第2の側面によって提供される半導体装置の製造方法は、リードフレームの厚さ方向の第1側を向くリードフレーム主面に半導体素子を接合する素子接合工程と、前記半導体素子と前記リードフレームとにワイヤを接合するワイヤ接合工程と、前記リードフレームの少なくとも一部と前記半導体素子および前記ワイヤとを覆う封止樹脂を形成する樹脂形成工程と、前記リードフレームの前記封止樹脂から露出した露出部分を折り曲げる折り曲げ工程と、前記露出部分を切断する切断工程と、を備え、前記樹脂形成工程では、前記厚さ方向の第1側を向く樹脂頂面と、前記リードフレームの一部が露出する第1樹脂側面と、前記樹脂頂面および前記第1樹脂側面につながり、かつ、前記リードフレーム主面となす角度が前記樹脂頂面より大きい傾斜面と、を備える前記封止樹脂が、前記傾斜面が前記厚さ方向に視て前記ワイヤの前記リードフレームへの接合部に重ならないように形成される。
【0008】
本開示のその他の特徴および利点は、添付図面を参照して以下に行う詳細な説明によって、より明らかとなろう。
【図面の簡単な説明】
【0009】
図1は、本開示の第1実施形態に係る半導体装置を示す平面図である。
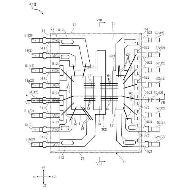
図2は、図1の半導体装置を示す平面図であり、封止樹脂を透過した図である。
図3は、図1の半導体装置を示す正面図である。
図4は、図1の半導体装置を示す背面図である。
図5は、図1の半導体装置を示す左側面図である。
図6は、図1の半導体装置を示す右側面図である。
図7は、図2のVII-VII線に沿う断面図である。
図8は、図2のVIII-VIII線に沿う断面図である。
図9は、図1のIX-IX線に沿う断面図である。
図10は、図1のX-X線に沿う断面図である。
図11は、図1の半導体装置の製造方法に係る工程を示す平面図である。
図12は、図1の半導体装置の製造方法に係る工程を示す平面図である。
図13は、図1の半導体装置の製造方法に係る工程を示す平面図である。
図14は、図13のXIV-XIV線に沿う断面図である。
図15は、図1の半導体装置の製造方法に係る工程を示す平面図である。
図16は、図15のXVI-XVI線に沿う断面図である。
図17は、本開示の第2実施形態に係る半導体装置を示す平面図であり、封止樹脂を透過した図である。
図18は、本開示の第3実施形態に係る半導体装置を示す平面図であり、封止樹脂を透過した図である。
図19は、本開示の第4実施形態に係る半導体装置を示す平面図であり、封止樹脂を透過した図である。
図20は、本開示の第5実施形態に係る半導体装置を示す断面図である。
図21は、本開示の第6実施形態に係る半導体装置を示す平面図である。
図22は、図21の半導体装置を示す正面図である。
図23は、本開示の第7実施形態に係る半導体装置を示す平面図である。
【0010】
[詳細な説明]
本開示の詳細について、添付図面に基づき説明する。
(【0011】以降は省略されています)
この特許をJ-PlatPat(特許庁公式サイト)で参照する
関連特許
ローム株式会社
電子装置
9日前
ローム株式会社
発振回路
9日前
ローム株式会社
駆動回路
今日
ローム株式会社
半導体装置
7日前
ローム株式会社
半導体装置
今日
ローム株式会社
半導体装置
5日前
ローム株式会社
半導体装置
5日前
ローム株式会社
半導体装置
5日前
ローム株式会社
半導体装置
5日前
ローム株式会社
半導体装置
7日前
ローム株式会社
半導体装置
今日
ローム株式会社
半導体装置
7日前
ローム株式会社
半導体装置
5日前
ローム株式会社
メモリ装置
5日前
ローム株式会社
半導体装置
7日前
ローム株式会社
半導体装置
今日
ローム株式会社
半導体装置
1日前
ローム株式会社
無線通信回路
今日
ローム株式会社
信号出力回路
5日前
ローム株式会社
時間測定回路
今日
ローム株式会社
TVSダイオード
7日前
ローム株式会社
TVSダイオード
7日前
ローム株式会社
フォトダイオード
今日
ローム株式会社
不揮発性メモリ装置
5日前
ローム株式会社
不揮発性メモリ装置
5日前
ローム株式会社
不揮発性メモリ装置
5日前
ローム株式会社
判定回路、半導体装置
5日前
ローム株式会社
不揮発性半導体記憶装置
5日前
ローム株式会社
クロックデータリカバリ回路
5日前
ローム株式会社
表示装置及びソースドライバ
5日前
ローム株式会社
アンテナ付高周波モジュール
今日
ローム株式会社
半導体装置及び高電圧検出アンプ
5日前
ローム株式会社
半導体装置および半導体装置ユニット
今日
ローム株式会社
集積回路の異常処理回路および集積回路
9日前
ローム株式会社
半導体装置および半導体装置の製造方法
5日前
ローム株式会社
マイクロコンピュータのメモリ制御回路
今日
続きを見る
他の特許を見る