TOP
|
特許
|
意匠
|
商標
特許ウォッチ
Twitter
他の特許を見る
10個以上の画像は省略されています。
公開番号
2025146455
公報種別
公開特許公報(A)
公開日
2025-10-03
出願番号
2024047254
出願日
2024-03-22
発明の名称
半導体装置
出願人
ローム株式会社
代理人
個人
,
個人
,
個人
主分類
H01L
25/00 20060101AFI20250926BHJP(基本的電気素子)
要約
【課題】
耐圧を増加させることが可能な半導体装置を提供する。
【解決手段】
半導体装置は、第1導電領域(第1インナーリード10a)、及び、第1導電領域から物理的に離れて位置する第2導電領域(第1ダイパッド110)を有するリードフレームと、第2導電領域上に配置されたチップ(10)と、を備え、チップは、半導体基板1と、半導体基板1上に設けられた絶縁層2と、絶縁層2内に埋設された抵抗器Rと、を備え、抵抗器Rは、第1導電領域に電気的に接続された第1電極E1と、第2導電領域(110)に電気的に接続された第2電極E2と、第1電極E1と第2電極E2との間に位置する抵抗領域と、抵抗領域の第1箇所に電気的に接続された第1出力電極EPと、抵抗領域の第2箇所に電気的に接続された第2出力電極ENとを備える。
【選択図】 図4
特許請求の範囲
【請求項1】
第1導電領域、及び、前記第1導電領域から物理的に離れて位置する第2導電領域を有するリードフレームと、
前記第2導電領域上に配置されたチップと、
を備え、
前記チップは、
半導体基板と、
前記半導体基板上に設けられた絶縁層と、
前記絶縁層内に埋設された抵抗器と、
を備え、
前記抵抗器は、
前記第1導電領域に電気的に接続された第1電極と、
前記第2導電領域に電気的に接続された第2電極と、
前記第1電極と前記第2電極との間に位置する抵抗領域と、
前記抵抗領域の第1箇所に電気的に接続された第1出力電極と、
前記抵抗領域の第2箇所に電気的に接続された第2出力電極と、
を備える、
半導体装置。
続きを表示(約 490 文字)
【請求項2】
前記抵抗領域の前記第1箇所と前記第2箇所の間の箇所に電気的に接続された基準電極を更に備える、
請求項1に記載の半導体装置。
【請求項3】
前記リードフレームは、前記第1導電領域及び前記第2導電領域の双方から物理的に離れた第3導電領域を備え、
前記第1出力電極、前記第2出力電極、及び、前記基準電極は、前記第3導電領域上に配置された半導体チップに電気的に接続される、
請求項2に記載の半導体装置。
【請求項4】
前記抵抗領域は、
前記第1電極と前記第1出力電極との間に電気的に接続された第1抵抗器と、
前記第2電極と前記第2出力電極との間に電気的に接続された第2抵抗器と、
前記基準電極と前記第1出力電極との間に電気的に接続され、前記第1抵抗器よりも低い抵抗値を有する第1電圧検出用抵抗器と、
前記基準電極と前記第2出力電極との間に電気的に接続され、前記第2抵抗器よりも低い抵抗値を有する第2電圧検出用抵抗器と、
を備える、
請求項2に記載の半導体装置。
発明の詳細な説明
【技術分野】
【0001】
本開示は、半導体装置に関する。
続きを表示(約 1,400 文字)
【背景技術】
【0002】
特許文献1は、複数の抵抗素子を備えた半導体装置を開示している。
【先行技術文献】
【特許文献】
【0003】
国際公開第2023/085026号
【0004】
[概要]
本開示は、耐圧を増加させることが可能な半導体装置を提供する。
【0005】
本開示の半導体装置は、第1導電領域、及び、前記第1導電領域から物理的に離れて位置する第2導電領域を有するリードフレームと、前記第2導電領域上に配置されたチップと、を備え、前記チップは、半導体基板と、前記半導体基板上に設けられた絶縁層と、前記絶縁層内に埋設された抵抗器と、を備え、前記抵抗器は、前記第1導電領域に電気的に接続された第1電極と、前記第2導電領域に電気的に接続された第2電極と、前記第1電極と前記第2電極との間に位置する抵抗領域と、前記抵抗領域の第1箇所に電気的に接続された第1出力電極と、前記抵抗領域の第2箇所に電気的に接続された第2出力電極と、を備える。
【図面の簡単な説明】
【0006】
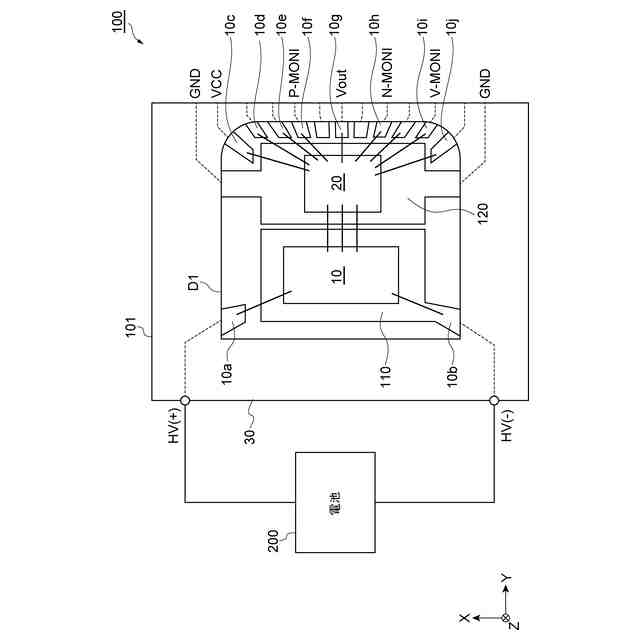
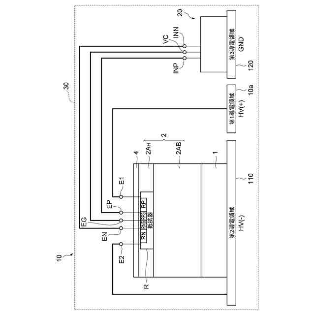
図1は、半導体パッケージの平面図である。
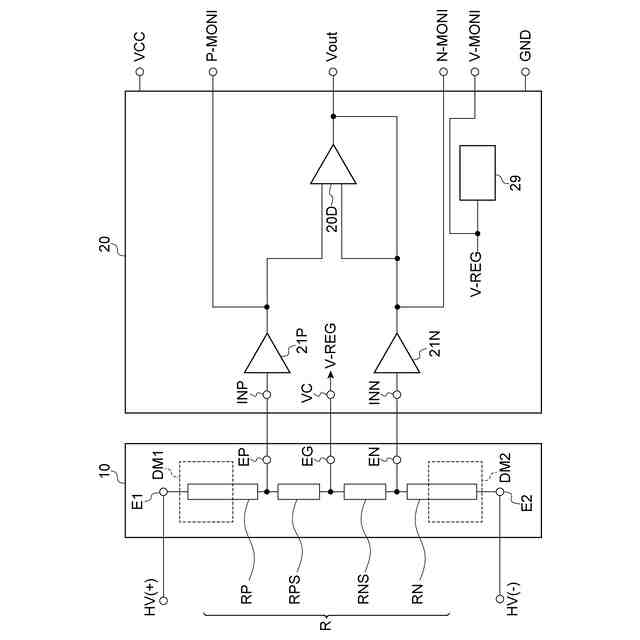
図2は、抵抗チップ及び増幅器チップの回路図である。
図3は、入力電圧HV(kV)と出力電圧Vout(V)の関係を示すグラフである。
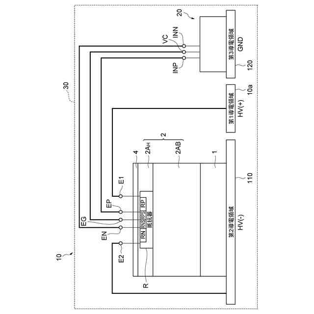
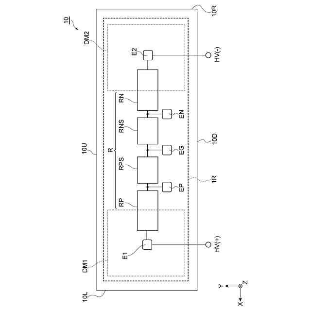
図4は、抵抗チップと各導電領域との間の接続関係を説明するための図である。
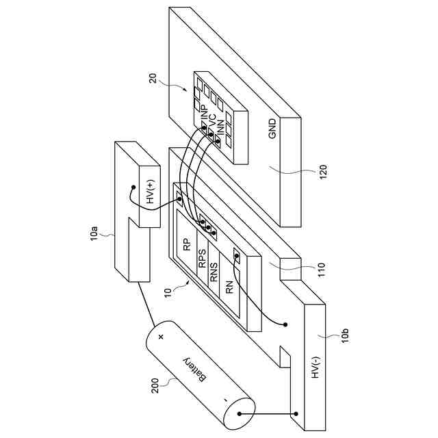
図5は、抵抗チップと各導電領域との間の接続関係を説明するための斜視図である。
図6は、抵抗チップに形成された分圧回路の電気的接続関係を説明するための平面構成を示す図である。
図7は、抵抗チップに形成された分圧回路における抵抗部分の詳細構造の一例を示す図である。
図8は、図7におけるF1-F1矢印線に沿った部分の縦断面構成を示す図である。
図9は、サンプル素子で得られた破壊電圧(kV)を示す図表である。
【0007】
[詳細な説明]
以下、図面を参照して種々の例示的実施形態について詳細に説明する。なお、各図面において同一又は相当の部分に対しては同一の符号を附することとし、重複する説明は省略する。
【0008】
図1は、半導体パッケージの平面図である。なお、同図では、上部の蓋材を除いた状態が示されている。
【0009】
半導体パッケージ100は、凹部D1を有するケース101を備えている。ケース101は、樹脂又はセラミックなどの絶縁性材料からなる。XYZ三次元直交座標系を設定する。半導体パッケージ100の厚み方向をZ軸方向とし、Z軸方向に垂直な方向をX軸方向とし、Z軸及びX軸の双方に垂直な方向をY軸方向とする。Z軸の正方向は、凹部D1の深さ方向(下方向)とする。
【0010】
半導体パッケージ100は、凹部D1内の第1ダイパッド110上に配置された抵抗チップ10(半導体装置)と、凹部D1内の第2ダイパッド120上に配置された増幅器チップ20(半導体装置)とを備えている。半導体パッケージ100の凹部D1の開口端は、図示しない蓋材で封止され、凹部D1内は密閉空間とされている。蓋材の材料は樹脂等の絶縁材料とすることができ、凹部D1内は気体を充填してもよく、絶縁材料を充填してもよい。
(【0011】以降は省略されています)
この特許をJ-PlatPat(特許庁公式サイト)で参照する
関連特許
ローム株式会社
タイマ
10日前
ローム株式会社
監視回路
6日前
ローム株式会社
電子装置
6日前
ローム株式会社
発振回路
6日前
ローム株式会社
半導体装置
16日前
ローム株式会社
半導体装置
2日前
ローム株式会社
半導体装置
6日前
ローム株式会社
メモリ装置
6日前
ローム株式会社
半導体装置
4日前
ローム株式会社
半導体装置
4日前
ローム株式会社
半導体装置
4日前
ローム株式会社
半導体装置
4日前
ローム株式会社
半導体装置
10日前
ローム株式会社
半導体装置
6日前
ローム株式会社
半導体装置
2日前
ローム株式会社
半導体装置
2日前
ローム株式会社
半導体装置
17日前
ローム株式会社
半導体装置
2日前
ローム株式会社
半導体装置
2日前
ローム株式会社
メモリ装置
2日前
ローム株式会社
信号出力回路
16日前
ローム株式会社
信号出力回路
2日前
ローム株式会社
信号出力回路
16日前
ローム株式会社
縦型ホール素子
6日前
ローム株式会社
半導体記憶装置
9日前
ローム株式会社
半導体記憶装置
9日前
ローム株式会社
定電圧生成回路
16日前
ローム株式会社
半導体集積回路
17日前
ローム株式会社
TVSダイオード
4日前
ローム株式会社
TVSダイオード
4日前
ローム株式会社
半導体モジュール
6日前
ローム株式会社
不揮発性メモリ装置
2日前
ローム株式会社
差動回路及び発振器
18日前
ローム株式会社
不揮発性メモリ装置
2日前
ローム株式会社
不揮発性メモリ装置
2日前
ローム株式会社
判定回路、半導体装置
2日前
続きを見る
他の特許を見る