TOP
|
特許
|
意匠
|
商標
特許ウォッチ
Twitter
他の特許を見る
10個以上の画像は省略されています。
公開番号
2025145254
公報種別
公開特許公報(A)
公開日
2025-10-03
出願番号
2024045340
出願日
2024-03-21
発明の名称
半導体装置および半導体装置の製造方法
出願人
ローム株式会社
代理人
個人
,
個人
主分類
H10D
30/60 20250101AFI20250926BHJP()
要約
【課題】半導体装置のオン抵抗を低減する。
【解決手段】半導体装置は、第1主面10および第2主面11を有する半導体チップ8と、半導体チップ8の第1主面10側に形成された第1導電型の第1半導体領域46Aと、第1半導体領域46Aに対して第2主面11側に形成された第2導電型の第2半導体領域46Bと、第1主面10から第1半導体領域46Aを貫通するトレンチ48を含むトレンチ構造17と、第2半導体領域46Bに対して第2主面11側に形成され、第2半導体領域46Bを挟んでトレンチ構造17の第2主面11側に位置する第1導電型の第3半導体領域46Cと、を含む。
【選択図】図14
特許請求の範囲
【請求項1】
第1主面およびその反対側の第2主面を有する半導体チップと、
前記半導体チップの前記第1主面側に形成された第1導電型の第1半導体領域と、
前記第1半導体領域に対して前記第2主面側に形成された第2導電型の第2半導体領域と、
前記第1主面から前記第1半導体領域を貫通し、断面視において前記第1半導体領域を一方側の第1領域および他方側の第2領域に区画するトレンチ、前記トレンチの内壁を被覆する制御絶縁膜、および前記制御絶縁膜を挟んで前記トレンチに埋設され、前記第1領域と前記第2領域とを前記第1主面に沿う横方向に導通させる前記第2半導体領域におけるチャネルを制御する制御電極を含むトレンチ構造と、
前記第2半導体領域に対して前記第2主面側に形成され、前記第2半導体領域を挟んで前記トレンチ構造の前記第2主面側に位置する第1導電型の第3半導体領域と、
を含む半導体装置。
続きを表示(約 1,500 文字)
【請求項2】
前記トレンチの先端の直下における前記第2半導体領域の厚さは、0.01μm以上10μm以下である、請求項1に記載の半導体装置。
【請求項3】
前記第1半導体領域は、
前記第1領域において第1電極に電気的に接続された第1コンタクト領域と、
前記第2領域において第2電極に電気的に接続された第2コンタクト領域と、を含み、
前記第1コンタクト領域の直下における前記第2半導体領域の厚さ、および前記第2コンタクト領域の直下における前記第2半導体領域の厚さの少なくとも一方は、0.01μm以上10μm以下である、請求項1に記載の半導体装置。
【請求項4】
前記第1半導体領域は、
前記第1領域において第1電極に電気的に接続された第1コンタクト領域と、
前記第2領域において第2電極に電気的に接続された第2コンタクト領域と、を含み、
前記第1コンタクト領域の直下における前記第2半導体領域の厚さ、および前記第2コンタクト領域の直下における前記第2半導体領域の厚さの少なくとも一方は、前記トレンチの先端の直下における前記第2半導体領域の厚さよりも薄い、請求項1に記載の半導体装置。
【請求項5】
前記トレンチの先端の直下における前記第3半導体領域の厚さは、0.001μm以上である、請求項1に記載の半導体装置。
【請求項6】
前記第3半導体領域における第1導電型の不純物濃度は、前記第1半導体領域における第1導電型の不純物濃度よりも低い、請求項1に記載の半導体装置。
【請求項7】
前記第2半導体領域は、前記第1半導体領域と前記第3半導体領域とを電気的に分離している、請求項1に記載の半導体装置。
【請求項8】
一対の前記トレンチ構造の間に挟まれたドリフト領域を含み、
前記第1領域は、前記ドリフト領域に対して一方の前記トレンチ構造を挟んで対向する第1ソースドレイン領域を含み、
前記第2領域は、前記ドリフト領域に対して他方の前記トレンチ構造を挟んで対向する第2ソースドレイン領域を含み、
前記第1ソースドレイン領域に電気的に接続された第1ソースドレイン電極と、
前記第2ソースドレイン領域に電気的に接続された第2ソースドレイン電極とをさらに
含む、請求項1に記載の半導体装置。
【請求項9】
前記トレンチ構造を挟んで、前記ドリフト領域、前記第1ソースドレイン領域、および前記第2ソースドレイン領域が並ぶ方向を第1方向としたとき、
前記ドリフト領域の第1方向長さは、前記第1ソースドレイン領域の第1方向長さおよび前記第2ソースドレイン領域の第1方向長さよりも短い、請求項8に記載の半導体装置。
【請求項10】
第1主面およびその反対側の第2主面を有し、前記第1主面側の表層部分に第1導電型の第1導電型領域を含む半導体チップに対して、前記第1主面側から前記第1導電型領域にトレンチを形成すること、
前記トレンチを介して第1導電型領域に第2導電型の不純物を導入することにより、前記第1導電型領域を、前記第1主面側に位置する第1導電型の第1半導体領域と、前記第2主面側に位置する第1導電型の第3半導体領域とに分離する第2導電型の第2半導体領域を形成すること、
前記トレンチの内壁を被覆する制御絶縁膜を形成すること、
前記制御絶縁膜を挟んで前記トレンチに埋設された制御電極を形成すること、
とを含む、半導体装置の製造方法。
発明の詳細な説明
【技術分野】
【0001】
本発明は、半導体装置および半導体装置の製造方法に関する。
続きを表示(約 2,500 文字)
【背景技術】
【0002】
特許文献1は、第1主面を有する半導体チップと、第1主面の表層部に形成されたn型のドリフト層と、ドリフト層に接するように第1主面に形成されたトレンチゲート構造と、トレンチゲート構造の側壁を被覆するようにドリフト層に形成されたp型のチャネル領域と、チャネル領域を挟んで互いに対向するように、ドリフト層においてトレンチゲート構造の側壁に沿う領域に間隔を空けて形成された第1ソースドレイン領域および第2ソースドレイン領域とを含む、半導体装置を開示している。
【先行技術文献】
【特許文献】
【0003】
国際公開第2021/065740号
【0004】
[概要]
オン抵抗を低減できる半導体装置が求められている。
【図面の簡単な説明】
【0005】
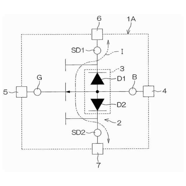
図1は、本開示の第1実施形態に係る半導体装置の回路図である。
図2は、本開示の第1実施形態に係る半導体装置の模式的な斜視図である。
図3は、図2の半導体装置の平面図である。
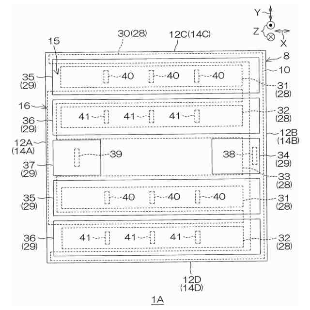
図4は、図2の半導体装置の内部構造を示す平面図である。
図5は、図2の半導体装置の内部構造を示す平面図である。
図6は、図2の半導体装置の内部構造を示す平面図である。
図7は、図2の半導体装置の内部構造を示す平面図である。
図8は、図4の二点鎖線VIIIで囲まれた部分の拡大図である。
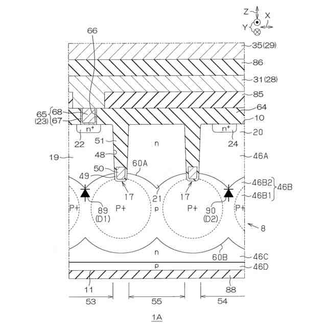
図9は、図8のIX-IX線に沿う断面図である。
図10は、図8のX-X線に沿う断面図である。
図11は、図8のXI-XI線に沿う断面図である。
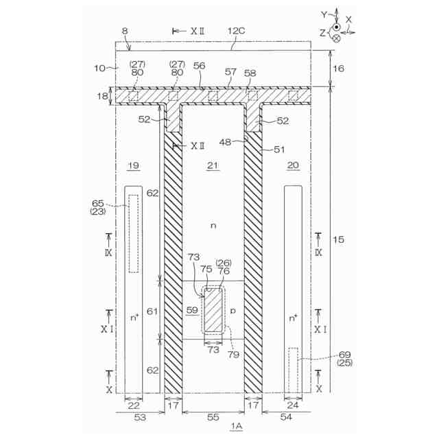
図12は、図8のXII-XII線に沿う断面図である。
図13Aは、本開示の第1実施形態に係る半導体装置の製造工程の一部を示す図である。
図13Bは、図13Aの次の工程を示す図である。
図13Cは、図13Bの次の工程を示す図である。
図13Dは、図13Cの次の工程を示す図である。
図13Eは、図13Dの次の工程を示す図である。
図13Fは、図13Eの次の工程を示す図である。
図13Gは、図13Fの次の工程を示す図である。
図13Hは、図13Gの次の工程を示す図である。
図13Iは、図13Hの次の工程を示す図である。
図13Jは、図13Iの次の工程を示す図である。
図14は、本開示の第1実施形態に係る半導体装置の電流経路を示す断面図である。
図15は、本開示の第1実施形態に係る半導体装置の電流経路を示す平面図である。
図16は、本開示の第1実施形態に係る半導体装置の第1変形例を示す断面図である。
図17は、本開示の第1実施形態に係る半導体装置の第2変形例を示す断面図である。
図18は、本開示の第1実施形態に係る半導体装置の第3変形例を示す断面図である。
図19は、本開示の第2実施形態に係る半導体装置の内部構造を示す模式的な平面図である。
図20は、図19の二点鎖線XXで囲まれた部分の拡大図である。
図21は、図19の二点鎖線XXで囲まれた部分の拡大図である。
図22は、図20のXXII-XXII線に沿う断面図である。
図23は、図20のXXIII-XXIII線に沿う断面図である。
図24は、図20のXXIV-XXIV線に沿う断面図である。
図25は、本開示の第2実施形態に係る半導体装置の電流経路を示す断面図である。
図26は、本開示の第2実施形態に係る半導体装置の電流経路を示す平面図である。
図27は、本開示の第2実施形態に係る半導体装置の変形例を示す平面図である。
【0006】
[詳細な説明]
[第1実施形態]
(半導体装置1Aの構造)
図1は、本開示の第1実施形態に係る半導体装置1Aの回路図である。
【0007】
半導体装置1Aは、コモンソースドレイン型のMISFET(Metal Insulator Semiconductor Field Effect Transistor)2を含む。MISFET2は、ベースB、ゲートG、第1ソースドレインSD1および第2ソースドレインSD2を含む。第1ソースドレインSD1および第2ソースドレインSD2は、ソースおよびドレインを兼ねている。たとえば、半導体装置1Aの接続形態に応じて、第1ソースドレインSD1がソースであり、第2ソースドレインSD2がドレインであってもよい。また、第1ソースドレインSD1がドレインであり、第2ソースドレインSD2がソースであってもよい。
【0008】
ベースBには、基準電圧(たとえばグランド電圧)が印加される。ゲートGには、ベースBを基準としたゲート電圧VGが印加される。ゲートGは、第1ソースドレインSD1および第2ソースドレインSD2の間を流れる電流Iの導通および遮断を制御する。第1ソースドレインSD1には、第1ソースドレイン電圧VSD1(第1電圧)が印加される。第2ソースドレインSD2には、第1ソースドレイン電圧VSD1とは異なる第2ソースドレイン電圧VSD2(第2電圧)が印加される。
【0009】
半導体装置1Aは、第1ソースドレインSD1および第2ソースドレインSD2に接続されたダイオード対3をさらに含む。ダイオード対3は、MISFET2のオフ状態において第1ソースドレインSD1および第2ソースドレインSD2の間を流れる電流Iを規制(遮断)する。
【0010】
ダイオード対3は、具体的には、逆バイアス接続された第1ボディダイオードD1および第2ボディダイオードD2を含む。第1ボディダイオードD1および第2ボディダイオードD2は、アノードおよびカソードをそれぞれ含む。
(【0011】以降は省略されています)
この特許をJ-PlatPat(特許庁公式サイト)で参照する
関連特許
ローム株式会社
発振回路
7日前
ローム株式会社
電子装置
7日前
ローム株式会社
監視回路
7日前
ローム株式会社
半導体装置
3日前
ローム株式会社
半導体装置
7日前
ローム株式会社
半導体装置
5日前
ローム株式会社
半導体装置
3日前
ローム株式会社
半導体装置
5日前
ローム株式会社
半導体装置
5日前
ローム株式会社
半導体装置
5日前
ローム株式会社
半導体装置
3日前
ローム株式会社
半導体装置
3日前
ローム株式会社
メモリ装置
3日前
ローム株式会社
半導体装置
3日前
ローム株式会社
半導体装置
7日前
ローム株式会社
信号出力回路
3日前
ローム株式会社
縦型ホール素子
7日前
ローム株式会社
TVSダイオード
5日前
ローム株式会社
TVSダイオード
5日前
ローム株式会社
半導体モジュール
7日前
ローム株式会社
不揮発性メモリ装置
3日前
ローム株式会社
不揮発性メモリ装置
3日前
ローム株式会社
不揮発性メモリ装置
3日前
ローム株式会社
判定回路、半導体装置
3日前
ローム株式会社
不揮発性半導体記憶装置
3日前
ローム株式会社
表示装置及びソースドライバ
3日前
ローム株式会社
クロックデータリカバリ回路
3日前
ローム株式会社
半導体装置及びデータドライバ
7日前
ローム株式会社
半導体装置及び高電圧検出アンプ
3日前
ローム株式会社
半導体装置および半導体装置の製造方法
7日前
ローム株式会社
集積回路の異常処理回路および集積回路
7日前
ローム株式会社
受信回路、半導体装置、および表示装置
7日前
ローム株式会社
半導体装置および半導体装置の製造方法
3日前
ローム株式会社
半導体装置、および半導体装置の製造方法
3日前
ローム株式会社
半導体装置、および半導体装置の製造方法
7日前
ローム株式会社
電源制御装置、およびDC/DCコンバータ
4日前
続きを見る
他の特許を見る