TOP
|
特許
|
意匠
|
商標
特許ウォッチ
Twitter
他の特許を見る
10個以上の画像は省略されています。
公開番号
2025146499
公報種別
公開特許公報(A)
公開日
2025-10-03
出願番号
2024047323
出願日
2024-03-22
発明の名称
半導体装置
出願人
ローム株式会社
代理人
弁理士法人太陽国際特許事務所
主分類
G06F
13/36 20060101AFI20250926BHJP(計算;計数)
要約
【課題】通信速度が異なる2以上の半導体チップを含む半導体装置の処理性能の低下を抑制する半導体装置を提供する。
【解決手段】半導体装置は、第1のバスを備える第1の半導体チップに設けられ、前記第1の半導体チップ上の特定回路の周囲に設けられている第1の周辺回路と、前記第1の周辺回路に設けられているレジスタと、通信速度が前記第1のバスの通信速度以上の第2のバスを備える第2の半導体チップに設けられ、前記第2の半導体チップ上の特定回路の周囲に設けられている第2の周辺回路と、前記レジスタに保持されるデータに応じた信号を、前記第2の周辺回路に伝送する1又は複数の信号線と、を備え、前記レジスタに保持されるデータは、前記第1のバスを介さずに、1又は複数の前記信号線を介して、前記第2の周辺回路に伝送される。
【選択図】図2
特許請求の範囲
【請求項1】
第1のバスを備える第1の半導体チップに設けられ、前記第1の半導体チップ上の特定回路の周囲に設けられている第1の周辺回路と、
前記第1の周辺回路に設けられているレジスタと、
通信速度が前記第1のバスの通信速度以上の第2のバスを備える第2の半導体チップに設けられ、前記第2の半導体チップ上の特定回路の周囲に設けられている第2の周辺回路と、
前記レジスタに保持されるデータに応じた信号を、前記第2の周辺回路に伝送する1又は複数の信号線と、
を備え、
前記レジスタに保持されるデータは、前記第1のバスを介さずに、1又は複数の前記信号線を介して、前記第2の周辺回路に伝送される、半導体装置。
続きを表示(約 400 文字)
【請求項2】
前記第2の半導体チップに設けられ、前記第2の周辺回路に保持されたデータを、前記第2のバスを介して読み出す回路を備える、請求項1に記載の半導体装置。
【請求項3】
前記第1の半導体チップに設けられ、前記レジスタに保持されるデータを時分割し、時分割した当該データを1又は複数の前記信号線を介して、前記第2の周辺回路に転送する第1の転送回路と、
前記第1の転送回路から転送されたデータから、前記レジスタに保持されるデータを復元し、復元した当該データを前記第2の周辺回路に転送する第2の転送回路と、を備える、請求項1に記載の半導体装置。
【請求項4】
前記第1の半導体チップは第1の半導体チップであり、
前記第2の半導体チップは、1又は複数の前記信号線を介して前記第1の半導体チップに接続する第2の半導体チップである、請求項1に記載の半導体装置。
発明の詳細な説明
【技術分野】
【0001】
本開示は、半導体装置に関する。
続きを表示(約 2,200 文字)
【背景技術】
【0002】
特許文献1に開示される半導体装置の例であるマルチダイパッケージ(チップ)は、複数のダイ(半導体チップ)がデータを通信するためチップ間信号線で接続されている。
【先行技術文献】
【特許文献】
【0003】
特表2018-510512号公報
【発明の概要】
【発明が解決しようとする課題】
【0004】
例えば、共通利用する先端プロセスのダイに、1又は複数のレガシープロセスのダイを組み合わせる場合、一般的に、先端プロセスのダイに設けられている通信バスの通信速度(転送速度)は、レガシープロセスのダイに設けられている通信バスの通信速度(転送速度)を比べて早い。このため、これらの通信速度の違いに起因し、つまりレガシープロセスのダイの通信速度に起因し、チップ全体の処理性能が低下するおそれがある。従って、従来技術は、通信速度が異なる2以上の半導体チップを含む半導体装置の処理性能の低下を抑制する上で改善の余地がある。
【0005】
本開示は、上記の事情を踏まえ、通信速度が異なる2以上の半導体チップを含む半導体装置の処理性能の低下を抑制する半導体装置を提供することを目的とする。
【課題を解決するための手段】
【0006】
上記課題を解決するため、本開示にかかる半導体装置は、第1のバスを備える第1の半導体チップに設けられ、前記第1の半導体チップ上の特定回路の周囲に設けられている第1の周辺回路と、前記第1の周辺回路に設けられているレジスタと、通信速度が前記第1のバスの通信速度以上の第2のバスを備える第2の半導体チップに設けられ、前記第2の半導体チップ上の特定回路の周囲に設けられている第2の周辺回路と、前記レジスタに保持されるデータに応じた信号を、前記第2の周辺回路に伝送する1又は複数の信号線と、を備え、前記レジスタに保持されるデータは、前記第1のバスを介さずに、1又は複数の前記信号線を介して、前記第2の周辺回路に伝送される。
【図面の簡単な説明】
【0007】
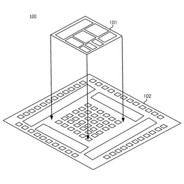
図1Aは本開示の実施形態にかかる半導体装置100の外観図である。
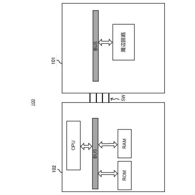
図1Bは本開示の実施形態にかかる半導体装置100のハードウエア構成図である。
図2は本開示の実施形態にかかる半導体装置100が備える回路の具体例を示す図である。
図3Aは第1の周辺回路11のバスI/Fの構成例を示す図である。
図3Bは第2の周辺回路21の構成例を示す図である。
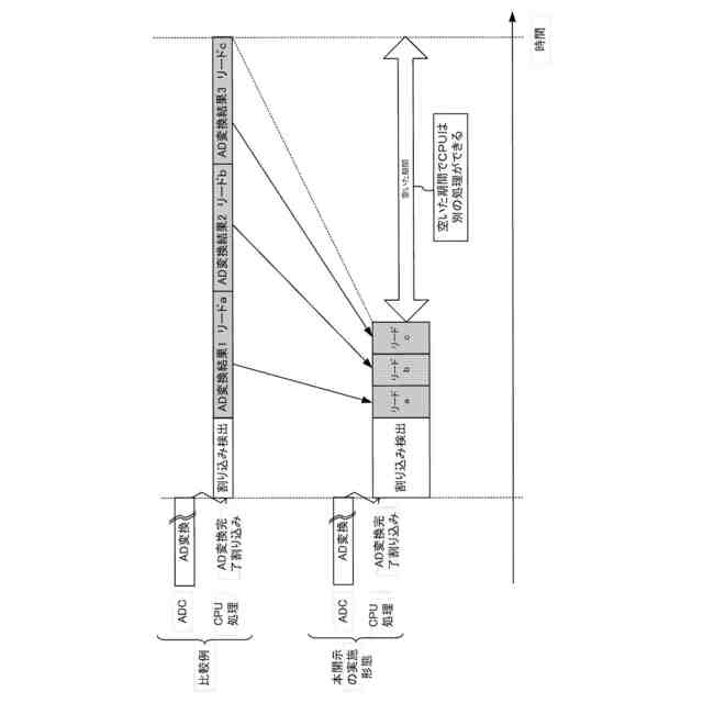
本開示の半導体装置100の動作を説明するための図である。
本開示の半導体装置100の動作を説明するための図である。
図5は比較例にかかる半導体装置100Aの構成例を示す図である。
図6は比較例にかかる半導体装置100Aの第1の周辺回路11Aの構成例を示す図である。
図7は比較例にかかる半導体装置100Aの動作を説明するための図である。
図8は変形例にかかる半導体装置100-1の構成例を示す図である。
図9Aは変形例にかかる半導体装置100-1が備える第1の半導体チップ101-1と第1の転送回路14との接続関係を示す図である。
図9Bは変形例にかかる半導体装置100-1が備える第2の半導体チップ102-1と第2の転送回路26との接続関係を示す図である。
図10Aは変形例にかかる半導体装置100-1の動作を説明するための図である。
図10Bは変形例にかかる半導体装置100-1の動作を説明するための図である。
図11Aは第1の転送回路14の構成例を示す図である。
図11Bは第2の転送回路26の構成例を示す図である。
図11Cは送信優先制御部1の構成図である。
図12Aはグループの送信優先順について説明するための図である。
図12Bは変化した信号を含むグループを示す信号の値の具体例を説明するための図である。
【発明を実施するための形態】
【0008】
以下、実施形態を図面に基づいて説明する。なお、同一の機能や構成には、同一又は類似の符号を付して、その説明を適宜省略する。
【0009】
(実施形態)
図1Aは本開示の実施形態にかかる半導体装置100の外観図である。図1Bは本開示の実施形態にかかる半導体装置100のハードウエア構成の概略図である。図2は本開示の実施形態にかかる半導体装置100が備える回路の具体例を示す図である。半導体装置100は、第1の半導体チップ101及び第2の半導体チップ102を備えてよい。第2の半導体チップ102は、複数の信号線SWと複数のバス(BUS)を介して、第1の半導体チップ101に接続される。第1の半導体チップ101は例えばカスタムダイ、第2の半導体チップ102はコア(RORE)ダイと解釈してよい。
【0010】
(第1の半導体チップ101)
図2に示すように第1の半導体チップ101は、第1の周辺回路11と、第1のバス12と、レベルシフタ13を備えてよい。
(【0011】以降は省略されています)
この特許をJ-PlatPat(特許庁公式サイト)で参照する
関連特許
ローム株式会社
RAM
2日前
ローム株式会社
RAM
2日前
ローム株式会社
電源装置
2日前
ローム株式会社
駆動回路
4日前
ローム株式会社
発振回路
2日前
ローム株式会社
半導体装置
2日前
ローム株式会社
半導体装置
3日前
ローム株式会社
暗号化装置
3日前
ローム株式会社
半導体装置
3日前
ローム株式会社
半導体装置
3日前
ローム株式会社
半導体装置
4日前
ローム株式会社
半導体装置
4日前
ローム株式会社
半導体装置
2日前
ローム株式会社
半導体装置
2日前
ローム株式会社
半導体装置
3日前
ローム株式会社
テスト回路
3日前
ローム株式会社
半導体装置
4日前
ローム株式会社
半導体装置
5日前
ローム株式会社
半導体装置
9日前
ローム株式会社
半導体装置
9日前
ローム株式会社
半導体装置
9日前
ローム株式会社
半導体装置
2日前
ローム株式会社
メモリ装置
9日前
ローム株式会社
半導体装置
2日前
ローム株式会社
時間測定回路
4日前
ローム株式会社
無線通信回路
4日前
ローム株式会社
無線通信装置
3日前
ローム株式会社
静電気保護素子
2日前
ローム株式会社
異常検知システム
2日前
ローム株式会社
フォトダイオード
4日前
ローム株式会社
不揮発性メモリ装置
9日前
ローム株式会社
不揮発性メモリ装置
9日前
ローム株式会社
検証装置及び検証方法
2日前
ローム株式会社
半導体装置及び補正方法
2日前
ローム株式会社
アンテナ付高周波モジュール
4日前
ローム株式会社
半導体装置及び半導体チップ
3日前
続きを見る
他の特許を見る