TOP
|
特許
|
意匠
|
商標
特許ウォッチ
Twitter
他の特許を見る
10個以上の画像は省略されています。
公開番号
2025146437
公報種別
公開特許公報(A)
公開日
2025-10-03
出願番号
2024047199
出願日
2024-03-22
発明の名称
半導体装置及び高電圧検出アンプ
出願人
ローム株式会社
代理人
個人
,
個人
,
個人
主分類
H10D
89/00 20250101AFI20250926BHJP()
要約
【課題】 汎用性の高い半導体装置及び高電圧検出アンプを提供する。
【解決手段】
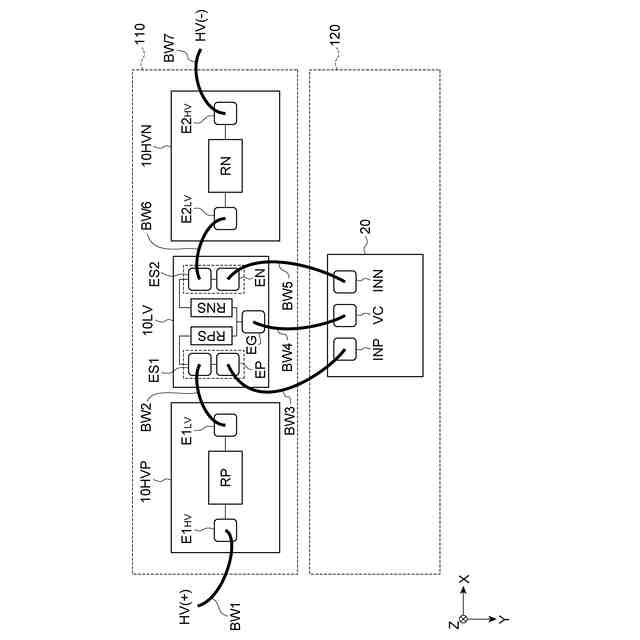
半導体装置は、第1チップ10HVPと、第2チップ10HVNと、第3チップ10LVと、を備え、第3チップ10LVは、第1抵抗器RPから延びた第1ボンディングワイヤが接続され、第1電圧検出用抵抗器RPSに電気的に接続される第1電極パッドES1と、第2抵抗器RNから延びた第2ボンディングワイヤが接続され、第2電圧検出用抵抗器RNSに電気的に接続される第2電極パッドES2と、第1電極パッドES1に接続された第1出力電極EPと、第2電極パッドES2に接続された第2出力電極ENと、第1電圧検出用抵抗器RPSと第2電圧検出用抵抗器RNSとの間の接続点に電気的に接続された基準電極EGと、を備える。
【選択図】図2
特許請求の範囲
【請求項1】
第1抵抗器を備える第1チップと、
第2抵抗器を備える第2チップと、
前記第1抵抗器よりも低い抵抗値を有する第1電圧検出用抵抗器、及び、前記第2抵抗器よりも低い抵抗値を有し、前記第1電圧検出用抵抗器に直列に接続された第2電圧検出用抵抗器を備える第3チップと、
を備え、
前記第3チップは、
前記第1抵抗器から延びた第1ボンディングワイヤが接続され、前記第1電圧検出用抵抗器に電気的に接続される第1電極パッドと、
前記第2抵抗器から延びた第2ボンディングワイヤが接続され、前記第2電圧検出用抵抗器に電気的に接続される第2電極パッドと、
前記第1電極パッドに接続された第1出力電極と、
前記第2電極パッドに接続された第2出力電極と、
前記第1電圧検出用抵抗器と前記第2電圧検出用抵抗器との間の接続点に電気的に接続された基準電極と、
を備える、
半導体装置。
続きを表示(約 1,400 文字)
【請求項2】
前記第1チップは、
第1半導体基板と、
前記第1半導体基板上に設けられた第1絶縁層と、
前記第1絶縁層内に埋設された前記第1抵抗器と、
を備え、
前記第2チップは、
第2半導体基板と、
前記第2半導体基板上に設けられた第2絶縁層と、
前記第2絶縁層内に埋設された前記第2抵抗器と、
を備え、
前記第3チップは、
第3半導体基板と、
前記第3半導体基板上に設けられた第3絶縁層と、
前記第3絶縁層内に埋設された前記第1電圧検出用抵抗器と、
前記第3絶縁層内に埋設された前記第2電圧検出用抵抗器と、
を備える、
請求項1に記載の半導体装置。
【請求項3】
請求項1又は請求項2に記載の半導体装置と、
前記第1出力電極に電気的に接続された入力端子を備える第1アンプ、前記第2出力電極に電気的に接続された入力端子を備える第2アンプ、及び、前記基準電極に電気的に接続された基準端子を備える増幅器チップと、
を備える高電圧検出アンプ。
【請求項4】
第1抵抗器を備える第1チップと、
第2抵抗器を備える第2チップと、
増幅器チップと、
を備え、
前記増幅器チップは、
前記第1抵抗器よりも低い抵抗値を有し、前記第1抵抗器に電気的に接続された第1電圧検出用抵抗器と、
前記第2抵抗器よりも低い抵抗値を有し、前記第1電圧検出用抵抗器に直列に接続され、前記第2抵抗器に電気的に接続された第2電圧検出用抵抗器と、
前記第1抵抗器と前記第1電圧検出用抵抗器との接続点に電気的に接続された入力端子を備える第1アンプと、
前記第2抵抗器と前記第2電圧検出用抵抗器との接続点に電気的に接続された入力端子を備える第2アンプと、
を備える、
高電圧検出アンプ。
【請求項5】
第1電圧検出用抵抗器と、
前記第1電圧検出用抵抗器に直列に接続された第2電圧検出用抵抗器と、
第1ボンディングワイヤが接続され、前記第1電圧検出用抵抗器に電気的に接続される第1電極パッドと、
第2ボンディングワイヤが接続され、前記第2電圧検出用抵抗器に電気的に接続される第2電極パッドと、
前記第1電極パッドに電気的に接続された第1出力電極と、
前記第2電極パッドに電気的に接続された第2出力電極と、
前記第1電圧検出用抵抗器と前記第2電圧検出用抵抗器との間の接続点に電気的に接続された基準電極と、
を備える、
半導体装置。
【請求項6】
半導体基板と、
半導体基板上に設けられた絶縁層と、
前記絶縁層内に埋設された前記第1電圧検出用抵抗器と、
前記絶縁層内に埋設された前記第2電圧検出用抵抗器と、
を備える、
請求項5に記載の半導体装置。
【請求項7】
前記絶縁層内に埋設され、平面視において、前記第1電圧検出用抵抗器及び前記第2電圧検出用抵抗器の形成された領域を囲む環状導電体と、
を備える、
請求項6に記載の半導体装置。
発明の詳細な説明
【技術分野】
【0001】
本開示は、半導体装置及び高電圧検出アンプに関する。
続きを表示(約 1,700 文字)
【背景技術】
【0002】
特許文献1は、複数の抵抗素子を備えた半導体装置を開示している。
【先行技術文献】
【特許文献】
【0003】
国際公開第2023/085026号
【0004】
[概要]
本開示は、汎用性の高い半導体装置及び高電圧検出アンプを提供する。
【0005】
本開示の半導体装置は、第1抵抗器を備える第1チップと、第2抵抗器を備える第2チップと、前記第1抵抗器よりも低い抵抗値を有する第1電圧検出用抵抗器、及び、前記第2抵抗器よりも低い抵抗値を有し、前記第1電圧検出用抵抗器に直列に接続された第2電圧検出用抵抗器を備える第3チップと、を備え、前記第3チップは、前記第1抵抗器から延びた第1ボンディングワイヤが接続され、前記第1電圧検出用抵抗器に電気的に接続される第1電極パッドと、前記第2抵抗器から延びた第2ボンディングワイヤが接続され、前記第2電圧検出用抵抗器に電気的に接続される第2電極パッドと、前記第1電極パッドに接続された第1出力電極と、前記第2電極パッドに接続された第2出力電極と、前記第1電圧検出用抵抗器と前記第2電圧検出用抵抗器との間の接続点に電気的に接続された基準電極と、を備える。
【図面の簡単な説明】
【0006】
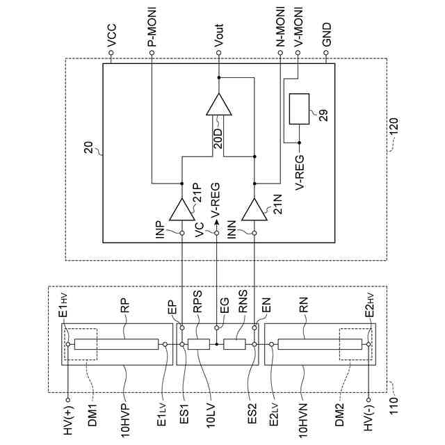
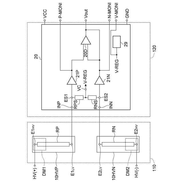
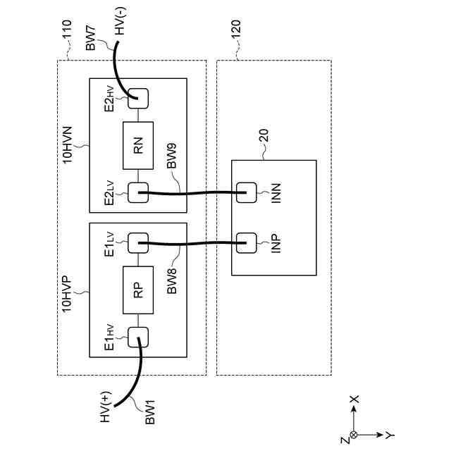
図1は、第1実施形態に係る半導体パッケージの平面図である。
図2は、抵抗チップ群及び増幅器チップの平面配置を示す図である。
図3は、抵抗チップ群及び増幅器チップの回路図である。
図4は、入力電圧HV(kV)と出力電圧Vout(V)の関係を示すグラフである。
図5は、第2実施形態に係る半導体パッケージの平面図である。
図6は、抵抗チップ群及び増幅器チップの平面配置を示す図である。
図7は、抵抗チップ群及び増幅器チップの回路図である。
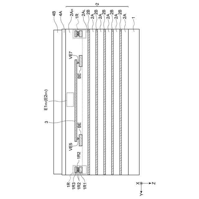
図8は、第1チップの平面図(図8(A))及び第2チップの平面図(図8(B))である。
図9は、第1又は第2チップの縦断面構成を示す図である。
図10は、第1例に係る第3チップの平面図(図10(A))及び第2例に係る第3チップの平面図(図10(B))である。
図11は、第3チップの縦断面構成を示す図である。
図12は、第3例に係る第3チップの平面図である。
図13は、電極周囲に設けられるダミー配線の平面構成を示す図である。
図14は、第1タイプのダミー配線の平面構成の具体例を示す図(図14(A))及び第2タイプのダミー配線の平面構成の具体例を示す図(図14(B))である。
【0007】
[詳細な説明]
以下、図面を参照して種々の例示的実施形態について詳細に説明する。なお、各図面において同一又は相当の部分に対しては同一の符号を附することとし、重複する説明は省略する。
【0008】
図1は、半導体パッケージの平面図である。なお、同図では、上部の蓋材を除いた状態が示されている。
【0009】
半導体パッケージ100は、凹部D1を有するケース101を備えている。ケース101は、樹脂又はセラミックなどの絶縁性材料からなる。
【0010】
半導体パッケージ100は、凹部D1内の第1ダイパッド110上に配置された抵抗チップ(第1チップ10HVP、第2チップ10HVN、及び、第3チップ10LV)と、凹部D1内の第2ダイパッド120上に配置された増幅器チップ20とを備えている。半導体パッケージ100は、全体としては高電圧検出アンプを構成している。また、第1チップ10HVP、第2チップ10HVN、第3チップ10LV、及び、増幅器チップ20は、それぞれが半導体装置である。半導体パッケージ100の凹部D1の開口端は、図示しない蓋材で封止され、凹部D1内は密閉空間とされている。蓋材の材料は樹脂等の絶縁材料とすることができ、凹部D1内は気体を充填してもよく、絶縁材料を充填してもよい。
(【0011】以降は省略されています)
この特許をJ-PlatPat(特許庁公式サイト)で参照する
関連特許
ローム株式会社
タイマ
11日前
ローム株式会社
電子装置
7日前
ローム株式会社
発振回路
1か月前
ローム株式会社
監視回路
7日前
ローム株式会社
発振回路
7日前
ローム株式会社
半導体装置
18日前
ローム株式会社
半導体装置
7日前
ローム株式会社
半導体装置
5日前
ローム株式会社
半導体装置
5日前
ローム株式会社
半導体装置
5日前
ローム株式会社
半導体装置
7日前
ローム株式会社
半導体装置
5日前
ローム株式会社
メモリ装置
7日前
ローム株式会社
半導体装置
3日前
ローム株式会社
半導体装置
11日前
ローム株式会社
半導体装置
3日前
ローム株式会社
半導体装置
3日前
ローム株式会社
メモリ装置
3日前
ローム株式会社
半導体装置
3日前
ローム株式会社
圧電共振器
28日前
ローム株式会社
入出力回路
28日前
ローム株式会社
基準電圧源
28日前
ローム株式会社
半導体装置
27日前
ローム株式会社
半導体装置
26日前
ローム株式会社
半導体装置
26日前
ローム株式会社
半導体装置
26日前
ローム株式会社
半導体装置
3日前
ローム株式会社
半導体装置
17日前
ローム株式会社
信号出力回路
3日前
ローム株式会社
信号出力回路
17日前
ローム株式会社
信号出力回路
17日前
ローム株式会社
半導体記憶装置
10日前
ローム株式会社
半導体集積回路
18日前
ローム株式会社
電圧制御発振器
27日前
ローム株式会社
MEMSセンサ
27日前
ローム株式会社
縦型ホール素子
7日前
続きを見る
他の特許を見る