TOP
|
特許
|
意匠
|
商標
特許ウォッチ
Twitter
他の特許を見る
10個以上の画像は省略されています。
公開番号
2025148621
公報種別
公開特許公報(A)
公開日
2025-10-08
出願番号
2022108205
出願日
2022-07-05
発明の名称
半導体装置および半導体装置ユニット
出願人
ローム株式会社
代理人
個人
,
個人
主分類
H01L
25/07 20060101AFI20251001BHJP(基本的電気素子)
要約
【課題】放熱性を改善するとともに、様々な電流容量に対応させるのに適した半導体装置を提供する。
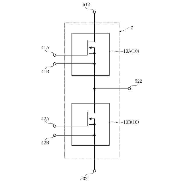
【解決手段】2つのみのスイッチング素子10と、2つのみのスイッチング素子10を覆う封止樹脂7と、を備え、2つのみのスイッチング素子10は、一方が第1スイッチング素子10A、他方が第2スイッチング素子10Bであり、第1スイッチング素子10Aおよび第2スイッチング素子10Bの各々は、SiCを構成材料として含み、第1スイッチング素子10Aと第2スイッチング素子10Bとは、第1スイッチング素子10Aを上アーム、第2スイッチング素子10Bを下アームとして、直列に接続されている。
【選択図】図7
特許請求の範囲
【請求項1】
2つのみのスイッチング素子と、前記2つのみのスイッチング素子を覆う封止樹脂と、を備え、
前記2つのみのスイッチング素子は、一方が第1スイッチング素子、他方が第2スイッチング素子であり、
前記第1スイッチング素子および前記第2スイッチング素子の各々は、SiCを構成材料として含み、
前記第1スイッチング素子と前記第2スイッチング素子とは、前記第1スイッチング素子を上アーム、前記第2スイッチング素子を下アームとして、直列に接続されている、半導体装置。
続きを表示(約 1,400 文字)
【請求項2】
主電流が流れる複数の主端子をさらに備え、
前記複数の主端子は、前記封止樹脂に対して第1方向の一方側に位置する第1主端子を含む、請求項1に記載の半導体装置。
【請求項3】
前記第1方向に対して直交する第2方向の一方側に配置された第1結合形状と、
前記第2方向の他方側に配置された第2結合形状と、をさらに備え、
前記第1結合形状と前記第2結合形状とは、組み合わせることが可能である、請求項2に記載の半導体装置。
【請求項4】
前記封止樹脂は、前記第1方向および前記第2方向の双方に直交する厚さ方向の一方側を向く樹脂主面と、前記第1方向の一方側および他方側を向く第1樹脂側面および第2樹脂側面と、前記第2方向の一方側および他方側を向く第3樹脂側面および第4樹脂側面と、を有する、請求項3に記載の半導体装置。
【請求項5】
前記複数の主端子は、前記封止樹脂に対して前記第1方向の他方側に位置する第2主端子と、前記封止樹脂に対して前記第1方向の一方側に位置する第3主端子と、を含む、請求項4に記載の半導体装置。
【請求項6】
前記第1スイッチング素子および前記第2スイッチング素子を制御するための複数の制御端子をさらに備え、
前記封止樹脂は、前記第3樹脂側面から前記第2方向の他方側に凹む少なくとも1つの側面凹部を有し、
前記複数の制御端子は、前記第4樹脂側面から突出し、且つ前記第2方向に見て前記少なくとも1つの側面凹部と重なり、
前記少なくとも1つの側面凹部は、前記第1結合形状に含まれ、
前記複数の制御端子は、前記第2結合形状に含まれる、請求項4に記載の半導体装置。
【請求項7】
前記複数の主端子は、前記第4樹脂側面から突出する第2主端子を含み、
前記第2主端子は、前記第2方向に見て前記少なくとも1つの側面凹部と重なり、
前記第2主端子は、前記第2結合形状に含まれる、請求項6に記載の半導体装置。
【請求項8】
前記第3樹脂側面には、第1係合部が設けられ、且つ前記第4樹脂側面には、第2係合部が設けられており、
前記第1係合部と前記第2係合部とは、互いに係合可能であり、
前記第1係合部は、前記第1結合形状に含まれ、
前記第2係合部は、前記第2結合形状に含まれる、請求項4に記載の半導体装置。
【請求項9】
前記封止樹脂は、前記第3樹脂側面に設けられた第1位置合わせ部と、前記第4樹脂側面に設けられた第2位置合わせ部と、を有し、
前記第1位置合わせ部は、前記第1結合形状に含まれ、
前記第2位置合わせ部は、前記第2結合形状に含まれ、
前記第1位置合わせ部と前記第2位置合わせ部が位置合わせされたときに、前記第1係合部と前記第2係合部とが互いに係合する、請求項8に記載の半導体装置。
【請求項10】
前記第1スイッチング素子および前記第2スイッチング素子を制御するための複数の制御端子をさらに備え、
前記複数の制御端子は、前記樹脂主面から突出する、請求項8に記載の半導体装置。
(【請求項11】以降は省略されています)
発明の詳細な説明
【技術分野】
【0001】
本開示は、半導体装置および半導体装置ユニットに関する。
続きを表示(約 2,800 文字)
【背景技術】
【0002】
従来、MOSFET(Metal Oxide Semiconductor Field Effect Transistor)などの電力用スイッチング素子を備える半導体装置が知られている。このような半導体装置は、産業機器から家電や情報端末、自動車用機器まであらゆる電子機器に搭載される。特許文献1には、従来の半導体装置が開示されている。特許文献1に記載の半導体装置は、複数の半導体素子(10)、およびこれら半導体素子を覆う封止樹脂(70)を備えている。複数の半導体素子(10)の各々は、SiCを構成材料とするスイッチング素子である。複数の半導体素子(10)は、複数の半導体素子10A(第1スイッチング素子)および複数の半導体素子10B(第2スイッチング素子)を含んでいる。上記従来の半導体装置において、複数の半導体素子10Aは上アーム回路を構成し、複数の半導体素子10Bは下アーム回路を構成する。上アーム回路において、複数の半導体素子10Aは互いに並列に接続され、下アーム回路において、複数の半導体素子10Bは互いに並列に接続される。複数の半導体素子10Aと複数の半導体素子10Bとは、直列に接続されている。SiCを構成材料とする半導体素子は大面積化が困難であるため、特許文献1に記載された半導体装置のように、当該半導体装置に要求される電流容量に応じて、複数ずつの半導体素子10A,10Bがそれぞれ並列して内蔵される。
【0003】
しかしながら、上記従来の半導体装置の構成によれば、並列された複数ずつの半導体素子10A,10Bそれぞれにおいて熱干渉が生じるおそれがあり、放熱性の低下が懸念される。また、半導体装置において要求される電流容量に応じて、内蔵する半導体素子10A,10Bの数量を変える必要がある。これに対応するには、半導体装置の製品種類を増やす必要があり、製造コストの上昇を招くことになる。
【先行技術文献】
【特許文献】
【0004】
国際公開第2020/105476号
【発明の概要】
【発明が解決しようとする課題】
【0005】
本開示は、上記した事情のもとで考え出されたものであって、放熱性を改善するとともに、様々な電流容量に対応させるのに適した半導体装置を提供することを主たる課題とする。
【課題を解決するための手段】
【0006】
本開示の第1の側面によって提供される半導体装置は、2つのみのスイッチング素子と、前記2つのみのスイッチング素子を覆う封止樹脂と、を備え、前記2つのみのスイッチング素子は、一方が第1スイッチング素子、他方が第2スイッチング素子であり、前記第1スイッチング素子および前記第2スイッチング素子の各々は、SiCを構成材料として含み、前記第1スイッチング素子と前記第2スイッチング素子とは、前記第1スイッチング素子を上アーム、前記第2スイッチング素子を下アームとして、直列に接続されている。
【0007】
本開示の第2の側面によって提供される半導体装置ユニットは、本開示の第1の側面に係る複数の半導体装置を備え、前記複数の半導体装置が互いに組み合わされている。
【発明の効果】
【0008】
本開示の半導体装置によれば、放熱性を改善するとともに、様々な電流容量に対応可能である。
【0009】
本開示のその他の特徴および利点は、添付図面を参照して以下に行う詳細な説明によって、より明らかとなろう。
【図面の簡単な説明】
【0010】
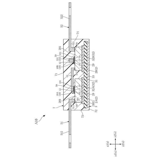
図1は、本開示の第1実施形態に係る半導体装置を示す斜視図である。
図2は、本開示の第1実施形態に係る半導体装置を示し、背面側から見た斜視図である。
図3は、本開示の第1実施形態に係る半導体装置を示す平面図であり、封止樹脂を想像線で示した図である。
図4は、図3の平面図において、第3導通部材を省略した図である。
図5は、本開示の第1実施形態に係る半導体装置を示す正面図であり、封止樹脂を想像線で示した図である。
図6は、図3のVI-VI線に沿う断面図である。
図7は、本開示の第1実施形態に係る半導体装置の回路構成を示す図である。
図8は、本開示の第1実施形態に係る半導体装置を複数備えた半導体装置ユニットを示す斜視図である。
図9は、第1実施形態の第1変形例に係る半導体装置を示す斜視図である。
図10は、第1実施形態の第1変形例に係る半導体装置を示す正面図であり、封止樹脂を想像線で示した図である。
図11は、第1実施形態の第2変形例に係る半導体装置を示す斜視図である。
図12は、第1実施形態の第2変形例に係る半導体装置を示す正面図であり、封止樹脂を想像線で示した図である。
図13は、第1実施形態の第3変形例に係る半導体装置を示す斜視図である。
図14は、第1実施形態の第3変形例に係る半導体装置を示す正面図であり、封止樹脂を想像線で示した図である。
図15は、第1実施形態の第3変形例に係る半導体装置を複数備えた半導体装置ユニットを示す斜視図である。
図16は、本開示の第2実施形態に係る半導体装置を示す斜視図である。
図17は、本開示の第2実施形態に係る半導体装置を示す右側面図である。
図18は、本開示の第2実施形態に係る半導体装置を複数備えた半導体装置ユニットを示す斜視図である。
図19は、本開示の第3実施形態に係る半導体装置を示す斜視図である。
図20は、本開示の第3実施形態に係る半導体装置を複数備えた半導体装置ユニットを示す斜視図である。
図21は、本開示の第4実施形態に係る半導体装置を示す斜視図である。
図22は、本開示の第4実施形態に係る半導体装置を複数備えた半導体装置ユニットの一例を示す斜視図である。
図23は、本開示の第4実施形態に係る半導体装置を複数備えた半導体装置ユニットの他の例を示す斜視図である。
図24は、本開示の第5実施形態に係る半導体装置を示す斜視図である。
図25は、本開示の第5実施形態に係る半導体装置を示し、背面側から見た斜視図である。
図26は、第5実施形態の変形例に係る半導体装置を示す斜視図である。
図27は、第5実施形態の変形例に係る半導体装置を示し、背面側から見た斜視図である。
図28は、本開示に係る半導体装置の他の構成例を示す回路構成図である。
【発明を実施するための形態】
(【0011】以降は省略されています)
この特許をJ-PlatPat(特許庁公式サイト)で参照する
関連特許
ローム株式会社
発振回路
10日前
ローム株式会社
電子装置
10日前
ローム株式会社
駆動回路
1日前
ローム株式会社
半導体装置
8日前
ローム株式会社
半導体装置
1日前
ローム株式会社
半導体装置
1日前
ローム株式会社
半導体装置
今日
ローム株式会社
半導体装置
8日前
ローム株式会社
半導体装置
6日前
ローム株式会社
半導体装置
6日前
ローム株式会社
半導体装置
6日前
ローム株式会社
半導体装置
今日
ローム株式会社
半導体装置
2日前
ローム株式会社
半導体装置
6日前
ローム株式会社
半導体装置
今日
ローム株式会社
半導体装置
8日前
ローム株式会社
半導体装置
6日前
ローム株式会社
半導体装置
1日前
ローム株式会社
半導体装置
8日前
ローム株式会社
テスト回路
今日
ローム株式会社
半導体装置
今日
ローム株式会社
暗号化装置
今日
ローム株式会社
半導体装置
10日前
ローム株式会社
メモリ装置
6日前
ローム株式会社
信号出力回路
6日前
ローム株式会社
時間測定回路
1日前
ローム株式会社
無線通信回路
1日前
ローム株式会社
無線通信装置
今日
ローム株式会社
TVSダイオード
8日前
ローム株式会社
フォトダイオード
1日前
ローム株式会社
半導体モジュール
10日前
ローム株式会社
TVSダイオード
8日前
ローム株式会社
不揮発性メモリ装置
6日前
ローム株式会社
不揮発性メモリ装置
6日前
ローム株式会社
不揮発性メモリ装置
6日前
ローム株式会社
判定回路、半導体装置
6日前
続きを見る
他の特許を見る