TOP
|
特許
|
意匠
|
商標
特許ウォッチ
Twitter
他の特許を見る
公開番号
2025146208
公報種別
公開特許公報(A)
公開日
2025-10-03
出願番号
2024046862
出願日
2024-03-22
発明の名称
不揮発性メモリ装置
出願人
ローム株式会社
代理人
弁理士法人 佐野特許事務所
主分類
G11C
29/50 20060101AFI20250926BHJP(情報記憶)
要約
【課題】メモリ素子の不良を精度よく検出する。
【解決手段】不揮発性メモリ装置(1)は、第1電流(Id1)を出力可能な構成の第1メモリ素子(M1)と、第2電流(Id2)を出力可能な構成の第2メモリ素子(M2)と、参照電流(IREF)を供給可能な構成の電流供給回路(2)と、第1電流(Id1)と参照電流(IREF)及び第2電流(Id2)と参照電流(IREF)とを比較可能な構成のセンスアンプ(SA)と、センスアンプ(SA)に接続されて、第1電流(Id1)と参照電流(IREF)との比較結果と、第2電流(Id2)と参照電流(IREF)との比較結果に基づいて、第1電流(Id1)の電流値と第2電流(Id2)の電流値との差を取得する構成の電流差取得回路(3)と、を有するように構成されている。
【選択図】図1
特許請求の範囲
【請求項1】
第1電流を出力可能な構成の第1メモリ素子と、
前記第1メモリ素子と並列に配置されて第2電流を出力可能な構成の第2メモリ素子と、
一定の範囲で変動する参照電流を供給可能な構成の電流供給回路と、
前記第1電流と前記参照電流との大小及び前記第2電流と前記参照電流との大小を比較可能な構成のセンスアンプと、
前記センスアンプに接続されて、前記第1電流と前記参照電流との比較結果である第1比較結果と、前記第2電流と前記参照電流との比較結果である第2比較結果に基づいて、前記第1電流の電流値と前記第2電流の電流値との差を取得する構成の電流差取得回路と、を有するように構成されている不揮発性メモリ装置。
続きを表示(約 760 文字)
【請求項2】
電流差取得回路は、前記第1比較結果を保持する構成の第1保持回路と、前記第2比較結果を保持する構成の第2保持回路と、前記第1保持回路が保持した情報と前記第2保持回路が保持した情報とに基づいて前記第1電流と前記第2電流との電流差を取得するように構成されている請求項1に記載の不揮発性メモリ装置。
【請求項3】
前記センスアンプに接続されるように構成された第1配線及び第2配線と、を有し、
前記第1配線に前記第1電流が流れているときには前記参照電流を前記第2配線に供給する第1判定状態と、前記第2配線に前記第2電流が流れているときには前記参照電流を前記第1配線に供給する第2判定状態と、を切り替えることができる制御回路を有するように構成された請求項1に記載の不揮発性メモリ装置。
【請求項4】
制御回路は、前記第1電流の電流値と前記第2電流の電流値との差の大きさに基づいて前記第1メモリ素子及び前記第2メモリ素子の状態を検出する状態検出動作を実行可能なように構成された請求項3に記載の不揮発性メモリ装置。
【請求項5】
制御回路は、前記第1電流の電流値と前記第2電流の電流値との差に基づいて良否判定動作を実行可能なように構成された請求項3に記載の不揮発性メモリ装置。
【請求項6】
制御回路は、前記第1メモリ素子及び前記第2メモリ素子の寿命を推定する寿命推定動作を実行可能なように構成された請求項3に記載の不揮発性メモリ装置。
【請求項7】
少なくとも前記第1メモリ素子と、前記第2メモリ素子と、前記電流供給回路とは、単一のパッケージに封止されるように構成された請求項1から請求項6のいずれかに記載の不揮発性メモリ装置。
発明の詳細な説明
【技術分野】
【0001】
本明細書中に開示されている発明は、不揮発性メモリ装置に関する。
続きを表示(約 1,700 文字)
【背景技術】
【0002】
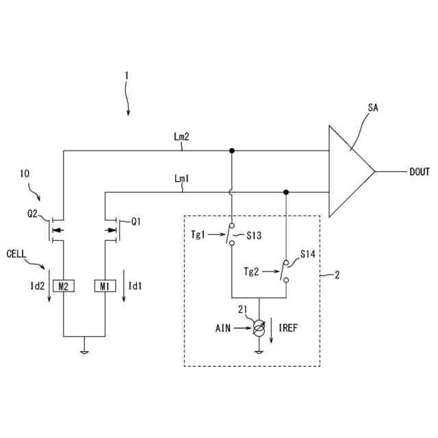
特許文献1で提案されている半導体不揮発記憶回路は、1ビットのデータを格納するメモリセルとして、第1トランジスタと、第1トランジスタよりもオン電流の高い第2トランジスタと、を一対としたトランジスタペアを集積化して成る。
【先行技術文献】
【特許文献】
【0003】
特開2011-103158号公報
【0004】
[概要]
特許文献1で提案されている半導体不揮発記憶回路の出荷テストにおいてメモリセルのアナログ特性を直接測定すると、出荷テストに多大な時間が掛かる。
【0005】
本明細書中に開示されている不揮発性メモリ装置は、第1電流を出力可能な構成の第1メモリ素子と、前記第1メモリ素子と並列に配置されて第2電流を出力可能な構成の第2メモリ素子と、一定の範囲で変動する参照電流を供給可能な構成の電流供給回路と、前記第1電流と前記参照電流との大小及び前記第2電流と前記参照電流との大小を比較可能な構成のセンスアンプと、前記センスアンプに接続されて、前記第1電流と前記参照電流との比較結果である第1比較結果と、前記第2電流と前記参照電流との比較結果である第2比較結果に基づいて、前記第1電流の電流値と前記第2電流の電流値との差を取得する構成の電流差取得回路と、を有するように構成されている。
【図面の簡単な説明】
【0006】
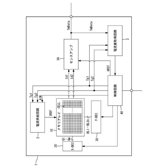
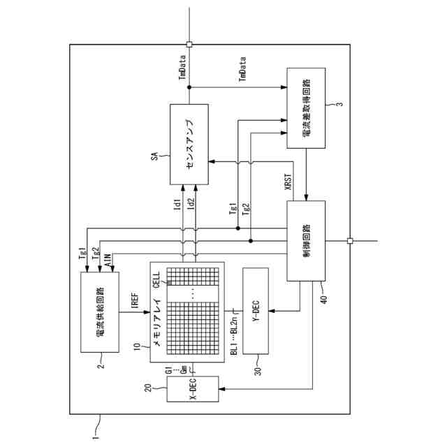
図1は、不揮発性メモリ装置の全体構成例を示すブロック図である。
図2は、メモリアレイの構成例を示す回路図である。
図3は、ホットキャリアが注入される前後それぞれにおけるメモリ素子のドレイン電流のゲート・ソース間電圧依存性を示す図である。
図4は、信号XRST、第1ラインの電圧、及び第2ラインの電圧の波形例を示すタイミングチャートである。
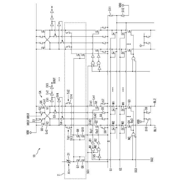
図5は、メモリアレイの事前テストを実施するときに稼働する部分の等価回路図である。
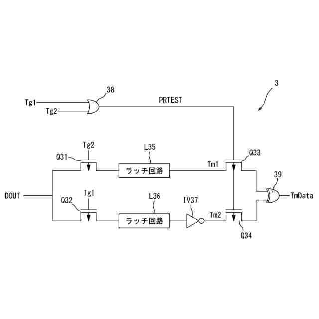
図6は、電流差取得回路の構成を示す回路図である。
図7は、事前テストを実行している場合の各信号の状態を示すタイミングチャートである。
図8は、参照電流、第1比較用信号、第2比較用信号、電流差取得用信号の関連を示す図である。
【0007】
[詳細な説明]
本明細書において、MOS(Metal Oxide Semiconductor)電界効果トランジスタとは、ゲートの構造が、「導電体または抵抗値が小さいポリシリコン等の半導体からなる層」、「絶縁層」、及び「P型、N型、又は真性の半導体層」の少なくとも3層からなるトランジスタをいう。つまり、MOS電界効果トランジスタのゲートの構造は、金属、酸化物、及び半導体の3層構造に限定されない。以下、Nチャネル型MOS電界効果トランジスタをNMOSトランジスタと称し、Pチャネル型MOS電界効果トランジスタをPMOSトランジスタと称す。
【0008】
<不揮発性メモリ装置>
図1は、不揮発性メモリ装置1の全体構成例を示すブロック図である。図1に示す不揮発性メモリ装置1は、メモリアレイ10と、Xデコーダ20と、Yデコーダ30と、制御回路40と、を有する。なお、不揮発性メモリ装置1は、メモリアレイ10と、Xデコーダ20と、Yデコーダ30と、制御回路40と、を1つのパッケージに集積した、IC(Integrated Circuit)として構成されてもよい。
【0009】
メモリアレイ10は、X軸方向に敷設されたm本のゲート線G1~Gm(=ワード線)と、Y軸方向に敷設された2n本のビット線BL1~BL2nと、ゲート線G1~Gm及びビット線BL1~BL2nに沿ってマトリクス状に配列された複数(=m×n)のメモリセルCELLと、を有する。メモリアレイ10の構成及び動作については、後ほど詳述する。
【0010】
Xデコーダ(ロウデコーダ)20は、制御回路40からの指示に応じてゲート線G1~Gmを駆動する。
(【0011】以降は省略されています)
この特許をJ-PlatPat(特許庁公式サイト)で参照する
関連特許
ローム株式会社
タイマ
8日前
ローム株式会社
監視回路
4日前
ローム株式会社
電子装置
4日前
ローム株式会社
発振回路
4日前
ローム株式会社
半導体装置
15日前
ローム株式会社
半導体装置
今日
ローム株式会社
半導体装置
4日前
ローム株式会社
メモリ装置
4日前
ローム株式会社
半導体装置
8日前
ローム株式会社
半導体装置
2日前
ローム株式会社
半導体装置
2日前
ローム株式会社
半導体装置
2日前
ローム株式会社
半導体装置
2日前
ローム株式会社
半導体装置
14日前
ローム株式会社
半導体装置
4日前
ローム株式会社
半導体装置
今日
ローム株式会社
半導体装置
今日
ローム株式会社
半導体装置
今日
ローム株式会社
メモリ装置
今日
ローム株式会社
半導体装置
23日前
ローム株式会社
半導体装置
今日
ローム株式会社
半導体装置
23日前
ローム株式会社
信号出力回路
14日前
ローム株式会社
信号出力回路
14日前
ローム株式会社
信号出力回路
今日
ローム株式会社
半導体記憶装置
7日前
ローム株式会社
定電圧生成回路
14日前
ローム株式会社
半導体記憶装置
7日前
ローム株式会社
縦型ホール素子
4日前
ローム株式会社
半導体集積回路
15日前
ローム株式会社
窒化物半導体装置
22日前
ローム株式会社
TVSダイオード
2日前
ローム株式会社
TVSダイオード
2日前
ローム株式会社
半導体モジュール
4日前
ローム株式会社
半導体集積回路装置
22日前
ローム株式会社
差動回路及び発振器
16日前
続きを見る
他の特許を見る