TOP
|
特許
|
意匠
|
商標
特許ウォッチ
Twitter
他の特許を見る
公開番号
2025141059
公報種別
公開特許公報(A)
公開日
2025-09-29
出願番号
2024040801
出願日
2024-03-15
発明の名称
保持器付きころ
出願人
NTN株式会社
代理人
個人
,
個人
,
個人
,
個人
主分類
F16C
33/46 20060101AFI20250919BHJP(機械要素または単位;機械または装置の効果的機能を生じ維持するための一般的手段)
要約
【課題】一つ割形の保持器を備える保持器付きころにおいて、保持器の割り部の円周方向幅制限やリム部の局所的な薄肉化を要することなく、割り部に接するころのピーリング及び摩耗を防止する。
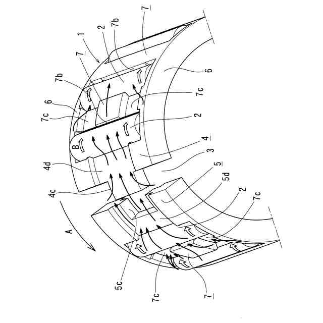
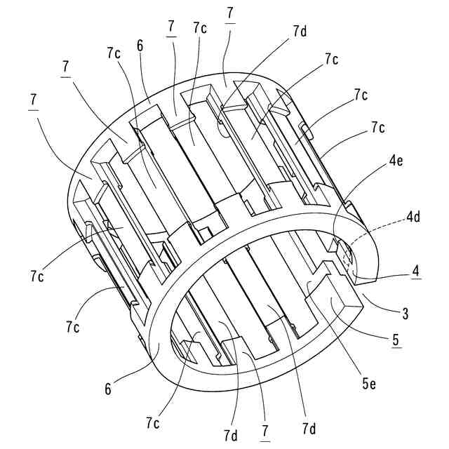
【解決手段】保持器1の割れ目3を形成するように円周方向に向き合う二つの割り部4、5のうち、少なくとも一つの割り部4、5が、当該割り部4、5の円周方向両端間に亘って延びかつ当該割り部4、5に接するころ2に向けて開放した油溝部4d、4e、5d、5eを有する。
【選択図】図1
特許請求の範囲
【請求項1】
円周方向に並ぶ複数のころと、前記複数のころを保持する保持器とを備え、
前記保持器が、互いの間に円周方向に間隔を空けて向き合う二つの割り部と、前記割り部同士を円周方向に繋ぐ二つのリム部と、前記リム部同士の間を円周方向に所定間隔に区切る柱部とを有し、
前記ころが、円周方向に隣り合う前記柱部同士の間又は円周方向に隣り合う前記割り部と前記柱部との間に配置されている保持器付きころにおいて、
少なくとも一つの前記割り部が、当該割り部の円周方向両端間に亘って延びかつ当該割り部に接する前記ころに向けて開放した油溝部を有することを特徴とする保持器付きころ。
続きを表示(約 880 文字)
【請求項2】
前記油溝部が前記保持器の内周に設けられている請求項1に記載の保持器付きころ。
【請求項3】
前記少なくとも一つの割り部が前記保持器の内周と外周のそれぞれに前記油溝部を有する請求項2に記載の保持器付きころ。
【請求項4】
前記少なくとも一つの割り部が、前記保持器の内周に位置する前記油溝部と当該保持器の外周に位置する前記油溝部とを当該割り部の軸方向中央部に有し、かつ当該各油溝部と前記リム部との間で当該リム部と同等の径方向幅をもった形状である請求項3に記載の保持器付きころ。
【請求項5】
前記二つの割り部がそれぞれ前記油溝部を有し、
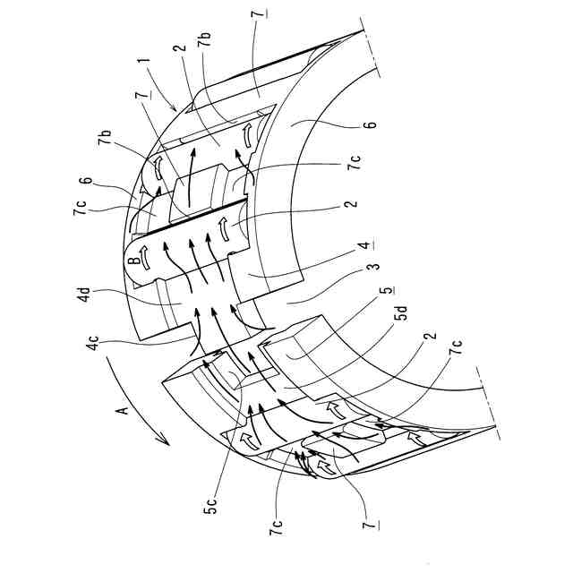
第一の前記割り部に隣り合う第一の前記柱部と、当該第一の割り部とは異なる第二の前記割り部に隣り合う第二の前記柱部とが、それぞれ当該第一の柱部又は当該第二の柱部の円周方向両端間に亘って延びる溝部を有する請求項1から4のいずれか1つに記載の保持器付きころ。
【請求項6】
前記溝部が前記保持器の内周に設けられている請求項5に記載の保持器付きころ。
【請求項7】
前記第一の柱部及び前記第二の柱部のそれぞれが前記保持器の内周と外周のそれぞれに前記溝部を有する請求項6に記載の保持器付きころ。
【請求項8】
前記保持器の内周又は外周で隣り合う前記油溝部と前記溝部が軸方向に互い違いに配置されている請求項5に記載の保持器付きころ。
【請求項9】
前記第一の柱部及び前記第二の柱部とは異なる他の前記柱部が、当該他の柱部の軸方向全長に亘って前記リム部と同等の径方向幅を有する請求項5に記載の保持器付きころ。
【請求項10】
前記二つの割り部がそれぞれ前記油溝部を有し、
第一の前記割り部の前記油溝部と、当該第一の割り部とは異なる第二の前記割り部の前記油溝部とが円周方向に向き合っている請求項1から4のいずれか1項に記載の保持器付きころ。
(【請求項11】以降は省略されています)
発明の詳細な説明
【技術分野】
【0001】
この発明は、複数のころと一つ割形の保持器とを組み合わせた保持器付きころに関する。
続きを表示(約 1,700 文字)
【背景技術】
【0002】
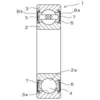
従来、ハウジングの内側への保持器付きころの組み込みを容易にするため、一つ割形の保持器が採用されている。一つ割形の保持器は、互いの間に円周方向に間隔を空けて向き合う二つの割り部と、これら割り部同士を円周方向に繋ぐ二つのリム部と、前記二つのリム部同士の間を円周方向に所定間隔に区切る多数の柱部とを有する。ころは、円周方向に隣り合う柱部同士の間又は円周方向に隣り合う割り部と柱部との間に配置されている。各割り部及び各柱部は、保持器からころが脱落することを防止するため、保持器の内径側と外径側にそれぞれころの脱出を規制する爪部を有する。一つ割形の保持器は、転動体案内方式である。ころによって径方向に案内される。このため、保持器付きころの回転中、保持器を径方向に案内するころと、割り部の内径側の爪部とが常に接触する(特許文献1、2)。
【0003】
この種の保持器付きころは、二つの割り部間の割れ目を利用して強制的に保持器を縮径させた状態でシェル外輪やハウジング軌道面の内側へ嵌め、その後、当該保持器を弾性復元力で拡径させる(スプリングバック)ことがある。このスプリングバックにより、割り部の内径側の爪部ところとの接触力が高くなることがある。
【0004】
また、この種の保持器付きころが高速回転すると、遠心力による保持器の変形に伴い、割り部の内径側の爪部ところとの接触力が高くなることもある。
【0005】
保持器付きころの回転時、割り部の内径側の爪部ところとの接触部で油膜切れが起こると、そのころにピーリングや摩耗が発生する可能性がある。例えば、トランスミッションのアイドラー軸受のように低粘度油による油潤滑下で保持器付きころを高速回転させる場合、割り部に接するころにピーリングや摩耗が発生する懸念がある。
【0006】
特許文献1に開示された保持器付きころでは、遠心力による保持器の変形を抑えるため、割り部の円周方向幅を制限することで割り部を軽量化している。これにより、高速回転時の割り部ところとの接触力が抑えられるので、割り部ところとの接触部で油膜切れが起こりにくくなる。
【先行技術文献】
【特許文献】
【0007】
特開2023-104661号公報
特開2011-89612号公報
【発明の概要】
【発明が解決しようとする課題】
【0008】
しかしながら、近年、保持器付きころを低コスト化するため、保持器の円周方向長さ及び複数のころのピッチ円直径を変更することなく、保持器に保持させるころの総本数を削減するように要求されることがある。この場合、保持器の各割り部の円周方向幅を相対的に拡大し、一方の割り部に接するころと、他方の割り部に接するころとの間の距離を大きくしなければならない。これにより、遠心力で二つの割り部間の割れ目が広がる程、割り部の内径側の爪部がころに強く突っ張り、ここの接触力がより高くなってしまう。このため、ころの総本数の削減に伴い、特許文献1のように割り部の円周方向幅を制限できない場合や、制限できてもピーリング等の発生を防止するのに十分でない場合が起こり得る。
【0009】
特に、保持器付きころの高速回転時には、潤滑油に作用する遠心力の影響で、保持器の外周と外方の軌道面との間の空間に潤滑油が比較的多く存在し、保持器の内周と内方の軌道面との間の空間において潤滑油が希薄になり、割り部の内径側の爪部ところとの接触部に潤滑油が供給されにくくなる。このため、ころの総本数の削減によって前述の接触力がより高くなってしまうと、ピーリング等の発生を十分に防止できない可能性が高くなる。
【0010】
特許文献2のように、二つの割り部間の割れ目とは円周方向反対側でリム部の厚さを積極的に薄く設けておけば、結果的に保持器の剛性を低下させて前述のスプリングバックを弱くし、割り部ところとの接触力を抑える対策の一つになり得るが、保持器の機械的強度を確保する都合上、リム部の厚さを局所的に薄くすることに限界がある。
(【0011】以降は省略されています)
この特許をJ-PlatPat(特許庁公式サイト)で参照する
関連特許
NTN株式会社
基板
5日前
NTN株式会社
玉軸受
6日前
NTN株式会社
玉軸受
13日前
NTN株式会社
ハンド
今日
NTN株式会社
玉軸受
14日前
NTN株式会社
把持装置
今日
NTN株式会社
把持装置
今日
NTN株式会社
軸受装置
12日前
NTN株式会社
転がり軸受
6日前
NTN株式会社
転がり軸受
今日
NTN株式会社
円筒ころ軸受
14日前
NTN株式会社
軸受用保持器
26日前
NTN株式会社
基板取付構造
12日前
NTN株式会社
等速自在継手
12日前
NTN株式会社
電動モータ装置
14日前
NTN株式会社
車輪用軸受装置
14日前
NTN株式会社
円すいころ軸受
5日前
NTN株式会社
車輪用軸受装置
29日前
NTN株式会社
保持器付きころ
2日前
NTN株式会社
絶縁転がり軸受
28日前
NTN株式会社
モータユニット
2日前
NTN株式会社
動力伝達シャフト
12日前
NTN株式会社
プランマブロック
12日前
NTN株式会社
摺動式等速自在継手
12日前
NTN株式会社
直動アクチュエータ
12日前
NTN株式会社
摺動式等速自在継手
12日前
NTN株式会社
細胞配置の制御方法
2日前
NTN株式会社
固定式等速自在継手
6日前
NTN株式会社
固定式等速自在継手
6日前
NTN株式会社
固定式等速自在継手
6日前
NTN株式会社
固定式等速自在継手
6日前
NTN株式会社
固定式等速自在継手
6日前
NTN株式会社
電食防止転がり軸受
2日前
NTN株式会社
直動アクチュエータ
13日前
NTN株式会社
摺動式等速自在継手
6日前
NTN株式会社
ラジアルフォイル軸受
28日前
続きを見る
他の特許を見る