TOP
|
特許
|
意匠
|
商標
特許ウォッチ
Twitter
他の特許を見る
10個以上の画像は省略されています。
公開番号
2025136409
公報種別
公開特許公報(A)
公開日
2025-09-19
出願番号
2024034968
出願日
2024-03-07
発明の名称
摺動式等速自在継手
出願人
NTN株式会社
代理人
個人
,
個人
主分類
F16D
3/227 20060101AFI20250911BHJP(機械要素または単位;機械または装置の効果的機能を生じ維持するための一般的手段)
要約
【課題】 低コストで強度、耐久性を維持したダブルオフセット型の摺動式等速自在継手を提供すること。
【解決手段】 直線状の複数のトラック溝7が形成された外側継手部材2と、直線状の複数のトラック溝9が形成された内側継手部材3と、複数のボール4と、ボール4をポケット5aに収容するケージ5とからなり、ケージ5の球状外周面11の曲率中心O1と球状内周面12の曲率中心O2が、継手中心Oに対して軸方向の反対側にオフセットした摺動式等速自在継手1において、外側継手部材2のトラック溝7が鍛造加工で仕上げられた表面からなり、外側継手部材2のトラック接触角αのトラック溝7間における相互差が8°以下であることを特徴とする。
【選択図】 図5
特許請求の範囲
【請求項1】
円筒状内周面に直線状の複数のトラック溝が軸方向に沿って形成された外側継手部材と、球状外周面に前記外側継手部材の直線状の複数のトラック溝に対向する直線状の複数のトラック溝が軸方向に沿って形成された内側継手部材と、前記外側継手部材の直線状の複数のトラック溝と前記内側継手部材の直線状の複数のトラック溝間に組込まれ、トルクを伝達する複数のボールと、前記ボールをポケットに収容し、前記外側継手部材の円筒状内周面と前記内側継手部材の球状外周面にそれぞれ接触案内される球状外周面と球状内周面を有するケージとからなり、前記ケージの球状外周面の曲率中心と球状内周面の曲率中心が、継手中心に対して軸方向の反対側にオフセットした摺動式等速自在継手において、
前記外側継手部材のトラック溝が鍛造加工で仕上げられた表面からなり、前記外側継手部材のトラック接触角のトラック溝間における相互差が8°以下であることを特徴とする摺動式等速自在継手。
続きを表示(約 720 文字)
【請求項2】
前記内側継手部材のトラック溝も鍛造加工で仕上げられた表面からなり、前記内側継手部材のトラック接触角のトラック溝間における相互差も8°以下であることを特徴とする請求項1に記載の摺動式等速自在継手。
【請求項3】
円筒状内周面に直線状の複数のトラック溝が軸方向に沿って形成された外側継手部材と、球状外周面に前記外側継手部材の直線状の複数のトラック溝に対向する直線状の複数のトラック溝が軸方向に沿って形成された内側継手部材と、前記外側継手部材の直線状の複数のトラック溝と前記内側継手部材の直線状の複数のトラック溝間に組込まれ、トルクを伝達する複数のボールと、前記ボールをポケットに収容し、前記外側継手部材の円筒状内周面と前記内側継手部材の球状外周面にそれぞれ接触案内される球状外周面と球状内周面を有するケージとからなり、前記ケージの球状外周面の曲率中心と球状内周面の曲率中心が、継手中心に対して軸方向の反対側にオフセットした摺動式等速自在継手において、
前記外側継手部材のトラック溝が鍛造加工で仕上げられた表面からなり、前記外側継手部材のトラック接触率のトラック溝間における相互差が0.02以下であることを特徴とする摺動式等速自在継手。
【請求項4】
前記内側継手部材のトラック溝も鍛造加工で仕上げられた表面からなり、前記内側継手部材のトラック接触率のトラック溝間における相互差も0.02以下であることを特徴とする請求項3に記載の摺動式等速自在継手。
【請求項5】
前記ボールの個数が5~8個であることを特徴とする請求項1~4のいずれか一項に記載の摺動式等速自在継手。
発明の詳細な説明
【技術分野】
【0001】
本発明は、自動車や各種産業機械などの動力伝達系、例えば、自動車のドライブシャフトやプロペラシャフトに使用される摺動式等速自在継手に関する。
続きを表示(約 1,900 文字)
【背景技術】
【0002】
自動車のドライブシャフトに適用される等速自在継手には、大別すると、2軸間の角度変位のみを許容する固定式等速自在継手と、角度変位および軸方向変位を許容する摺動式等速自在継手がある。自動車のドライブシャフトは、通常、駆動車輪側(アウトボード側ともいう)に固定式等速自在継手が用いられ、デファレンシャル側(インボード側ともいう)に摺動式等速自在継手が用いられ、これらの2つの等速自在継手を中間シャフトで連結して構成されている。等速自在継手は、それぞれ使用条件や用途などに応じて各種選択される。
【0003】
摺動式等速自在継手としては、ダブルオフセット型等速自在継手(DOJ)やトリポード型等速自在継手(TJ)が代表的である。DOJタイプの摺動式等速自在継手は、製造コストが安価なことや、継手内部の回転方向ガタが少ないことで広く用いられている。また、DOJタイプの摺動式等速自在継手は、ボールの個数が6個のものや8個のものが知られており、特許文献1には、ボール個数を8個としたコンパクトな設計のDOJが記載され、特許文献2には、作動角の高角化と、より軽量・コンパクト化を図った、最大作動角が30°以上とれるDOJが記載されている。
【0004】
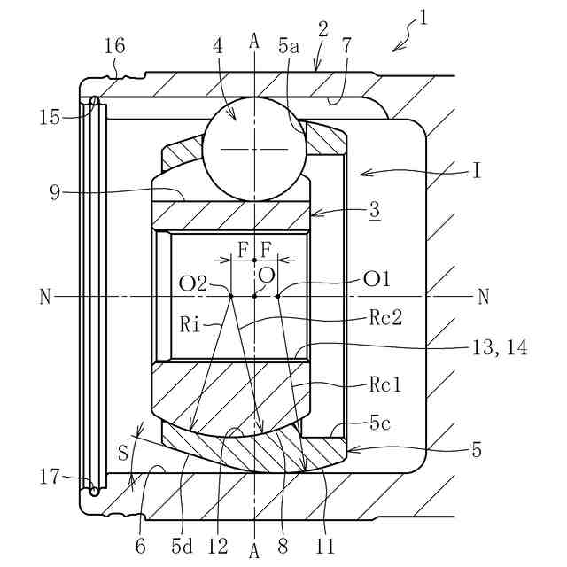
DOJタイプの摺動式等速自在継手は、外側継手部材、内側継手部材、ケージ、ボールから構成されている。具体的には、円筒状内周面に直線状の複数のトラック溝が軸方向に沿って形成された外側継手部材と、球状外周面に外側継手部材の直線状の複数のトラック溝に対向する直線状の複数のトラック溝が軸方向に沿って形成された内側継手部材と、外側継手部材の直線状の複数のトラック溝と内側継手部材の直線状の複数のトラック溝間に組込まれた複数のボールと、ボールをポケットに収容し、外側継手部材の円筒状内周面と内側継手部材の球状外周面に接触案内される球状外周面と球状内周面を有するケージとからなり、ケージの球状外周面の曲率中心と球状内周面の曲率中心が、継手中心に対して軸方向の反対側にオフセットした構成となっている。
【先行技術文献】
【特許文献】
【0005】
特開平10-73129号公報
特開2007-85488号公報
【発明の概要】
【発明が解決しようとする課題】
【0006】
DOJタイプの摺動式等速自在継手の構成部品である外側継手部材および内側継手部材は、一般的に次の工程で製造される。
〔外側継手部材〕:バー材切断→鍛造→カップ内しごき鍛造→旋削(ステム部転造を含む)→熱処理(焼入れ)→ステム部研削又はハードターニング
〔内側継手部材〕:バー材切断→鍛造→旋削(スプラインブローチを含む)→熱処理(焼入れ)→外径面研削
【0007】
DOJタイプの摺動式等速自在継手は、上記のように外側継手部材のトラック溝と内径部および内側継手部材のトラック溝は、製造コストを抑えるために鍛造仕上げが一般的である(焼入れ工程後の研削工程等での仕上げ加工は施さない)。そのため、外側継手部材および内側継手部材のトラック溝は、鍛造による寸法ばらつき、熱処理の影響によるばらつきが大きいため、各トラック溝間の形状相互差が、トラック研削又はハードミーリング品と比べて大きくなる。外側継手部材および内側継手部材のトラック溝形状は、継手の強度、耐久性に大きく影響を及ぼす。
【0008】
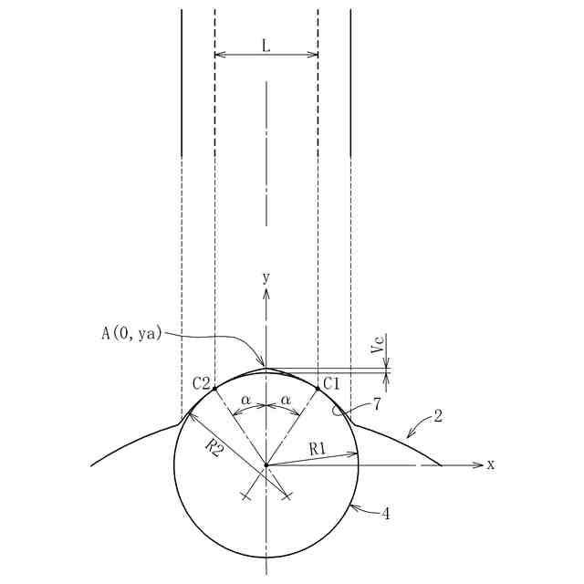
トラック溝形状に関係する重要な項目として、トラック接触角とトラック接触率がある。トラック接触角やトラック接触率は、トラック面圧を決定する主要素であり、また、高作動角、高負荷時におけるボールの乗り上げにも影響する。
【0009】
上記の問題に鑑み、本発明は、低コストで強度、耐久性を維持したダブルオフセット型の摺動式等速自在継手を提供することを目的とする。
【課題を解決するための手段】
【0010】
本発明者らは、上記の目的を達成するために種々検討した。その結果、DOJタイプの摺動式等速自在継手のトラック鍛造仕上げ品においては、各トラック溝におけるトラック接触角やトラック接触率のばらつきを抑制することがジョイントの機能の安定上、重要であることに着目し、トラック接触角やトラック接触率のばらつきが耐久性や強度に影響する度合を究明しトラック鍛造仕上げ品の内部仕様を設定するという新たな着想により、本発明に至った。
(【0011】以降は省略されています)
この特許をJ-PlatPat(特許庁公式サイト)で参照する
関連特許
NTN株式会社
基板
9日前
NTN株式会社
玉軸受
18日前
NTN株式会社
玉軸受
17日前
NTN株式会社
玉軸受
10日前
NTN株式会社
ハンド
4日前
NTN株式会社
把持装置
4日前
NTN株式会社
軸受装置
16日前
NTN株式会社
把持装置
4日前
NTN株式会社
密封装置
2日前
NTN株式会社
作業装置
2日前
NTN株式会社
転がり軸受
4日前
NTN株式会社
転がり軸受
10日前
NTN株式会社
シール付軸受
2日前
NTN株式会社
基板取付構造
16日前
NTN株式会社
状態監視装置
3日前
NTN株式会社
等速自在継手
16日前
NTN株式会社
円筒ころ軸受
18日前
NTN株式会社
回転伝達装置
2日前
NTN株式会社
保持器付きころ
6日前
NTN株式会社
電動モータ装置
18日前
NTN株式会社
車輪用軸受装置
18日前
NTN株式会社
車輪用軸受装置
2日前
NTN株式会社
モータユニット
6日前
NTN株式会社
円すいころ軸受
9日前
NTN株式会社
プランマブロック
16日前
NTN株式会社
動力伝達シャフト
16日前
NTN株式会社
状態監視システム
3日前
NTN株式会社
電動オイルポンプ
3日前
NTN株式会社
固定式等速自在継手
10日前
NTN株式会社
固定式等速自在継手
10日前
NTN株式会社
固定式等速自在継手
10日前
NTN株式会社
固定式等速自在継手
10日前
NTN株式会社
固定式等速自在継手
10日前
NTN株式会社
直動アクチュエータ
16日前
NTN株式会社
摺動式等速自在継手
16日前
NTN株式会社
細胞配置の制御方法
6日前
続きを見る
他の特許を見る