TOP
|
特許
|
意匠
|
商標
特許ウォッチ
Twitter
他の特許を見る
公開番号
2025136933
公報種別
公開特許公報(A)
公開日
2025-09-19
出願番号
2024035873
出願日
2024-03-08
発明の名称
プランマブロック
出願人
NTN株式会社
代理人
個人
,
個人
,
個人
主分類
F16C
35/07 20060101AFI20250911BHJP(機械要素または単位;機械または装置の効果的機能を生じ維持するための一般的手段)
要約
【課題】組付け工数、組付けスペースおよび部品点数の改善ができ、また製造時の作業者のスキルを必要とする工程を簡略化することができるプランマブロックを提供する。
【解決手段】軸受と、上箱と下箱とを有し、軸受を収納する軸受箱とを備え、軸受箱が外部の構造物の取付部に取付られるプランマブロックである。上箱に設けられる第1貫通孔と、下箱に設けられ、第1貫通孔と連通する第2貫通孔と、取付部に設けられ、第2貫通孔と連通するねじ穴と、第1貫通孔及び第2貫通孔に挿入され、ねじ穴に螺着されることにより、上箱と下箱とが連結されるとともに、下箱を取付部に固定する単一のボルト部材とを備えた。
【選択図】図1
特許請求の範囲
【請求項1】
軸受と、上箱と下箱とを有し、前記軸受を収納する軸受箱とを備え、前記軸受箱が外部の構造物の取付部に取付られるプランマブロックであって、
前記上箱に設けられる第1貫通孔と、前記下箱に設けられ、前記第1貫通孔と連通する第2貫通孔と、前記取付部に設けられ、前記第2貫通孔と連通するねじ穴と、
前記第1貫通孔及び前記第2貫通孔に挿入され、前記ねじ穴に螺着されることにより、前記上箱と前記下箱とが連結されるとともに、前記下箱を取付部に固定する単一のボルト部材とを備えたことを特徴とするプランマブロック。
続きを表示(約 560 文字)
【請求項2】
前記第1貫通孔及び前記第2貫通孔は、キリ穴であることを特徴とする請求項1に記載のプランマブロック。
【請求項3】
一対の前記ねじ穴を備え、ねじ穴のピッチは、既存のプランマブロックに設けられたねじ穴のピッチよりも狭いことを特徴とする請求項1に記載のプランマブロック。
【請求項4】
前記上箱は、軸受の上半分が嵌合される半円筒形状の上箱本体部と、前記上箱本体部の側端部に設けられる連結用凸部とを備え、前記下箱は、軸受の下半分が嵌合される半円筒形状の下箱本体部と、前記下箱本体部を受け、前記下箱本体部の側端部に連結用凸部が設けられるベース部材とを備え、前記上箱の連結用凸部及び前記下箱の連結用凸部の肉厚は、既存のプランマブロックの上箱及び下箱の連結用凸部の肉厚よりも大きいものであることを特徴とする請求項1に記載のプランマブロック。
【請求項5】
前記肉厚は、軸受の軸方向及び/又は径方向において、前記ベース部材の長さと同等程度であることを特徴とする請求項4に記載のプランマブロック。
【請求項6】
前記上箱と前記下箱との夫々の割面を段付き形状とし、前記上箱と前記下箱とがはめ合い形状であることを特徴とする請求項1に記載のプランマブロック。
発明の詳細な説明
【技術分野】
【0001】
本発明は、軸受および軸受を支持する軸受箱を備えるプランマブロックに関する。
続きを表示(約 1,900 文字)
【背景技術】
【0002】
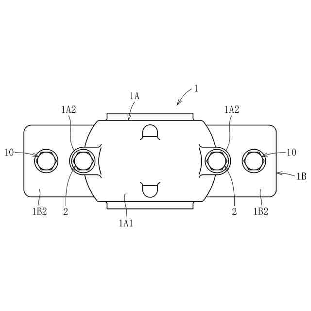
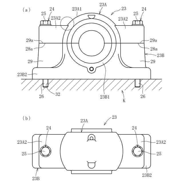
プランマブロックとしては、従来には、特許文献1に記載のものがあるが、プランマブロックは、一般的に、シャフトを回転自在に支持する転がり軸受と、この転がり軸受を収納する軸受箱とを備えたものである。従来の一般的な軸受箱1を図6及び図7に示す。
【0003】
従来の軸受箱1は、図6及び図7に示すように、上方の上箱1Aと、下方の下箱1Bとを有する。上下の上箱1Aと下箱1Bがボルト部材2、2を介して連結一体化されている。なお、図6では図面上左側の構造と図面上右側の構造とは同一のものであるため、左側のみ断面構造を示して断面における符号を付している。ボルト部材2は、頭部2aと、雄ねじ部を有する軸部2bとからなる。上箱1Aは軸受の上半分が嵌合される半円筒形状の上箱本体部1A1と、上箱本体部1A1の側端部に設けられる連結用凸部1A2、1A2とを備えたものであり、連結用凸部1A2、1A2に、ボルト部材2の軸部2bが嵌入される貫通孔(キリ穴)3aが形成されている。
【0004】
下箱1Bは、軸受の下半分が嵌合される半円筒形状の下箱本体部1B1と、下箱本体部1B1を受けるベース部1B2とを備えたものである。ベース部1B2には、上箱1Aと下箱1Bとが重ね合された際に、上箱1Aの連結用凸部1A2、1A2の下面4が当接する受面5を有する連結用凸部6、 6が設けられている。この場合、各連結用凸部6、6は、ベース部1B2の径方向突出鍔7、7から立設されている。そして、この連結用凸部7、 7には、上箱1Aと下箱1Bとが重ね合された際に、連結用凸部1A2、1A2の下面4が連結用凸部6、 6の受面5、5に当接した状態で、連結用凸部1A2、1A2の貫通孔3a、3aに対応するねじ穴3b、3bが設けられている。
【0005】
このため、図6に示すように、ボルト部材2、2の軸部2b、2bを連結用凸部1A2、1A2の貫通孔3a、3aに上方から挿入して、連結用凸部6、6のねじ穴3b、3bにボルト部材2の軸部2bの雄ねじ部を螺合させることによって、上箱1Aと下箱1Bが連結される。
【0006】
また、下箱1Bが外部の構造物K(例えば、台座)に取付られる。すなわち、図6に示すように、ベース部1B2に対応する台座Kの対応部にはねじ穴8、8が設けられ、このねじ穴8、8に対向するように、ベース部1B2に貫通孔9、9が設けられている。このため、ボルト部材10、10のねじ軸部を、貫通孔9、9に挿通して、ねじ軸部のオスねじ部を台座のねじ穴8、8に螺合させている。これにより、下箱1Bが構造物Kに固定される。
【先行技術文献】
【特許文献】
【0007】
特開2016-128701号公報
【発明の概要】
【発明が解決しようとする課題】
【0008】
従来のプランマブロックは、上箱1Aと下箱1Bとを締結させるボルト部材2と、下箱1Bを台座に固定するためのボルト部材10が必要となり、2種類のボルトが必要となる。このため、それぞれの組付作業が必要であり、取付工数が多くなる。また、それぞれのボルト部材2、2、10、10を締め付けるための座面が必要になるため、それによる軸受箱のサイズアップにより、軸受箱を使用するアプリケーションの取付面スペースに対して制限がある。さらに、製造工程においても、従来の形状である、上箱1Aの貫通孔3a、3a(キリ穴)と下箱1Bのねじ穴3b、3bを加工するには、それぞれの穴にズレができないように作業者のスキルが必要である。
【0009】
そこで、本願では、組付け工数、組付けスペースおよび部品点数の改善ができ、また製造時の作業者のスキルを必要とする工程を簡略化することができるプランマブロックを提供するものである。
【課題を解決するための手段】
【0010】
本発明のプランマブロックは、軸受と、上箱と下箱とを有し、前記軸受を収納する軸受箱とを備え、前記軸受箱が外部の構造物の取付部に取付られるプランマブロックであって、前記上箱に設けられる第1貫通孔と、前記下箱に設けられ、前記第1貫通孔と連通する第2貫通孔と、前記取付部に設けられ、前記第2貫通孔と連通するねじ穴と、前記第1貫通孔及び前記第2貫通孔に挿入され、前記ねじ穴に螺着されることにより、前記上箱と前記下箱とが連結されるとともに、前記下箱を取付部に固定する単一のボルト部材とを備えたものである。
(【0011】以降は省略されています)
この特許をJ-PlatPat(特許庁公式サイト)で参照する
関連特許
NTN株式会社
ハンド
7日前
NTN株式会社
把持装置
7日前
NTN株式会社
把持装置
7日前
NTN株式会社
作業装置
5日前
NTN株式会社
密封装置
5日前
NTN株式会社
荷積込装置
今日
NTN株式会社
転がり軸受
7日前
NTN株式会社
転がり軸受
今日
NTN株式会社
状態監視装置
6日前
NTN株式会社
回転伝達装置
今日
NTN株式会社
回転伝達装置
今日
NTN株式会社
回転伝達装置
5日前
NTN株式会社
シール付軸受
5日前
NTN株式会社
車輪用軸受装置
5日前
NTN株式会社
車輪用軸受装置
今日
NTN株式会社
モータユニット
9日前
NTN株式会社
保持器付きころ
9日前
NTN株式会社
リンク作動装置
1日前
NTN株式会社
電動オイルポンプ
6日前
NTN株式会社
軸受装置及び間座
今日
NTN株式会社
状態監視システム
6日前
NTN株式会社
電食防止転がり軸受
9日前
NTN株式会社
細胞配置の制御方法
9日前
NTN株式会社
シェル形針状ころ軸受
1日前
NTN株式会社
流量制御バルブ用シール
7日前
NTN株式会社
診断装置、および診断方法
9日前
NTN株式会社
トリポード型等速自在継手
9日前
NTN株式会社
トリポード型等速自在継手
6日前
NTN株式会社
転がり軸受および軸受装置
6日前
NTN株式会社
転がり軸受およびスリンガ部材
6日前
NTN株式会社
状態監視装置、および診断方法
6日前
NTN株式会社
軸受装置および異常検知システム
1日前
NTN株式会社
連結機構及びこれを備えた研削盤
1日前
NTN株式会社
状態診断装置および状態診断システム
9日前
NTN株式会社
転がり軸受用保持器および転がり軸受
7日前
NTN株式会社
ピッキング装置およびピッキング方法
今日
続きを見る
他の特許を見る