TOP
|
特許
|
意匠
|
商標
特許ウォッチ
Twitter
他の特許を見る
10個以上の画像は省略されています。
公開番号
2025142794
公報種別
公開特許公報(A)
公開日
2025-10-01
出願番号
2024042355
出願日
2024-03-18
発明の名称
ハンド
出願人
NTN株式会社
代理人
個人
,
個人
,
個人
,
個人
,
個人
主分類
B25J
15/08 20060101AFI20250924BHJP(手工具;可搬型動力工具;手工具用の柄;作業場設備;マニプレータ)
要約
【課題】様々な形状や姿勢のワークも安定してピックアップすることができるハンドを提供する。
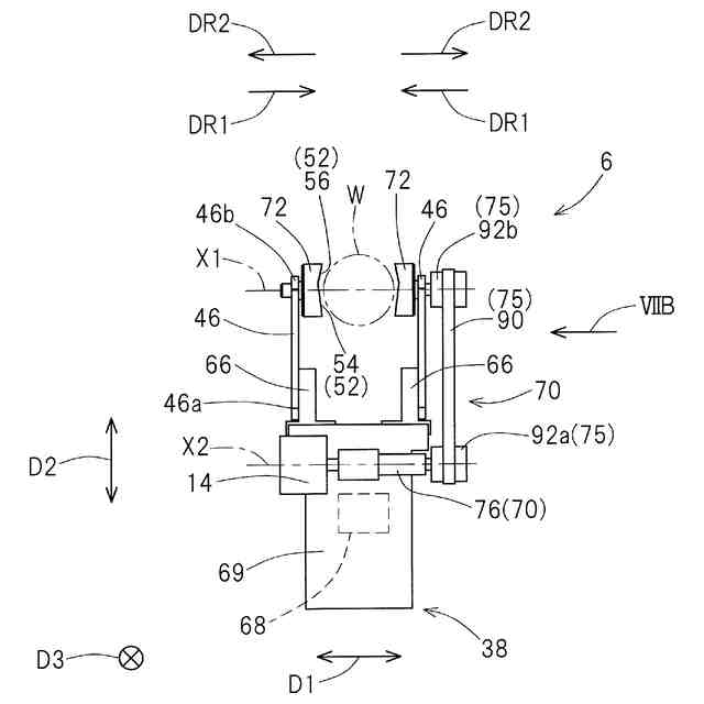
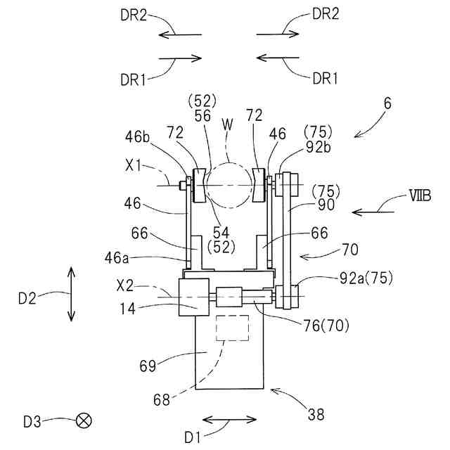
【解決手段】本発明のハンド6は、ワークWを把持する又は開放する複数の爪部46と、ワークWを把持する把持方向DR1およびワークWを離す解放方向DR2に爪部46を移動させる把持部38と、爪部46で把持されたワークWを把持方向DR1および解放方向DR2に平行な回転軸心X1回りに回転させる回転伝達機構70とを備えている。爪部46の把持面52は、延在方向D2の基端側の端部から延在方向D2の先端側に向かって解放方向DR2に傾斜して延びる第1の傾斜面54と、延在方向D2の先端側の端部から延在方向D2の基端側に向かって解放方向DR2に傾斜して延びる第2の傾斜面56とを有している。
【選択図】図7A
特許請求の範囲
【請求項1】
ワークを把持する又は開放する複数の爪部と、
前記ワークを把持する把持方向および前記ワークを離す解放方向に前記爪部を移動させる把持部と、
前記爪部で把持された前記ワークを前記把持方向および前記解放方向に平行な回転軸心回りに回転させる回転伝達機構と、を備え、
前記爪部は、その基端部で前記把持部に前記把持方向および前記解放方向に移動可能に支持され、その先端部に前記ワークを把持する把持面を有し、前記基端部から先端部に延在方向に延び、
前記把持面は、
前記延在方向の基端側の端部から前記延在方向の先端側に向かって前記解放方向に傾斜して延びる第1の傾斜面と、
前記延在方向の先端側の端部から前記延在方向の基端側に向かって前記解放方向に傾斜して延びる第2の傾斜面と、
を有しているハンド。
続きを表示(約 1,600 文字)
【請求項2】
請求項1に記載のハンドにおいて、前記延在方向と前記開閉方向に直交する直交方向から見て、前記第2の傾斜面を先端側に延長した先端側の仮想線と前記搬送台の水平な搬送面とのなす先端側角度αが、前記第1の傾斜面を基端側に延長した基端側の仮想線と前記搬送面に平行な平行線とのなす基端側角度βよりも小さく設定されているハンド。
【請求項3】
請求項1に記載のハンドにおいて、前記延在方向と前記開閉方向に直交する直交方向から見て、前記第2の傾斜面を先端側に延長した先端側の仮想線と前記搬送台の水平な搬送面とのなす先端側角度αが、前記第1の傾斜面を基端側に延長した基端側の仮想線と前記搬送面に平行な平行線とのなす基端側角度βよりも大きく設定されているハンド。
【請求項4】
請求項1から3のいずれか一項に記載のハンドにおいて、前記第1の傾斜面および前記第2の傾斜面の少なくとも一方の面の摩擦係数が0.2以下に設定されているハンド。
【請求項5】
請求項1から3のいずれか一項に記載のハンドにおいて、
前記回転伝達機構は、
前記爪部の先端に設けられて、前記爪部に対して前記開閉方向に平行な回転軸心回りに回転可能な回転部と、
前記回転部を前記回転軸心回りに回転駆動させる第2駆動源と、を有し、
前記回転部に前記把持面が形成されているハンド。
【請求項6】
請求項5に記載のハンドにおいて、前記回転伝達機構と前記爪部が一体化されてサブアッシーを構成し、
前記サブアッシーが、前記把持部に取り付けられているハンド。
【請求項7】
請求項5に記載のハンドにおいて、
前記回転伝達機構は、さらに、
少なくとも一つの前記回転部に連結されて前記回転部とともに把持方向および解放方向に移動し、前記第2駆動源の動力を前記回転部に伝達する動力伝達機構と、
前記把持方向および解放方向に伸縮可能で、且つ、前記第2駆動源の回転を前記動力伝達機構に伝達する伸縮回転機構と、
を有しているハンド。
【請求項8】
請求項7に記載のハンドにおいて、前記伸縮回転機構が、
前記第2駆動源の出力軸に連結される第1の回転軸と、
前記動力伝達機構の入口回転体に連結される第2の回転軸と、
前記第1の回転軸の回転を前記第2の回転軸に伝達するとともに、前記第1の回転軸に対して前記第2の回転軸を前記把持方向および解放方向に移動可能に支持する伸縮回転構造体と、を有しているハンド。
【請求項9】
請求項8に記載のハンドにおいて、前記伸縮回転構造体が、
前記第1の回転軸および前記第2の回転軸の一方の軸端部に設けられた筒状の外側部材と、
前記第1の回転軸および前記第2の回転軸の他方の軸端部に設けられて、前記外側部材の中空孔に挿通された内側部材と、
前記外側部材と前記内側部材との間に介在されて、前記外側部材の回転を前記内側部材に伝達するとともに、前記第1の回転軸に設けられた部材に対して前記第2の回転軸に設けられた部材を前記把持方向および解放方向に移動可能に支持する転動体と、
を有しているハンド。
【請求項10】
請求項8に記載のハンドにおいて、前記伸縮回転構造体が、
前記第1の回転軸および前記第2の回転軸の一方に設けられて、前記把持機構の開閉幅よりも軸方向寸法が長い第1の歯車と、
前記第1の回転軸および前記第2の回転軸の他方に設けられ、前記第1の歯車と噛み合って、前記第1の歯車の回転が伝達されるとともに、前記第1の歯車に対して前記把持方向および解放方向に移動可能な第2の歯車と、
を有しているハンド。
発明の詳細な説明
【技術分野】
【0001】
本発明は、機械部品、電子部品等のワークを把持する又は離す把持部を有するハンドに関する。
続きを表示(約 1,700 文字)
【背景技術】
【0002】
ボルト、電子部品等のワークをハンドの先端に設置した爪で把持する装置がある(例えば、特許文献1)。特許文献1の装置では、爪のワーク把持面が平面となっている。
【先行技術文献】
【特許文献】
【0003】
特開2002-283268号公報
【発明の概要】
【発明が解決しようとする課題】
【0004】
しかしながら、特許文献1のような把持面が平面の爪では、ボルト、ピン等の円柱・円筒形状のワークを把持する場合、ワークが把持面で滑って落ち易い。そのため、ワークを持ち上げることができなかったり、搬送中にワークが落ちてしまったりし易い。
【0005】
本発明の目的は、様々な形状や姿勢のワークも安定してピックアップすることができるハンドを提供する。
【課題を解決するための手段】
【0006】
本発明のハンドは、ワークを把持する又は開放する複数の爪部と、前記ワークを把持する把持方向および前記ワークを離す解放方向に前記爪部を移動させる把持部と、前記爪部で把持された前記ワークを前記把持方向および前記解放方向に平行な回転軸心回りに回転させる回転伝達機構とを備えている。前記爪部は、その基端部で前記把持部に前記把持方向および前記解放方向に移動可能に支持され、その先端部に前記ワークを把持する把持面を有し、前記基端部から先端部に延在方向に延びている。前記把持面は、前記延在方向の基端側の端部から前記延在方向の先端側に向かって前記解放方向に傾斜して延びる第1の傾斜面と、前記延在方向の先端側の端部から前記延在方向の基端側に向かって前記解放方向に傾斜して延びる第2の傾斜面とを有している。
【0007】
この構成によれば、把持面が第1の傾斜面と第2の傾斜面とを有しているので、複数の面が接平面となるようにピックアップできる。これにより、搬送台に対して傾いた姿勢のワークや、異径の円筒形のような特殊な形状のワークも安定してピックアップすることができる。また、爪部で把持されたワークを把持方向および解放方向に平行な回転軸心回りに回転させる回転伝達機構を備えているので、ピックアップ時のワークの姿勢に関わらず、安定してワークを移動させたり、置いたりすることができる。
【0008】
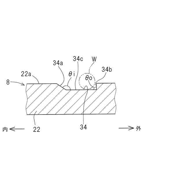
本発明において、前記延在方向と前記開閉方向に直交する直交方向から見て、前記第2の傾斜面を先端側に延長した先端側の仮想線と前記搬送台の水平な搬送面とのなす先端側角度αが、前記第1の傾斜面を基端側に延長した基端側の仮想線と前記搬送面に平行な平行線とのなす基端側角度βよりも小さく設定されていてもよい。この構成によれば、先端側角度αを小さくすることで、搬送台に対して僅かに傾いたワークをすくい上げやすくなる。また、基端側角度βを大きくすることで、第1の傾斜面と第2の傾斜面とのなす傾斜角度γが大きくなる。
【0009】
この場合、先端側角度αが25°以上で30°以下に設定され、基端側角度βが50°よりも大きく60°よりも小さく設定されていてもよい。つまり、25°≦α≦30°で、50°<β<60°であってもよい。先端側角度αが25°より小さいと、先端部が薄くなり、剛性が低下する。また、先端側角度αが30°を超えると、搬送台に対して僅かに傾いたワークをすくい上げにくい。基端側角度βは、傾斜角度γが円筒形状のワークの外径に適合するように設定される。シミュレーションにより、基端側角度βを50°よりも大きく60°よりも小さく設定することで、所望の外径の円筒形状のワークを安定してピックアップできることが確認された。
【0010】
本発明において、前記延在方向と前記開閉方向に直交する直交方向から見て、前記第2の傾斜面を先端側に延長した先端側の仮想線と前記搬送台の水平な搬送面とのなす先端側角度αが、前記第1の傾斜面を基端側に延長した基端側の仮想線と前記搬送面に平行な平行線とのなす基端側角度βよりも大きく設定されていてもよい。
(【0011】以降は省略されています)
この特許をJ-PlatPat(特許庁公式サイト)で参照する
関連特許
NTN株式会社
基板
6日前
NTN株式会社
玉軸受
7日前
NTN株式会社
ハンド
1日前
NTN株式会社
玉軸受
14日前
NTN株式会社
玉軸受
15日前
NTN株式会社
玉軸受
1か月前
NTN株式会社
把持装置
1日前
NTN株式会社
軸受装置
13日前
NTN株式会社
密封装置
1か月前
NTN株式会社
把持装置
1日前
NTN株式会社
転がり軸受
1か月前
NTN株式会社
転がり軸受
1か月前
NTN株式会社
深溝玉軸受
1か月前
NTN株式会社
転がり軸受
1日前
NTN株式会社
転がり軸受
1か月前
NTN株式会社
転がり軸受
7日前
NTN株式会社
基板取付構造
13日前
NTN株式会社
状態監視装置
今日
NTN株式会社
軸受用保持器
27日前
NTN株式会社
球面滑り軸受
1か月前
NTN株式会社
円筒ころ軸受
1か月前
NTN株式会社
等速自在継手
13日前
NTN株式会社
円筒ころ軸受
15日前
NTN株式会社
円すいころ軸受
6日前
NTN株式会社
車輪用軸受装置
1か月前
NTN株式会社
車輪用軸受装置
15日前
NTN株式会社
電動モータ装置
15日前
NTN株式会社
モータユニット
3日前
NTN株式会社
保持器付きころ
3日前
NTN株式会社
車輪用軸受装置
1か月前
NTN株式会社
絶縁転がり軸受
29日前
NTN株式会社
車輪用軸受装置
1か月前
NTN株式会社
プランマブロック
13日前
NTN株式会社
動力伝達シャフト
13日前
NTN株式会社
電動オイルポンプ
今日
NTN株式会社
状態監視システム
今日
続きを見る
他の特許を見る