TOP
|
特許
|
意匠
|
商標
特許ウォッチ
Twitter
他の特許を見る
公開番号
2025141637
公報種別
公開特許公報(A)
公開日
2025-09-29
出願番号
2024041656
出願日
2024-03-15
発明の名称
水電解システム、水電解システムにおける水電解セルの差圧調整方法
出願人
三菱重工業株式会社
代理人
個人
,
個人
,
個人
,
個人
,
個人
主分類
C25B
9/00 20210101AFI20250919BHJP(電気分解または電気泳動方法;そのための装置)
要約
【課題】水素と酸素の圧力変動を速やかに検出し、水電解セルにおける、水電解セルの差圧調整を、高い応答性で実施する。
【解決手段】水電解システムは、陰極、陽極、および陰極と陽極との間に配置されたイオン交換膜を備え、陰極とイオン交換膜との間の陰極室に供給された電解液から、水素および水酸化物イオンを生成し、陽極とイオン交換膜との間の陽極室に供給された電解液、およびイオン交換膜を通過した水酸化物イオンから、酸素を生成する水電解セルと、陰極室と陽極室との差圧を検出する差圧検出部と、差圧検出部で検出された差圧に基づいて、陰極室と陽極室との差圧を調整する差圧調整部と、を備える。
【選択図】図1
特許請求の範囲
【請求項1】
陰極、陽極、および前記陰極と前記陽極との間に配置されたイオン交換膜を備え、前記陰極と前記イオン交換膜との間の陰極室に供給された電解液から、水素および水酸化物イオンを生成し、前記陽極と前記イオン交換膜との間の陽極室に供給された電解液、および前記イオン交換膜を通過した前記水酸化物イオンから、酸素を生成する水電解セルと、
前記陰極室と前記陽極室との差圧を検出する差圧検出部と、
前記差圧検出部で検出された差圧に基づいて、前記陰極室と前記陽極室との差圧を調整する差圧調整部と、を備える、水電解システム。
続きを表示(約 990 文字)
【請求項2】
前記陰極室で生成された水素ガスを前記電解液から気液分離する陰極側気液分離器と、
前記陽極室で生成された酸素ガスを前記電解液から気液分離する陽極側気液分離器と、をさらに備え、
前記差圧調整部は、
前記陰極側気液分離器から送出される水素ガスの流量を調整する陰極側ガス流量調整弁と、
前記陽極側気液分離器から送出される酸素ガスの流量を調整する陽極側ガス流量調整弁と、の少なくとも一方の開度を、前記差圧検出部で検出された差圧に基づいて調整する
請求項1に記載の水電解システム。
【請求項3】
前記差圧調整部は、
前記陰極室から送出される前記水素を含む電解液の流量を調整する陰極側電解液流量調整弁と、
前記陽極室から送出される前記酸素を含む電解液の流量を調整する陽極側電解液流量調整弁と、の少なくとも一方の開度を、前記差圧検出部で検出された差圧に基づいて調整する
請求項1に記載の水電解システム。
【請求項4】
前記陰極室で生成された水素ガスを前記電解液から気液分離する陰極側気液分離器と、
前記陽極室で生成された酸素ガスを前記電解液から気液分離する陽極側気液分離器と、をさらに備え、
前記差圧調整部は、
前記陰極側気液分離器から前記陰極室に前記電解液を供給する陰極側ポンプと、
前記陽極側気液分離器から前記陽極室に前記電解液を供給する陽極側ポンプと、の少なくとも一方の回転数を、前記差圧検出部で検出された差圧に基づいて調整する
請求項1に記載の水電解システム。
【請求項5】
前記差圧調整部は、
前記差圧検出部で検出された差圧が、予め設定された閾値に達した場合に、前記陰極室と前記陽極室との差圧を調整する差圧制御部、をさらに備える
請求項1または2に記載の水電解システム。
【請求項6】
請求項1または2に記載の水電解システムにおける水電解セルの差圧調整方法であって、
前記陰極室と前記陽極室との差圧を検出するステップと、
検出された差圧に基づいて、前記陰極室と前記陽極室との差圧を調整するステップと、を含む、水電解システムにおける水電解セルの差圧調整方法。
発明の詳細な説明
【技術分野】
【0001】
本開示は、水電解システム、水電解システムにおける水電解セルの差圧調整方法に関する。
続きを表示(約 2,100 文字)
【背景技術】
【0002】
特許文献1には、陽イオン交換膜として固体高分子電解質膜を用いた水電解槽で純水の電気分解を行う水電解装置が開示されている。この水電解装置では、電気分解により、水電解槽の陰極室で水素と純水の混合物が生じ、陽極室で酸素と純水の混合物とが生じる。固体高分子電解質膜を用いた水電解装置においては、固体高分子電解質膜の破損を防止するために、固体高分子電解質膜で隔てられた陰極室と陽極室との差圧を小さく抑える必要がある。このため、特許文献1に開示された水電解装置では、水素、および酸素の圧力を圧力計で検出し、圧力制御弁の開度を制御することによって、水素、および酸素の圧力を所定の圧力に調整している。
【先行技術文献】
【特許文献】
【0003】
特開2004-84042号公報
【発明の概要】
【発明が解決しようとする課題】
【0004】
しかしながら、特許文献1に記載の水電解装置では、圧力計、および圧力制御弁が、水素と純水の混合物を水素ガスと純水とに分離する陰極側気液分離器、酸素と純水の混合物を酸素ガスと純水とに分離する陽極側気液分離器の下流側に、それぞれ設けられている。このため、水電解装置の陰極室、陽極室内で、水素、および酸素の圧力変動が生じてから、陰極側気液分離器、陽極側気液分離器の下流側に設けられた圧力計で、圧力変動が検出されるまでのタイムラグが大きくなってしまう。その結果、圧力計で、水素、および酸素の圧力の変動を圧力計で検出してから、水電解セルの差圧を調整するまでの応答性が低い、という問題があった。
【0005】
本開示は、上記課題を解決するためになされたものであって、水素と酸素の圧力変動を速やかに検出し、水電解セルにおける、水電解セルの差圧調整を、高い応答性で実施することができる水電解システム、水電解システムにおける水電解セルの差圧調整方法を提供することを目的とする。
【課題を解決するための手段】
【0006】
上記課題を解決するために、本開示に係る水電解システムは、陰極、陽極、および前記陰極と前記陽極との間に配置されたイオン交換膜を備え、前記陰極と前記イオン交換膜との間の陰極室に供給された電解液から、水素および水酸化物イオンを生成し、前記陽極と前記イオン交換膜との間の陽極室に供給された電解液、および前記イオン交換膜を通過した前記水酸化物イオンから、酸素を生成する水電解セルと、前記陰極室と前記陽極室との差圧を検出する差圧検出部と、前記差圧検出部で検出された差圧に基づいて、前記陰極室と前記陽極室との差圧を調整する差圧調整部と、を備える。
【0007】
本開示に係る水電解システムにおける水電解セルの差圧調整方法は、水電解システムにおける水電解セルの差圧調整方法であって、前記陰極室と前記陽極室との差圧を検出するステップと、検出された差圧に基づいて、前記陰極室と前記陽極室との差圧を調整するステップと、を含む。
【発明の効果】
【0008】
本開示の水電解システム、水電解システムにおける水電解セルの差圧調整方法によれば、水素と酸素の圧力変動を速やかに検出し、水電解セルにおける、水電解セルの差圧調整を、高い応答性で実施することができる。
【図面の簡単な説明】
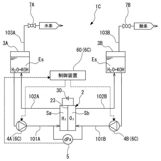
【0009】
本開示の第一実施形態に係る水電解システムの構成を示す図である。
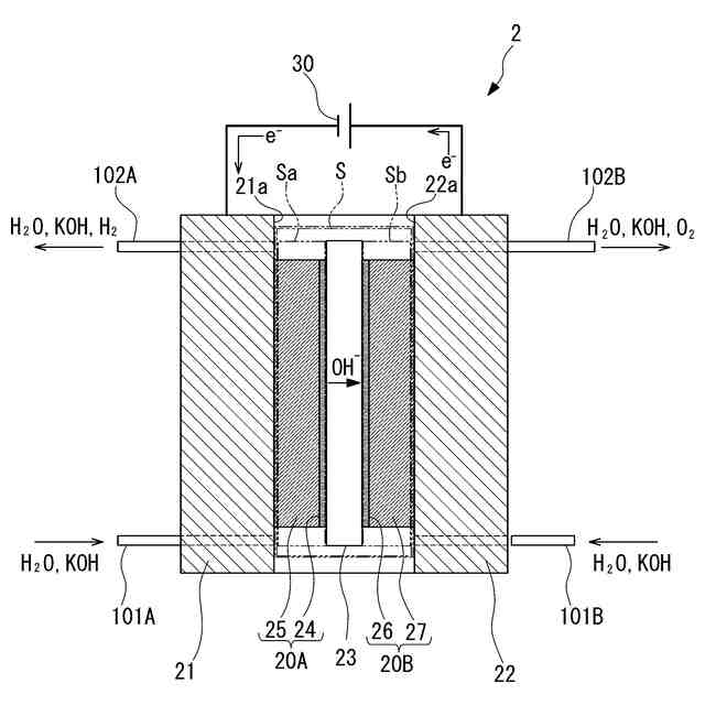
本開示の実施形態に係る水電解システムの水電解セルの構成を模式的に示す断面図である。
本開示の実施形態に係る水電解システムにおける水電解セルの差圧調整方法の手順の一例を示すフローチャートである。
本開示の第一実施形態に係る水電解システムで、水電解セルの差圧調整を行った場合の、水電解セルの差圧の変化と、陰極側ガス流量調整弁の開度との関係の一例を示す図である。
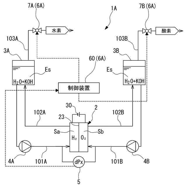
本開示の第二実施形態に係る水電解システムの構成を示す図である。
本開示の第二実施形態に係る水電解システムで、水電解セルの差圧調整を行った場合の、水電解セルの差圧の変化と、陰極側電解液流量調整弁の開度との関係の一例を示す図である。
本開示の第三実施形態に係る水電解システムの構成を示す図である。
本開示の第三実施形態に係る水電解システムで、水電解セルの差圧調整を行った場合の、水電解セルの差圧の変化と、陰極側ポンプの回転数との関係の一例を示す図である。
【発明を実施するための形態】
【0010】
以下、添付図面を参照して、本開示による水電解システム、水電解システムにおける水電解セルの差圧調整方法を実施するための形態を説明する。しかし、本開示はこれらの実施形態のみに限定されるものではない。
(水電解システムの構成)
図1に示すように、水電解システム1Aは、水電解セル2と、陰極側気液分離器3Aと、陽極側気液分離器3Bと、差圧検出部5と、差圧調整部6Aと、を少なくとも備えている。
(【0011】以降は省略されています)
この特許をJ-PlatPat(特許庁公式サイト)で参照する
関連特許
三菱重工業株式会社
清掃装置
6日前
三菱重工業株式会社
フィルタ装置
5日前
三菱重工業株式会社
風力発電装置
5日前
三菱重工業株式会社
洗浄水噴射ノズル
今日
三菱重工業株式会社
主蒸気管洗浄方法
5日前
三菱重工業株式会社
軌道系交通システム
5日前
三菱重工業株式会社
デジタル入力モジュール
今日
三菱重工業株式会社
シール装置および回転機械
今日
三菱重工業株式会社
内燃機関の制御装置および方法
5日前
三菱重工業株式会社
蒸気タービン翼及び蒸気タービン
5日前
三菱重工業株式会社
蒸気生成システム及び蒸気生成方法
6日前
三菱重工業株式会社
シール構造の製造方法およびシール構造
今日
三菱重工業株式会社
移動体、自己位置推定方法及びプログラム
今日
三菱重工業株式会社
電力変換器、および電力変換器の製造方法
5日前
三菱重工業株式会社
情報処理装置、情報処理方法及びプログラム
今日
三菱重工業株式会社
制御装置、ガスタービン、制御方法及びプログラム
1日前
三菱重工業株式会社
フォークリフトの制御装置および方法並びにフォークリフト
5日前
三菱重工業株式会社
固体燃料粉砕装置の運転方法並びに固体燃料粉砕装置及びボイラ設備
1日前
有限会社 ナプラ
端子
1か月前
株式会社カネカ
電解装置
1か月前
株式会社ノーリツ
電解水生成装置
1か月前
SMD株式会社
めっき処理装置
1か月前
大同特殊鋼株式会社
触媒合金
1か月前
株式会社カネカ
可撓性ガス拡散電極
9日前
本田技研工業株式会社
電解装置
20日前
株式会社東芝
アルマイト処理方法
29日前
本田技研工業株式会社
水電解システム
1か月前
本田技研工業株式会社
水電解システム
1か月前
本田技研工業株式会社
水電解スタック
5日前
一般財団法人電力中央研究所
電解反応装置
5日前
本田技研工業株式会社
水電解システム
1か月前
SECカーボン株式会社
カソードアセンブリ
1日前
トヨタ自動車株式会社
水電解スタック
1か月前
本田技研工業株式会社
電気化学スタック
28日前
本田技研工業株式会社
CO2電解装置
5日前
本田技研工業株式会社
電解セルの製造方法
13日前
続きを見る
他の特許を見る