TOP
|
特許
|
意匠
|
商標
特許ウォッチ
Twitter
他の特許を見る
公開番号
2025146228
公報種別
公開特許公報(A)
公開日
2025-10-03
出願番号
2024046897
出願日
2024-03-22
発明の名称
フィルタ装置
出願人
三菱重工業株式会社
代理人
個人
,
個人
,
個人
,
個人
,
個人
主分類
H03H
7/01 20060101AFI20250926BHJP(基本電子回路)
要約
【課題】より小型化され、かつさらに性能が向上したフィルタ装置を提供する。
【解決手段】フィルタ装置は、軸線を中心とする円環状のリングコアと、リングコアの内周側に挿通されるとともに、内周側において軸線に対する直径方向に積層された複数のバスバーと、を備えるフィルタ装置であって、バスバーは、軸線方向に延びる第一部材と、第一部材と一体に形成され、第一部材の軸線方向の端部から軸線に交差する方向に延びる第二部材と、第二部材、及び軸線方向にずらして配置された他のバスバーの第二部材を接続する接続部材と、を有し、リングコアは、軸線方向において、接続部材で接続された第二部材同士の間に位置している。
【選択図】図1
特許請求の範囲
【請求項1】
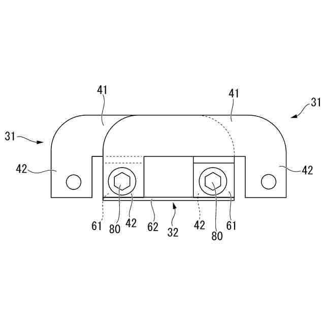
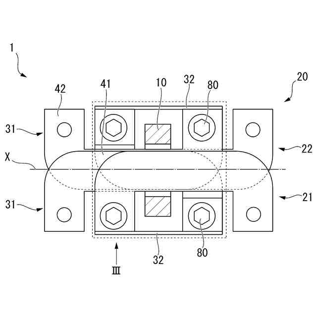
軸線を中心とする円環状のリングコアと、
該リングコアの内周側に挿通されるとともに、前記内周側において前記軸線に対する直径方向に積層された複数のバスバーと、
を備えるフィルタ装置であって、
前記バスバーは、
前記軸線方向に延びる第一部材と、
該第一部材と一体に形成され、前記第一部材の前記軸線方向の端部から前記軸線に交差する方向に延びる第二部材と、
該第二部材、及び前記軸線方向にずらして配置された他の前記バスバーの前記第二部材を接続する接続部材と、
を有し、
前記リングコアは、前記軸線方向において、前記接続部材で接続された前記第二部材同士の間に位置しているフィルタ装置。
続きを表示(約 690 文字)
【請求項2】
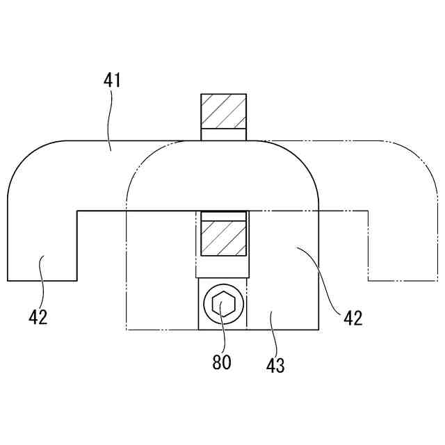
前記第一部材と前記第二部材の接続部における外周側の角部は面取りされている請求項1に記載のフィルタ装置。
【請求項3】
前記第一部材、及び前記第二部材は、前記軸線に平行な面内に沿って広がる板状をなし、前記接続部材は、前記第二部材に対して、該第二部材の法線方向から固定されている請求項1又は2に記載のフィルタ装置。
【請求項4】
前記接続部材は、前記第二部材に固定される一対の爪部と、
該一対の爪部同士を接続するとともに、前記軸線に交差する方向に広がる折り曲げ部と、
を有する請求項3に記載のフィルタ装置。
【請求項5】
前記バスバーの表面を覆う絶縁被膜をさらに有する請求項1又は2に記載のフィルタ装置。
【請求項6】
軸線を中心とする円環状のリングコアと、
該リングコアの内周側に挿通される複数のバスバーと、
を備えるフィルタ装置であって、
前記バスバーは、
前記軸線方向に延びる第一部材と、
該第一部材と一体に形成され、前記第一部材の前記軸線方向両側の端部から前記軸線に交差する方向に延びる第二部材と、
該第二部材と一体に形成され、該第二部材の端部から前記第一部材と対向するように延びる第三部材と、
を有し、
前記第三部材は、前記軸線方向にずらして配置された他の前記バスバーの前記第三部材と接続され、
前記リングコアは、前記軸線方向において、互いに接続された前記第三部材同士の間に位置しているフィルタ装置。
発明の詳細な説明
【技術分野】
【0001】
本開示は、フィルタ装置に関する。
続きを表示(約 1,500 文字)
【背景技術】
【0002】
例えば電力変換装置には、高周波の干渉電圧等によって生じるノイズを取り除くためのフィルタ装置が併設されている。フィルタ装置の一例としては、下記特許文献1に記載されたものが知られている。下記特許文献1に係るフィルタ装置は、複数のリングコアと、これらリングコアの内周側に挿通される複数のバスバーと、を主に備えている。
【先行技術文献】
【特許文献】
【0003】
特開2018-157747号公報
【発明の概要】
【発明が解決しようとする課題】
【0004】
しかしながら、上記特許文献1に係るフィルタ装置では、バスバーがリングコアの直径方向に互いに離間するように延びている。このため、バスバーの端部に他の配線を接続する上で、工具をアクセスさせるためのスペースが必要になる。その結果、フィルタ装置の実質的な占有面積(フットプリント)が大きくなってしまう。結果として、フィルタ装置が組み込まれる他の装置の寸法体格も大型化してしまうという課題があった。
【0005】
本開示は上記課題を解決するためになされたものであって、より小型化され、かつさらに性能が向上したフィルタ装置を提供することを目的とする。
【課題を解決するための手段】
【0006】
上記課題を解決するために、本開示に係るフィルタ装置は、軸線を中心とする円環状のリングコアと、該リングコアの内周側に挿通されるとともに、前記内周側において前記軸線に対する直径方向に積層された複数のバスバーと、を備えるフィルタ装置であって、前記バスバーは、前記軸線方向に延びる第一部材と、該第一部材と一体に形成され、前記第一部材の前記軸線方向の端部から前記軸線に交差する方向に延びる第二部材と、該第二部材、及び前記軸線方向にずらして配置された他の前記バスバーの前記第二部材を接続する接続部材と、を有し、前記リングコアは、前記軸線方向において、前記接続部材で接続された前記第二部材同士の間に位置している。
【発明の効果】
【0007】
本開示によれば、より小型化され、かつさらに性能が向上したフィルタ装置を提供することができる。
【図面の簡単な説明】
【0008】
本開示の第一実施形態に係るフィルタ装置の構成を示す平面図である。
本開示の第一実施形態に係るバスバーの拡大平面図である。
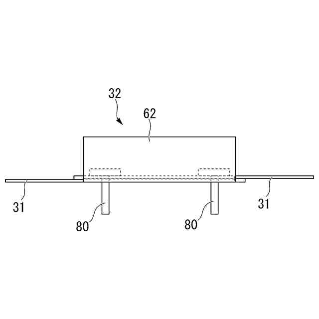
図1のIII方向から見た側面図である。
本開示の第一実施形態に係るリングコアにバスバーを挿通する際の様子を示す説明図である。
本開示の第二実施形態に係るバスバーの拡大平面図である。
【発明を実施するための形態】
【0009】
<第一実施形態>
(フィルタ装置1の構成)
以下、本開示の第一実施形態に係るフィルタ装置1について、図1から図4を参照して説明する。このフィルタ装置1は、例えば電力変換装置に搭載されることで、高周波のノイズを電流から取り除くことを目的として用いられる。
【0010】
図1に示すように、フィルタ装置1は、リングコア10と、バスバー20と、端子台(不図示)と、を備える。リングコア10は、軸線Xを中心とする円環状をなしている。リングコア10は、磁性体で一体に形成されている。リングコア10の内周側の開口には、バスバー20が挿通されている。
(【0011】以降は省略されています)
この特許をJ-PlatPat(特許庁公式サイト)で参照する
関連特許
三菱重工業株式会社
清掃装置
3日前
三菱重工業株式会社
フィルタ装置
2日前
三菱重工業株式会社
風力発電装置
2日前
三菱重工業株式会社
容器解体装置
6日前
三菱重工業株式会社
主蒸気管洗浄方法
2日前
三菱重工業株式会社
排熱回収システム
25日前
三菱重工業株式会社
軌道系交通システム
2日前
三菱重工業株式会社
炉内構造物の解体方法
6日前
三菱重工業株式会社
造形プロセスの監視方法
10日前
三菱重工業株式会社
計測装置、及び積層造形装置
24日前
三菱重工業株式会社
ウエハステージ冷却システム
10日前
三菱重工業株式会社
計測装置、及び積層造形装置
24日前
三菱重工業株式会社
水素供給システムおよび方法
6日前
三菱重工業株式会社
内燃機関の制御装置および方法
2日前
三菱重工業株式会社
蒸気タービン翼及び蒸気タービン
2日前
三菱重工業株式会社
蒸気生成システム及び蒸気生成方法
3日前
三菱重工業株式会社
電力変換器、および電力変換器の製造方法
2日前
三菱重工業株式会社
アンモニア分解触媒および排ガス処理方法
25日前
三菱重工業株式会社
排気設備、及びこれを備えるガスタービン
4日前
三菱重工業株式会社
ガスタービン起動方法、及び、ガスタービン
16日前
三菱重工業株式会社
除去装置、除去装置の制御装置および除去方法
6日前
三菱重工業株式会社
静翼セグメント、及びこれを備える蒸気タービン
18日前
三菱重工業株式会社
液滴噴霧ユニット、および、蒸気タービンシステム
10日前
三菱重工業株式会社
治具モデル作成装置、治具モデル作成方法及びプログラム
24日前
三菱重工業株式会社
フォークリフトの制御装置および方法並びにフォークリフト
2日前
三菱重工業株式会社
スピレージホッパ及び粉砕機並びにスピレージホッパの運転方法
9日前
三菱重工業株式会社
予備品保有数量算出装置、予備品保有数量算出方法及びプログラム
6日前
三菱重工業株式会社
水電解システム、水電解システムにおける水電解セルの差圧調整方法
6日前
三菱重工業株式会社
メタン酸化触媒装置の換気システム及びメタン酸化触媒装置の換気方法
25日前
三菱重工業株式会社
故障診断システム、故障診断方法、及び故障診断プログラム並びに移動体
10日前
三菱重工業株式会社
ガスケット接続部信頼性評価システム、ガスケット接続部信頼性評価方法及びプログラム
16日前
エイブリック株式会社
増幅器
3日前
株式会社大真空
圧電振動デバイス
2か月前
エイブリック株式会社
電圧検出器
1か月前
日本電波工業株式会社
圧電デバイス
2か月前
ローム株式会社
オペアンプ
2か月前
続きを見る
他の特許を見る