TOP
|
特許
|
意匠
|
商標
特許ウォッチ
Twitter
他の特許を見る
公開番号
2025145940
公報種別
公開特許公報(A)
公開日
2025-10-03
出願番号
2024046463
出願日
2024-03-22
発明の名称
CO2電解装置
出願人
本田技研工業株式会社
代理人
個人
,
個人
,
個人
主分類
C25B
9/73 20210101AFI20250926BHJP(電気分解または電気泳動方法;そのための装置)
要約
【課題】CO
2
の回収効率を高めたCO
2
電解装置の提供。
【解決手段】積層された複数のCO
2
電解セルからなるCO
2
電解積層体と、前記CO
2
電解積層体の積層方向の両端に設けられたエンドプレートと、前記CO
2
電解積層体の前記積層方向と垂直な第1の方向の両端に設けられ、且つ、前記エンドプレートに挟まれたカラーと、を備え、前記カラーは、前記CO
2
電解積層体よりも積層方向に長く、前記エンドプレートは、前記CO
2
電解積層体の前記第1の方向の中央部で前記積層方向内側に撓んだ形状を有する、ことを特徴とするCO
2
電解装置。
【選択図】図1
特許請求の範囲
【請求項1】
積層された複数のCO
2
電解セルからなるCO
2
電解積層体と、
前記CO
2
電解積層体の積層方向の両端に設けられたエンドプレートと、
前記CO
2
電解積層体の前記積層方向と垂直な第1の方向の両端に設けられ、且つ、前記エンドプレートに挟まれたカラーと、を備え、
前記カラーは、前記CO
2
電解積層体よりも積層方向に長く、
前記エンドプレートは、前記CO
2
電解積層体の前記第1の方向の中央部で前記積層方向内側に撓んだ形状を有する、ことを特徴とするCO
2
電解装置。
続きを表示(約 260 文字)
【請求項2】
前記エンドプレートは、複数のボルト穴を備え、
前記ボルト穴に挿通されたボルトと、ナットとが締結されることにより、前記エンドプレートが前記積層方向内側に撓んだ形状を有する、ことを特徴とする請求項1に記載のCO
2
電解装置。
【請求項3】
前記CO
2
電解積層体の電解液入口が、電解液出口よりも、前記積層方向及び前記第1の方向と垂直な第2の方向の中央寄りに配置される、ことを特徴とする請求項1又は2に記載のCO
2
電解装置。
発明の詳細な説明
【技術分野】
【0001】
本発明は、CO
2
電解装置に係る発明である。
続きを表示(約 1,600 文字)
【背景技術】
【0002】
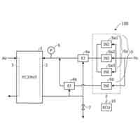
従来より気候変動の緩和または影響軽減を目的とした取り組みが継続され、この実現に向けてCO
2
の排出量低減に関する研究開発が行われている。
【0003】
排気ガスや大気中のCO
2
を回収し、電気化学的に還元して有価物を得る技術は、カーボンニュートラルを達成する可能性のある有望な技術であるが、経済性が最大の課題である。経済性を改善するためには、CO
2
の回収及び還元において、エネルギー効率を高め、またCO
2
の損失を小さくすることが重要である。
【0004】
CO
2
を回収する技術としては、例えば、特許文献1には、電気化学反応装置に用いるカソード側電解液のpHをアノード側電解液のpHよりも高くして、カソードでの水素発生を抑制することで、CO
2
を吸着剤に吸着させ、加熱によって脱離させて還元する場合に比べて、CO
2
の脱離に要するエネルギーが低減され、エネルギー効率を高くできるうえ、CO
2
の損失も低減できることが開示されている。
【先行技術文献】
【特許文献】
【0005】
特開2022-1518866号公報
【発明の概要】
【発明が解決しようとする課題】
【0006】
ところで、CO
2
の排出量低減においては、CO
2
の回収効率を更に高めるために、CO
2
を回収する装置の更なる大型化が課題である。
【0007】
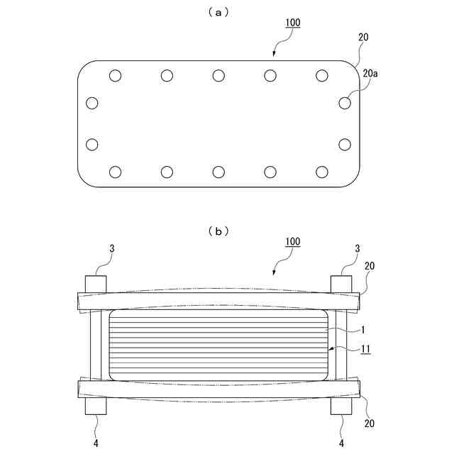
図3に示すように、特許文献1に記載されたような電気化学反応装置(CO
2
電解積層体11)は、積層方向の両端に設けられたエンドプレート20と、複数のボルト穴20aに挿通されたボルト3と、ナット4とでCO
2
電解装置100を構成する。ボルト3とナット4とが締結されることで、エンドプレート20とCO
2
電解積層体11とが接触し、CO
2
電解積層体11に圧力が加わる。
【0008】
CO
2
電解積層体11に圧力が加わると、CO
2
電解セル1における電流が流れ、化学反応を促進することができる。しかしながら、CO
2
電解装置100が大型化すると、ボルト3とナット4とにより締結されるのはエンドプレート20の端部のみのため、図3(b)に二点鎖線で強調して示すようにエンドプレート20の中央部が積層方向外側に撓み、CO
2
電解積層体11に十分な圧力を加えることができない場合がある。CO
2
電解積層体11に圧力が十分に加わらない部分があると、その部分において十分な電流が流れず、CO
2
電解セル1における反応効率が低下してしまう。
【0009】
このような課題を解決する方法として、剛性を高めるために、より厚いエンドプレート20を用いることで、中央部における撓みを抑える方法が挙げられる。しかしながら、エンドプレート20の直材量増加によるコスト上昇の問題や、CO
2
電解積層体11を含むCO
2
電解装置100の重量増加などの問題が生じる。
【0010】
本発明は上述の課題に鑑みてなされたものであり、CO
2
の回収効率を高めたCO
2
電解装置を提供することを目的とする。そして、延いては気候変動の緩和または影響軽減に寄与するものである。
【課題を解決するための手段】
(【0011】以降は省略されています)
この特許をJ-PlatPat(特許庁公式サイト)で参照する
関連特許
本田技研工業株式会社
移動体
今日
本田技研工業株式会社
バッテリ
6日前
本田技研工業株式会社
切断装置
5日前
本田技研工業株式会社
固体電池
今日
本田技研工業株式会社
電気機器
今日
本田技研工業株式会社
会話装置
5日前
本田技研工業株式会社
保持装置
6日前
本田技研工業株式会社
ステータ
5日前
本田技研工業株式会社
バッテリ
6日前
本田技研工業株式会社
電気機器
今日
本田技研工業株式会社
保管装置
7日前
本田技研工業株式会社
保管装置
7日前
本田技研工業株式会社
全固体電池
今日
本田技研工業株式会社
全固体電池
今日
本田技研工業株式会社
リンク機構
5日前
本田技研工業株式会社
鞍乗り型車両
5日前
本田技研工業株式会社
鞍乗り型車両
5日前
本田技研工業株式会社
放電処理方法
7日前
本田技研工業株式会社
ガス回収装置
1日前
本田技研工業株式会社
車両制御装置
1日前
本田技研工業株式会社
鞍乗り型車両
6日前
本田技研工業株式会社
タンク配置構造
1日前
本田技研工業株式会社
遠心ファン構造
6日前
本田技研工業株式会社
車両用冷却装置
5日前
本田技研工業株式会社
車両用冷却装置
5日前
本田技研工業株式会社
CO2電解装置
5日前
本田技研工業株式会社
CO2変換方法
5日前
本田技研工業株式会社
リリーフバルブ
6日前
本田技研工業株式会社
水電解スタック
5日前
本田技研工業株式会社
遠心ファン構造
6日前
本田技研工業株式会社
車室環境制御装置
5日前
本田技研工業株式会社
バッテリシステム
6日前
本田技研工業株式会社
車室環境制御装置
5日前
本田技研工業株式会社
燃料電池システム
6日前
本田技研工業株式会社
燃料電池システム
1日前
本田技研工業株式会社
回転電機のロータ
今日
続きを見る
他の特許を見る