TOP
|
特許
|
意匠
|
商標
特許ウォッチ
Twitter
他の特許を見る
公開番号
2025138153
公報種別
公開特許公報(A)
公開日
2025-09-25
出願番号
2024037066
出願日
2024-03-11
発明の名称
電解セルの製造方法
出願人
本田技研工業株式会社
代理人
弁理士法人桐朋
主分類
C25B
13/02 20060101AFI20250917BHJP(電気分解または電気泳動方法;そのための装置)
要約
【課題】電解セルの製造中に位置ずれが発生するリスクを低減する、電解セルの製造方法を提供する。
【解決手段】電解セル(12)の製造方法は、電解質膜・電極構造体(30)と流体供給側給電体(42)との間に設けられる保護シート部材(48)の枠部(48b)と、電解質膜・電極構造体(30)のうちの電解質膜(40)が電極触媒層(42a)で覆われる被覆部(40a)よりも外側の部位とを接合して接合部を形成する接合工程と、接合された電解質膜・電極構造体(30)及び保護シート部材(48)を、保護シート部材(48)が流体供給側給電体(42)に向く状態で、流体供給側給電体(42)に積層する接合体積層工程と、を含む。
【選択図】図2
特許請求の範囲
【請求項1】
貫通孔が形成された電解質膜と、前記電解質膜の両面に設けられ、前記電解質膜のうちの前記貫通孔の周縁部位と外周縁部位との間の部位を覆う一対の電極触媒層とによって構成される電解質膜・電極構造体と、
前記電解質膜・電極構造体の両側に配される一対の給電体と、
一対の前記給電体の一方と、前記電解質膜・電極構造体との間に設けられる保護シート部材と、
を備え、
一対の前記給電体の一方は、電解に用いられる流体が供給される流体供給側給電体であり、
前記保護シート部材は、前記電解質膜のうちの前記電極触媒層で覆われる被覆部に向く中央部と、前記中央部よりも外側の枠部とによって構成される電解セルの製造方法であって、
前記枠部と、前記電解質膜・電極構造体のうちの前記被覆部より外側の部位とを接合して接合部を形成する接合工程と、
前記接合された前記電解質膜・電極構造体及び前記保護シート部材を、前記保護シート部材が前記流体供給側給電体に向く状態で、前記流体供給側給電体に積層する接合体積層工程と、
を含む、電解セルの製造方法。
続きを表示(約 330 文字)
【請求項2】
請求項1に記載の電解セルの製造方法であって、
前記接合部は、前記中央部と前記枠部との境界位置、及び、前記枠部の外周端の各々から離れている、電解セルの製造方法。
【請求項3】
請求項1に記載の電解セルの製造方法であって、
前記接合部は、前記保護シート部材の周方向に間隔をあけて複数設けられる、電解セルの製造方法。
【請求項4】
請求項1に記載の電解セルの製造方法であって、
前記接合部は、溶着により形成される、電解セルの製造方法。
【請求項5】
請求項4に記載の電解セルの製造方法であって、
前記接合部は、前記中央部を囲むリング状に形成される、電解セルの製造方法。
発明の詳細な説明
【技術分野】
【0001】
本開示は、電解セルの製造方法に関する。
続きを表示(約 1,600 文字)
【背景技術】
【0002】
複数の電解セルが積層された積層体を備える電解スタックがある。電解セルとして、水を電解する水電解セル、水素(水素ガス)を電解する水素電解セル等がある。複数の水電解セルが積層された積層体を備える電解スタックは、水電解装置と称される場合がある。複数の水素電解セルが積層された積層体を備える電解スタックは、EHC(Electrochemical Hydrogen Compressor)と称される場合がある。
【0003】
下記特許文献1には、水電解セルを備える水電解装置が開示されている。この水電解装置では、複数の水電解セルが積層される。水電解セルは、電解質膜・電極構造体と、電解質膜・電極構造体の両側に配される一対の給電体と、一対の給電体の一方と、電解質膜・電極構造体との間に設けられる保護シート部材と、を備えている。
【先行技術文献】
【特許文献】
【0004】
特開2019-157212号公報
【発明の概要】
【発明が解決しようとする課題】
【0005】
電解セルは、電解質膜・電極構造体と、一対の給電体と、保護シート部材とを所定の順序で積層して製造される。電解セルの製造中において位置ずれの発生リスクを低減することが待望される。
【0006】
本発明は、上述した課題を解決することを目的とする。
【課題を解決するための手段】
【0007】
本開示の態様は、貫通孔が形成された電解質膜と、前記電解質膜の両面に設けられ、前記電解質膜のうちの前記貫通孔の周縁部位と外周縁部位との間の部位を覆う一対の電極触媒層とによって構成される電解質膜・電極構造体と、前記電解質膜・電極構造体の両側に配される一対の給電体と、一対の前記給電体の一方と、前記電解質膜・電極構造体との間に設けられる保護シート部材と、を備え、一対の前記給電体の一方は、電解に用いられる流体が供給される流体供給側給電体であり、前記保護シート部材は、前記電解質膜のうちの前記電極触媒層で覆われる被覆部に向く中央部と、前記中央部よりも外側の枠部とによって構成される電解セルの製造方法であって、前記枠部と、前記電解質膜・電極構造体のうちの前記被覆部より外側の部位とを接合して接合部を形成する接合工程と、前記接合された前記電解質膜・電極構造体及び前記保護シート部材を、前記保護シート部材が前記流体供給側給電体に向く状態で、前記流体供給側給電体に積層する接合体積層工程とを含む、電解セルの製造方法である。
【発明の効果】
【0008】
本開示の態様によれば、保護シート部材に対して専用の規制部材がなくても、保護シート部材の位置ずれが規制可能となる。その結果、電解セルの製造中において位置ずれの発生リスクを低減することができる。
【図面の簡単な説明】
【0009】
図1は、実施形態に係る電解スタックの斜視図である。
図2は、電解スタックを構成する電解セルの分解斜視図である。
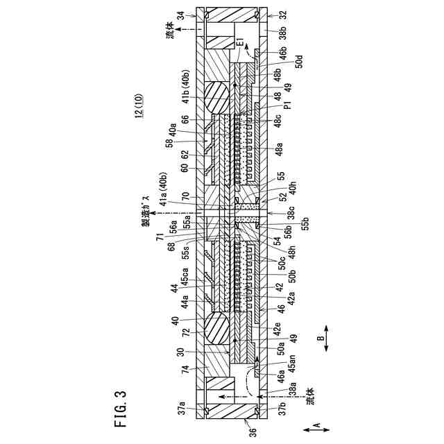
図3は、図2のIII-III線矢視断面図である。
図4は、電解セルの製造方法の手順を示すフローチャートである。
図5は、接合部で接合された接合体を示す図である。
図6は、接合部で接合された他の接合体を示す図である。
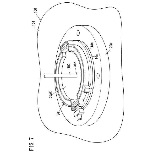
図7は、第1配置工程後の状態を示す図である。
図8は、図5に示す接合体が積層された状態を示す図である。
【発明を実施するための形態】
【0010】
図1に示すように、本実施形態に係る電解スタック10は、複数の電解セル12が鉛直方向(矢印A方向)又は水平方向(矢印B方向)に積層された積層体14を備える。電解セル12は、水電解セルであってもよい。或いは、電解セル12は、水素電解セルであってもよい。
(【0011】以降は省略されています)
この特許をJ-PlatPat(特許庁公式サイト)で参照する
関連特許
本田技研工業株式会社
モータ
4日前
本田技研工業株式会社
内燃機関
7日前
本田技研工業株式会社
ステータ
今日
本田技研工業株式会社
車両構造
4日前
本田技研工業株式会社
車両構造
4日前
本田技研工業株式会社
受電装置
2日前
本田技研工業株式会社
送電装置
2日前
本田技研工業株式会社
断続装置
2日前
本田技研工業株式会社
固体電池
2日前
本田技研工業株式会社
保管装置
2日前
本田技研工業株式会社
バッテリ
1日前
本田技研工業株式会社
バッテリ
1日前
本田技研工業株式会社
保持装置
1日前
本田技研工業株式会社
会話装置
今日
本田技研工業株式会社
保管装置
2日前
本田技研工業株式会社
切断装置
今日
本田技研工業株式会社
リンク機構
今日
本田技研工業株式会社
鞍乗り型車両
今日
本田技研工業株式会社
鞍乗り型車両
1日前
本田技研工業株式会社
放電処理方法
2日前
本田技研工業株式会社
電源システム
2日前
本田技研工業株式会社
鞍乗り型車両
今日
本田技研工業株式会社
潤滑システム
2日前
本田技研工業株式会社
分離システム
4日前
本田技研工業株式会社
運転制御装置
4日前
本田技研工業株式会社
モータ制御装置
2日前
本田技研工業株式会社
遠心ファン構造
1日前
本田技研工業株式会社
遠心ファン構造
1日前
本田技研工業株式会社
水電解スタック
今日
本田技研工業株式会社
車両用冷却装置
今日
本田技研工業株式会社
車両用冷却装置
今日
本田技研工業株式会社
リリーフバルブ
1日前
本田技研工業株式会社
能動型防振装置
4日前
本田技研工業株式会社
モータ支持構造
4日前
本田技研工業株式会社
CO2電解装置
今日
本田技研工業株式会社
CO2変換方法
今日
続きを見る
他の特許を見る