TOP
|
特許
|
意匠
|
商標
特許ウォッチ
Twitter
他の特許を見る
公開番号
2025146197
公報種別
公開特許公報(A)
公開日
2025-10-03
出願番号
2024046849
出願日
2024-03-22
発明の名称
水電解スタック
出願人
本田技研工業株式会社
代理人
弁理士法人桐朋
主分類
C25B
9/00 20210101AFI20250926BHJP(電気分解または電気泳動方法;そのための装置)
要約
【課題】給電体の表面に気泡として生じるガスを剥離させることができる、水電解スタックを提供する。
【解決手段】水電解スタックは、電解質膜40と、電解質膜40の厚み方向の両側の一方に設けられる板状の給電体42とを含む膜電極構造体30と、外部から供給される水を導入する水導入部と、給電体42に向き合って配され、水導入部に導入される水を給電体42の面方向に沿って導く水流路50bが設けられる水流路部材46と、水導入部に対して水を圧送する圧送部を備え、圧送部は、水の圧送量を連続的に変更することによって、給電体42の面方向に沿って水流路50bを流れる水を脈動させる。
【選択図】図3
特許請求の範囲
【請求項1】
電解質膜と、前記電解質膜の厚み方向の両側の一方に設けられる板状の給電体とを含む膜電極構造体と、
外部から供給される水を導入する水導入部と、
前記給電体に向き合って配され、前記水導入部に導入される前記水を前記給電体の面方向に沿って導く水流路が設けられる水流路部材と、
を有する水電解スタックであって、
前記水導入部に対して前記水を圧送する圧送部を備え、
前記圧送部は、前記水の圧送量を連続的に変更することによって、前記給電体の面方向に沿って前記水流路を流れる前記水を脈動させる、水電解スタック。
続きを表示(約 570 文字)
【請求項2】
電解質膜と、前記電解質膜の厚み方向の両側の一方に設けられる板状の給電体とを含む膜電極構造体と、
外部から供給される水を導入する水導入部と、
前記給電体に向き合って配され、前記水導入部に導入される前記水を前記給電体の面方向に沿って導く水流路が設けられる水流路部材と、
を有する水電解スタックであって、
前記水導入部に設けられ、前記水導入部に導入される水の水量を調整する水量調整部を備え、
前記水量調整部は、前記水の前記水量を連続的に変更することによって、前記給電体の面方向に沿って前記水流路を流れる前記水を脈動させる、水電解スタック。
【請求項3】
請求項1又は2に記載の水電解スタックであって、
前記電解質膜と、前記給電体と、前記水流路部材とは重力方向に積層され、
前記水流路は、水平方向に延びている、水電解スタック。
【請求項4】
請求項2に記載の水電解スタックであって、
前記水量調整部には、定格出力で動作する圧送部から前記水が供給される、水電解スタック。
【請求項5】
請求項1又は2に記載の水電解スタックであって、
前記水導入部に導入される前記水を加圧する加圧部を備える、水電解スタック。
発明の詳細な説明
【技術分野】
【0001】
本開示は、水電解スタックに関する。
続きを表示(約 1,400 文字)
【背景技術】
【0002】
下記特許文献には、電解によって発生した気泡が電極(給電体)の表面に付着することによる電解効率の低下を防止する技術が開示されている。具体的には、電解液と気泡との気液混合体を電解槽に導入し、導入された気液混合体中の気泡を、電解槽内の電極(給電体)の表面に生じたガス(気泡)に衝突させる。
【0003】
また、下記特許文献には、電解槽に導入される気液混合体中の気泡の調整手法が開示されている。具体的には、電解槽に導入される気液混合体の流量が調整される。また、電解槽に導入される気液混合体中の気泡の泡径が、電解槽の内部圧力によって調整される。また、電解槽に導入される気液混合体中の気泡の比率が、電解液に供給される気泡の量によって調整される。
【先行技術文献】
【特許文献】
【0004】
特開2012-001745号公報
【発明の概要】
【発明が解決しようとする課題】
【0005】
気泡が水電解スタック内に停滞すると電解効率が低下する傾向がある。そのため、水電解スタックに導入される水に積極的に気泡を混合することなく、給電体の表面に気泡として生じるガスを剥離させることが待望される。
【0006】
本発明は、上述した課題を解決することを目的とする。
【課題を解決するための手段】
【0007】
本開示の第1の態様は、電解質膜と、前記電解質膜の厚み方向の両側の一方に設けられる板状の給電体とを含む膜電極構造体と、外部から供給される水を導入する水導入部と、前記給電体に向き合って配され、前記水導入部に導入される前記水を前記給電体の面方向に沿って導く水流路が設けられる水流路部材と、を有する水電解スタックであって、前記水導入部に対して前記水を圧送する圧送部を備え、前記圧送部は、前記水の圧送量を連続的に変更することによって、前記給電体の面方向に沿って前記水流路を流れる前記水を脈動させる、水電解スタックである。
【0008】
本開示の第2の態様は、電解質膜と、前記電解質膜の厚み方向の両側の一方に設けられる板状の給電体とを含む膜電極構造体と、外部から供給される水を導入する水導入部と、前記給電体に向き合って配され、前記水導入部に導入される前記水を前記給電体の面方向に沿って導く水流路が設けられる水流路部材と、を有する水電解スタックであって、前記水導入部に設けられ、前記水導入部に導入される水の水量を調整する水量調整部を備え、前記水量調整部は、前記水の前記水量を連続的に変更することによって、前記給電体の面方向に沿って前記水流路を流れる前記水を脈動させる、水電解スタックである。
【発明の効果】
【0009】
本開示の態様によれば、電解によって給電体の表面に気泡として生じるガスを、水の脈動によって給電体から剥離させることができる。
【図面の簡単な説明】
【0010】
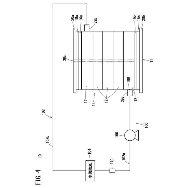
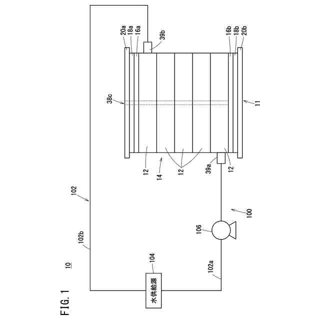
図1は、第1実施形態に係る水電解システムを示す図である。
図2は、水電解セルの分解斜視図である。
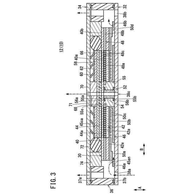
図3は、図2のIII-III線矢視断面図である。
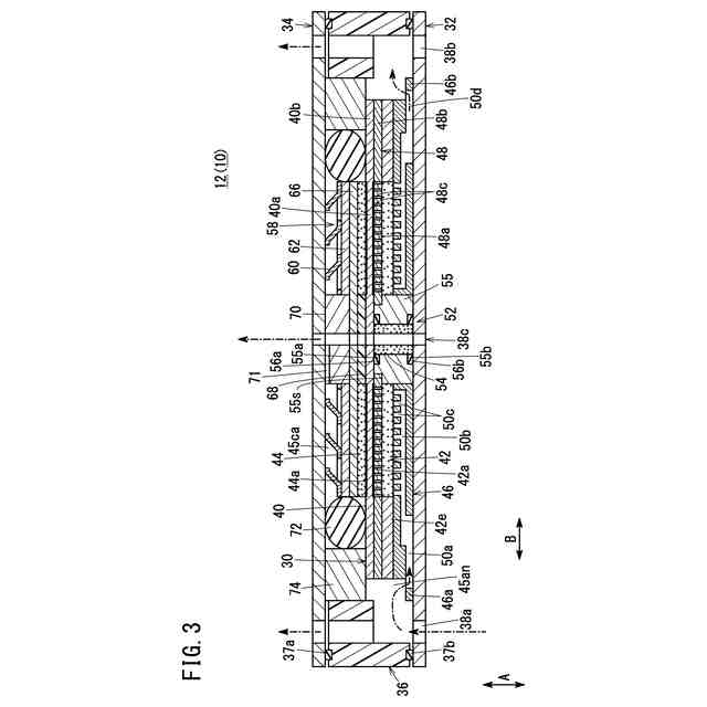
図4は、第2実施形態に係る水電解システムを示す図である。
【発明を実施するための形態】
(【0011】以降は省略されています)
この特許をJ-PlatPat(特許庁公式サイト)で参照する
関連特許
本田技研工業株式会社
会話装置
今日
本田技研工業株式会社
切断装置
今日
本田技研工業株式会社
保管装置
2日前
本田技研工業株式会社
バッテリ
1日前
本田技研工業株式会社
バッテリ
1日前
本田技研工業株式会社
保持装置
1日前
本田技研工業株式会社
保管装置
2日前
本田技研工業株式会社
ステータ
今日
本田技研工業株式会社
固体電池
2日前
本田技研工業株式会社
断続装置
2日前
本田技研工業株式会社
送電装置
2日前
本田技研工業株式会社
受電装置
2日前
本田技研工業株式会社
リンク機構
今日
本田技研工業株式会社
鞍乗り型車両
今日
本田技研工業株式会社
潤滑システム
2日前
本田技研工業株式会社
電源システム
2日前
本田技研工業株式会社
鞍乗り型車両
今日
本田技研工業株式会社
鞍乗り型車両
1日前
本田技研工業株式会社
放電処理方法
2日前
本田技研工業株式会社
リリーフバルブ
1日前
本田技研工業株式会社
遠心ファン構造
1日前
本田技研工業株式会社
車両用冷却装置
今日
本田技研工業株式会社
車両用冷却装置
今日
本田技研工業株式会社
遠心ファン構造
1日前
本田技研工業株式会社
CO2変換方法
今日
本田技研工業株式会社
モータ制御装置
2日前
本田技研工業株式会社
水電解スタック
今日
本田技研工業株式会社
CO2電解装置
今日
本田技研工業株式会社
燃料電池システム
1日前
本田技研工業株式会社
鞍乗り型電動車両
4日前
本田技研工業株式会社
バッテリシステム
1日前
本田技研工業株式会社
車室環境制御装置
今日
本田技研工業株式会社
車室環境制御装置
今日
本田技研工業株式会社
コンテンツ再生装置
1日前
本田技研工業株式会社
二酸化炭素回収装置
2日前
本田技研工業株式会社
二酸化炭素回収装置
2日前
続きを見る
他の特許を見る