TOP
|
特許
|
意匠
|
商標
特許ウォッチ
Twitter
他の特許を見る
公開番号
2025149382
公報種別
公開特許公報(A)
公開日
2025-10-08
出願番号
2024049993
出願日
2024-03-26
発明の名称
デジタル入力モジュール
出願人
三菱重工業株式会社
代理人
SSIP弁理士法人
主分類
G01R
31/00 20060101AFI20251001BHJP(測定;試験)
要約
【課題】簡易な構成で、接点検知用電圧を切替可能なデジタル入力モジュールを提供する。
【解決手段】デジタル入力モジュールは、外部機器と並列に外部抵抗が接続される外部入力端子に対して、接点検知用電圧が印加された際に、外部配線に流れる暗電流に基づいて、接点検知が行われる。接点検知用電圧を印加するための第1電源部は、設定信号に基づいて接点検知用電圧が切り替えられるように構成される。
【選択図】図1
特許請求の範囲
【請求項1】
外部機器が接続される外部入力端子と、
前記外部入力端子に対して、前記外部機器と並列に接続される外部抵抗と、
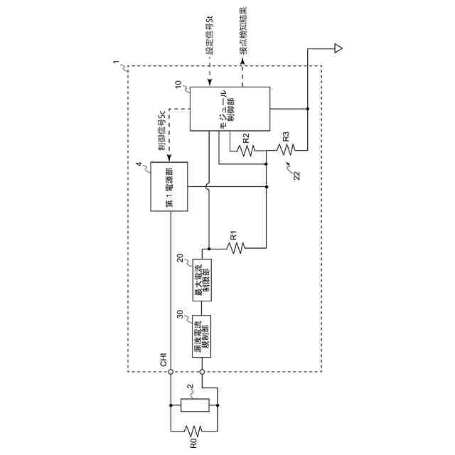
前記外部入力端子に、接点検知用電圧を印加するための第1電源部と、
前記外部入力端子に前記接点検知用電圧が印加された際に、前記接点検知用電圧が印加される外部配線に流れる暗電流に基づいて、前記外部機器の接点を検知するための接点検知部と、
前記接点検知用電圧を設定するための設定信号を取得するための設定信号取得部と、
を備え、
前記第1電源部は、前記設定信号に基づいて前記接点検知用電圧が切り替えられるように構成される、デジタル入力モジュール。
続きを表示(約 880 文字)
【請求項2】
前記第1電源部は、変圧比、又は、極性の少なくとも一方を切り替えることにより、前記接点検知用電圧を切替可能なトランス電源である、請求項1に記載のデジタル入力モジュール。
【請求項3】
前記外部配線を流れる前記暗電流の最大値を制限するための最大電流制限部を備える、請求項1又は2に記載のデジタル入力モジュール。
【請求項4】
前記暗電流が流れるシャント抵抗と、
前記シャント抵抗に流れる前記暗電流を計測するための単電圧を印加するための第2電源部と、
を備え、
前記接点検知部は、前記シャント抵抗によって前記暗電流が電圧変換された判定用電圧を、予め設定された基準値と比較することにより、前記接点を検知する、請求項1又は2に記載のデジタル入力モジュール。
【請求項5】
前記判定用電圧にバイアス電圧を印加するためのバイアス電圧印加部を備え、
前記バイアス電圧は、前記接点検知用電圧に関わらず、前記判定用電圧が正電圧になるように設定される、請求項4に記載のデジタル入力モジュール。
【請求項6】
前記バイアス電圧は、前記判定用電圧の最大値の1/2である、請求項5に記載のデジタル入力モジュール。
【請求項7】
前記外部機器に対して多重化されて接続された際に、他のデジタル入力モジュールとの間で前記外部入力端子に流入出する漏洩電流を規制するための漏洩電流規制部を備える、請求項1又は2に記載のデジタル入力モジュール。
【請求項8】
前記漏洩電流規制部は、
第1方向に流れる前記漏洩電流を規制するための第1整流回路と、
前記第1方向とは逆の第2方向に流れる前記漏洩電流を規制するための第2整流回路と、
前記接点検知用電圧に応じて、前記第1整流回路及び前記第2整流回路のうち一方を有効にするとともに他方を遮断するように構成されたスイッチング回路と、
を含む、請求項7に記載のデジタル入力モジュール。
発明の詳細な説明
【技術分野】
【0001】
本開示は、デジタル入力モジュールに関する。
続きを表示(約 1,500 文字)
【背景技術】
【0002】
例えば発電プラントのようなプラント設備では、様々な機器や計器等の構成要素が、制御装置による制御管理のもとに運用されている。このようなプラント設備を制御するための制御装置は、制御対象である各構成要素からのデジタル入力データを取り込むためデジタル入力(DI:Digital Input)モジュールを備える。
【0003】
この種のデジタル入力モジュールは、外部機器が接続可能な外部入力端子の接点を検知するための機能を備えるものがある。接点検知は、電源からの給電によって接点検知用電圧を外部入力端子に印加した際の暗電流を計測することにより行われる。このような接点検知用電圧は、デジタル入力モジュールに内蔵された電源によって印加可能であるが、従来、接点検知用電圧の電圧値や極性は一定に固定されていた。
【0004】
その一方で、プラント設備の仕様によっては、異なる電圧値や極性を有する接点検知用電圧が求められることがある。このような要望に応えるために、例えば特許文献1では、異なる接点検知用電圧を印加可能な複数の電源回路を用意し、必要に応じていずれかの電源回路を選択することにより、接点検知用電圧を切替可能なデジタル入力モジュールが開示されている。
【先行技術文献】
【特許文献】
【0005】
実開昭55-103734号公報
【発明の概要】
【発明が解決しようとする課題】
【0006】
上記特許文献1では、接点検知用電圧を切り替えるために、モジュール内に複数の電源回路を用意しておく必要がある。そのため、回路構成が複雑になりやすく、デジタル入力モジュール内の回路規模が大きくなり、コストがかかってしまう。
【0007】
本開示の少なくとも一実施形態は上述の事情に鑑みなされたものであり、簡易な構成で、接点検知用電圧を切替可能なデジタル入力モジュールを提供することを目的とする。
【課題を解決するための手段】
【0008】
本開示の少なくとも一実施形態に係るデジタル入力モジュールは、上記課題を解決するために、
外部機器が接続される外部入力端子と、
前記外部入力端子に対して、前記外部機器と並列に接続される外部抵抗と、
前記外部入力端子に、接点検知用電圧を印加するための第1電源部と、
前記外部入力端子に前記接点検知用電圧が印加された際に、前記接点検知用電圧が印加される外部配線に流れる暗電流に基づいて、前記外部機器の接点を検知するための接点検知部と、
前記接点検知用電圧を設定するための設定信号を取得するための設定信号取得部と、
を備え、
前記第1電源部は、前記設定信号に基づいて前記接点検知用電圧が切り替えられるように構成される。
【発明の効果】
【0009】
本開示の少なくとも一実施形態によれば、簡易な構成で、接点検知用電圧を切替可能なデジタル入力モジュールを提供できる。
【図面の簡単な説明】
【0010】
一実施形態に係るデジタル入力モジュールの構成図である。
図1のモジュール制御部の内部構成を示すブロック構成図である。
図1の最大電流制限部の構成例を示す回路図である。
図1の接点検知部において判定用電圧と比較される基準値の一例を示す図である。
外部機器に対して多重化されて接続された図1のデジタル入力モジュールの内部回路を示す概略図である。
【発明を実施するための形態】
(【0011】以降は省略されています)
この特許をJ-PlatPat(特許庁公式サイト)で参照する
関連特許
三菱重工業株式会社
清掃装置
7日前
三菱重工業株式会社
風力発電装置
6日前
三菱重工業株式会社
フィルタ装置
6日前
三菱重工業株式会社
洗浄水噴射ノズル
1日前
三菱重工業株式会社
主蒸気管洗浄方法
6日前
三菱重工業株式会社
バッテリ交換装置
今日
三菱重工業株式会社
軌道系交通システム
6日前
三菱重工業株式会社
炉内構造物の解体方法
10日前
三菱重工業株式会社
デジタル入力モジュール
1日前
三菱重工業株式会社
電解セル、及び電解装置
今日
三菱重工業株式会社
シール装置および回転機械
1日前
三菱重工業株式会社
内燃機関の制御装置および方法
6日前
三菱重工業株式会社
蒸気タービン翼及び蒸気タービン
6日前
三菱重工業株式会社
蒸気生成システム及び蒸気生成方法
7日前
三菱重工業株式会社
シール構造の製造方法およびシール構造
1日前
三菱重工業株式会社
排気設備、及びこれを備えるガスタービン
8日前
三菱重工業株式会社
蓄圧システム及び蓄圧システムの運転方法
今日
三菱重工業株式会社
移動体、自己位置推定方法及びプログラム
1日前
三菱重工業株式会社
電力変換器、および電力変換器の製造方法
6日前
三菱重工業株式会社
情報処理装置、情報処理方法及びプログラム
1日前
三菱重工業株式会社
シール構造、建屋及びシール構造の製造方法
今日
三菱重工業株式会社
制御装置、ガスタービン、制御方法及びプログラム
2日前
三菱重工業株式会社
電力変換システム、および電力変換システムの制御方法
今日
三菱重工業株式会社
フォークリフトの制御装置および方法並びにフォークリフト
6日前
三菱重工業株式会社
機器配置設計装置、機器配置設計方法及び機器配置設計プログラム
今日
三菱重工業株式会社
水電解システム、水電解システムにおける水電解セルの差圧調整方法
10日前
三菱重工業株式会社
固体燃料粉砕装置及びボイラ設備並びに固体燃料粉砕装置の運転方法
今日
三菱重工業株式会社
濃度算出装置、燃焼制御装置、濃度算出方法及び濃度算出プログラム
今日
三菱重工業株式会社
固体燃料粉砕装置の運転方法並びに固体燃料粉砕装置及びボイラ設備
2日前
個人
メジャー文具
2日前
個人
計量スプーン
1か月前
日本精機株式会社
位置検出装置
8日前
日本精機株式会社
位置検出装置
8日前
日本精機株式会社
位置検出装置
8日前
ユニパルス株式会社
ロードセル
1日前
大和製衡株式会社
組合せ秤
13日前
続きを見る
他の特許を見る