TOP
|
特許
|
意匠
|
商標
特許ウォッチ
Twitter
他の特許を見る
10個以上の画像は省略されています。
公開番号
2025141656
公報種別
公開特許公報(A)
公開日
2025-09-29
出願番号
2024041683
出願日
2024-03-15
発明の名称
情報処理装置、方法およびプログラム
出願人
富士フイルム株式会社
代理人
弁理士法人太陽国際特許事務所
主分類
A61B
6/00 20240101AFI20250919BHJP(医学または獣医学;衛生学)
要約
【課題】透視撮影装置の情報処理装置、方法およびプログラムにおいて、透視画像に不要な被写体の領域が含まれる場合にも、高画質の関心領域を含む透視画像を取得できるようにする。
【解決手段】被写体の透視撮影を行うことにより透視画像を取得し、被写体の光学画像を取得する光学カメラを備えた透視撮影装置における情報処理装置であって、プロセッサが、光学画像に含まれる関心領域を特定し、透視画像における関心領域に対応する領域の画質を向上させる画像処理条件を設定し、画像処理条件に基づいて透視画像に対して画像処理を行う。
【選択図】図3
特許請求の範囲
【請求項1】
被写体の透視撮影を行うことにより透視画像を取得し、前記被写体の光学画像を取得する光学カメラを備えた透視撮影装置における情報処理装置であって、
少なくとも1つのプロセッサを備え、
前記プロセッサは、前記光学画像に含まれる関心領域を特定し、
前記透視画像における前記関心領域に対応する領域の画質を向上させる画像処理条件を設定し、
前記画像処理条件に基づいて前記透視画像に対して画像処理を行う情報処理装置。
続きを表示(約 1,000 文字)
【請求項2】
前記プロセッサは、前記光学画像に前記関心領域以外の他の被写体領域が含まれるか否かを判定し、
前記光学画像に前記他の被写体領域が含まれると判定された場合に、前記光学画像に含まれる前記関心領域の特定、前記画像処理条件の設定および前記画像処理を行う請求項1に記載の情報処理装置。
【請求項3】
前記プロセッサは、前記光学画像をセグメンテーションするように学習がなされた学習済みモデルを用いて前記光学画像をセグメンテーションし、
前記セグメンテーションの結果を用いて、前記他の被写体領域が含まれるか否かの判定、および前記関心領域の特定を行う請求項2に記載の情報処理装置。
【請求項4】
前記他の被写体領域は、前記被写体の処置を行う術者の身体の一部の領域を含む請求項2または3に記載の情報処理装置。
【請求項5】
前記プロセッサは、前記光学画像に1つの被写体領域のみが含まれると判定された場合、前記1つの被写体領域を前記関心領域に特定し、前記画像処理条件の設定および前記画像処理を行う請求項1に記載の情報処理装置。
【請求項6】
前記画像処理条件は、前記透視画像に含まれる前記関心領域のコントラストを向上させる画像処理条件である請求項1に記載の情報処理装置。
【請求項7】
前記プロセッサは、前記透視撮影を行う際の、前記透視画像における前記関心領域に対応する領域の画質を向上させるための撮影条件を設定し、
前記撮影条件に基づいて前記透視撮影を行う請求項1に記載の情報処理装置。
【請求項8】
前記撮影条件は、前記透視画像に含まれる前記関心領域のコントラストを向上させる撮影条件である請求項7に記載の情報処理装置。
【請求項9】
前記プロセッサは、前記画像処理が行われた処理済み透視画像をディスプレイに表示する請求項1に記載の情報処理装置。
【請求項10】
被写体の透視撮影を行うことにより透視画像を取得し、前記被写体の光学画像を取得する光学カメラを備えた透視撮影装置における情報処理方法であって、
コンピュータが、前記光学画像に含まれる関心領域を特定し、
前記透視画像における前記関心領域に対応する領域の画質を向上させる画像処理条件を設定し、
前記画像処理条件に基づいて前記透視画像に対して画像処理を行う情報処理方法。
(【請求項11】以降は省略されています)
発明の詳細な説明
【技術分野】
【0001】
本開示は、情報処理装置、方法およびプログラムに関する。
続きを表示(約 1,400 文字)
【背景技術】
【0002】
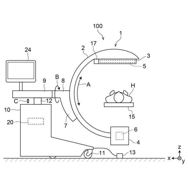
外科手術およびカテーテル治療では、手術器具と骨および血管等の人体構造との位置関係を把握することが必要である。このため、手術中に透視撮影装置により被写体を撮影し、撮影によりディスプレイに表示された放射線の透視画像を用いて、手術器具と人体構造との位置関係を把握することが行われている。
【0003】
一方、被写体の放射線画像を取得する際に、放射線撮影とともに光学カメラを用いて被写体の光学画像を取得し、光学画像に含まれる被写体の部位を認識し、認識した部位に応じた放射線撮影の際の撮影条件、あるいは取得された放射線画像に対する画像処理条件を設定する手法が提案されている(例えば特許文献1,2参照)。
【先行技術文献】
【特許文献】
【0004】
特開2023-090285号公報
特開2021-191402号公報
【発明の概要】
【発明が解決しようとする課題】
【0005】
ところで、上述した透視撮影装置を用いた術中において、透視画像に術者の腕あるいは手が映り込んでしまう場合がある。このような場合、透視画像には、手術の対象となる部位の領域である関心領域と、術者の腕等の不要な領域とが含まれる。特許文献1,2に記載された手法では、光学画像に含まれる被写体を特定しているものの、術者の腕のような不要な被写体が透視画像に含まれる場合、関心領域が適切な画質となるような画像処理条件または撮影条件を設定することは困難である。
【0006】
本開示は上記事情に鑑みなされたものであり、透視画像に不要な被写体の領域が含まれる場合にも、高画質の関心領域を含む透視画像を取得できるようにすることを目的とする。
【課題を解決するための手段】
【0007】
本開示による情報処理装置は、被写体の透視撮影を行うことにより透視画像を取得し、前記被写体の光学画像を取得する光学カメラを備えた透視撮影装置における情報処理装置であって、
少なくとも1つのプロセッサを備え、
前記プロセッサは、前記光学画像に含まれる関心領域を特定し、
前記透視画像における前記関心領域に対応する領域の画質を向上させる画像処理条件を設定し、
前記画像処理条件に基づいて前記透視画像に対して画像処理を行う。
【0008】
本開示による情報処理装置においては、プロセッサは、前記光学画像に前記関心領域以外の他の被写体領域が含まれるか否かを判定し、
前記光学画像に前記他の被写体領域が含まれると判定された場合に、前記光学画像に含まれる前記関心領域の特定、前記画像処理条件の設定および前記画像処理を行うものであってもよい。
【0009】
本開示による情報処理装置においては、プロセッサは、前記光学画像をセグメンテーションするように学習がなされた学習済みモデルを用いて前記光学画像をセグメンテーションし、
前記セグメンテーションの結果を用いて、前記他の被写体領域が含まれるか否かの判定、および前記関心領域の特定を行うものであってもよい。
【0010】
本開示による情報処理装置においては、他の被写体領域は、前記被写体の処置を行う術者の身体の一部の領域を含むものであってもよい。
(【0011】以降は省略されています)
この特許をJ-PlatPat(特許庁公式サイト)で参照する
関連特許
個人
健康器具
7か月前
個人
短下肢装具
2か月前
個人
鼾防止用具
7か月前
個人
洗井間専家。
6か月前
個人
白内障治療法
6か月前
個人
脈波測定方法
7か月前
個人
前腕誘導装置
2か月前
個人
嚥下鍛錬装置
2か月前
個人
汚れ防止シート
3日前
個人
歯の修復用材料
3か月前
個人
バッグ式オムツ
3か月前
個人
胸骨圧迫補助具
27日前
個人
ホバーアイロン
5か月前
個人
矯正椅子
4か月前
個人
アイマスク装置
1か月前
個人
歯の保護用シール
4か月前
三生医薬株式会社
錠剤
6か月前
個人
哺乳瓶冷まし容器
2か月前
個人
車椅子持ち上げ器
6か月前
個人
陣痛緩和具
2か月前
個人
シャンプー
5か月前
個人
湿布連続貼り機。
1か月前
個人
エア誘導コルセット
1か月前
株式会社結心
手袋
6か月前
株式会社大野
骨壷
3か月前
株式会社八光
剥離吸引管
4か月前
個人
治療用酸化防御装置
21日前
個人
服薬支援装置
6か月前
個人
性行為補助具
2か月前
個人
精力増強キット
7日前
株式会社ニデック
検眼装置
2か月前
個人
歯列矯正用器具
7か月前
株式会社ファンケル
化粧料
7か月前
株式会社ニデック
眼科装置
3か月前
株式会社ニデック
眼科装置
15日前
株式会社松風
口腔用組成物
2か月前
続きを見る
他の特許を見る