TOP
|
特許
|
意匠
|
商標
特許ウォッチ
Twitter
他の特許を見る
10個以上の画像は省略されています。
公開番号
2025141707
公報種別
公開特許公報(A)
公開日
2025-09-29
出願番号
2024041765
出願日
2024-03-15
発明の名称
綴じ具、及びファイル
出願人
株式会社キングジム
代理人
個人
主分類
B42F
13/16 20060101AFI20250919BHJP(製本;アルバム;ファイル;特殊印刷物)
要約
【課題】紙や表紙を差し替えできる綴じ具又はファイルであって、手を圧迫しにくく、筆記がしやすい綴じ具又はファイルを提供する。
【解決手段】紙と表紙とのうち少なくとも何れか一方を含む被綴じ体を綴じる綴じ具であって、変形自在な材料で構成され、被綴じ体を綴じた綴じ状態において、被綴じ体の綴じ孔と接して被綴じ体を支持する支持部と、被綴じ体を差し替える差替え状態において、綴じ具が変形すると出現する、綴じ孔に出し入れ自在な出入部と、を備える。
【選択図】図1
特許請求の範囲
【請求項1】
紙と表紙とのうち少なくとも何れか一方を含む被綴じ体を綴じる綴じ具であって、
変形自在な材料で構成され、被綴じ体を綴じた綴じ状態において、被綴じ体の綴じ孔に挿入されて被綴じ体を支持する支持部と、
被綴じ体を差し替える差替え状態において、綴じ具が変形すると出現し、綴じ孔に出し入れ自在である出入部と、を備える綴じ具。
続きを表示(約 560 文字)
【請求項2】
支持部は、綴じ状態において、筒状であり、差し替え状態で非連続の領域となる非連続部を有し、差し替え状態において、綴じ具が変形すると、非連続部に、綴じ孔に出し入れ自在な隙間としての出入部が出現する、請求項1に記載の綴じ具。
【請求項3】
非連続部は、螺旋状に形成されている、請求項2に記載の綴じ具。
【請求項4】
綴じ状態において、綴じ孔に対する綴じ具の移動を規制する移動規制部を更に備える、請求項1に記載の綴じ具。
【請求項5】
紙と表紙とのうち少なくとも何れか一方を含む被綴じ体と、
被綴じ体を綴じる綴じ具を備え、
綴じ具は、
変形自在な材料で構成され、被綴じ体を綴じた綴じ状態において、被綴じ体の綴じ孔に挿入されて被綴じ体を支持する支持部と、
被綴じ体を差し替える差替え状態において、綴じ具が変形すると出現し、綴じ孔に出し入れ自在である出入部と、を含むファイル。
【請求項6】
被綴じ体は、綴じ孔を有し、
綴じ孔は、綴じ具の一端から他端までの長さを有する長孔を含む請求項5に記載のファイル。
【請求項7】
長孔は、被綴じ体の一端近傍と他端近傍に設けられている請求項6に記載のファイル。
発明の詳細な説明
【技術分野】
【0001】
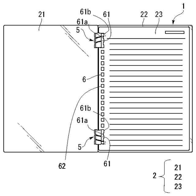
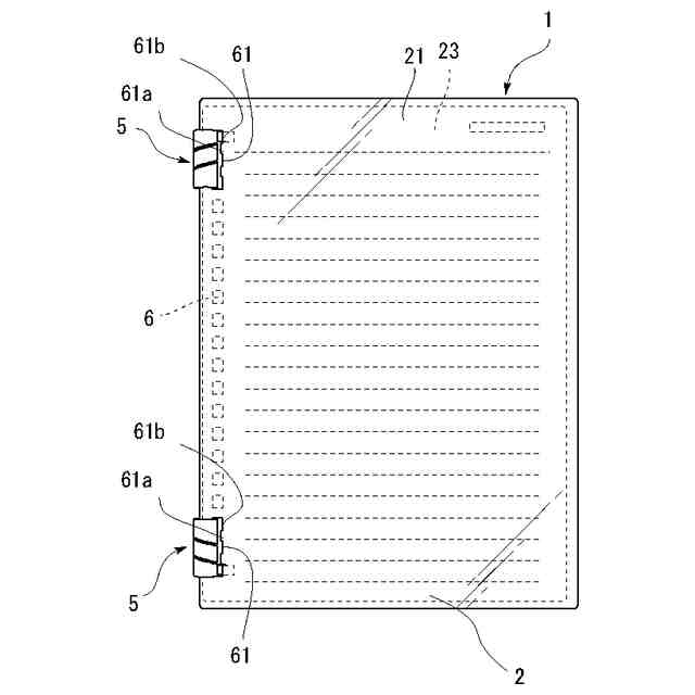
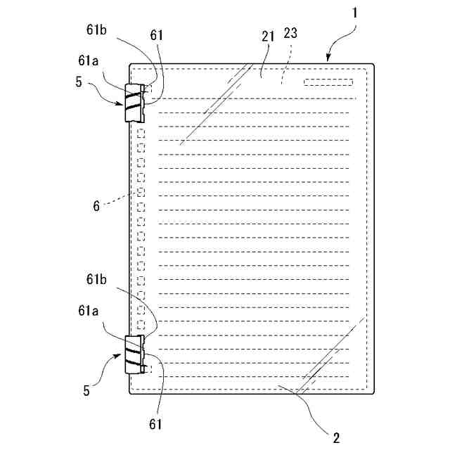
本発明は、綴じ具、及びファイルに関する。
続きを表示(約 1,700 文字)
【背景技術】
【0002】
紙葉類(例えば、筆記用紙)を綴じるリングを備えるファイルがある。例えば、スパイラル状に延びる一本の線材からなる綴じリングを用い、これを表紙と筆記用紙とに形成された多数の綴じ孔に挿通することによって構成されたリングノートがある。綴じリングが金属や硬質樹脂材料で形成されていると、筆記作業の妨げになっていた。また、筆記を行う際に、綴じリングが手を圧迫することが懸念されていた。このような課題を解決するため、例えば、特許文献1には、所定の押圧力で変形自在な柔軟性を備えた軟質材料により形成された綴じリングを備えるリングノートが開示されている。
【先行技術文献】
【特許文献】
【0003】
特開2000-141973号公報
【発明の概要】
【発明が解決しようとする課題】
【0004】
例えば、特許文献1に記載のリングノートは、綴じリングが軟質材料で形成されていることから、綴じリングが金属や硬質樹脂材料で形成されている場合と比較すると、綴じリングが手を圧迫しにくく、筆記がしやすくなる。しかしながら、例えば、特許文献1に記載のリングノートでは、綴じリングで綴じられている表紙や筆記用紙を差し替えることはできない。
【0005】
本発明は、前記の問題に鑑み、紙や表紙を差し替えできる綴じ具又はファイルであって、手を圧迫しにくく、筆記がしやすい綴じ具又はファイルを提供することを課題とする。
【課題を解決するための手段】
【0006】
前記課題を解決するため、紙などを綴じる綴じ具を変形自在な材料で構成し、変形させることで紙などの綴じ孔から出し入れできるようにした。詳細には、本発明に係る綴じ具は、紙と表紙とのうち少なくとも何れか一方を含む被綴じ体を綴じる綴じ具であって、変形自在な材料で構成され、被綴じ体を綴じた綴じ状態において、被綴じ体の綴じ孔に挿入されて被綴じ体を支持する支持部と、被綴じ体を差し替える差替え状態において、綴じ具が変形すると出現し、綴じ孔に出し入れ自在である出入部と、を備える。
【0007】
本発明に係る綴じ具は、綴じ具が変形して出現する出入部を備えることで、紙や表紙の被綴じ体を差し替えることができる。また、本発明に係る綴じ具は、被綴じ体を支持する支持部が、変形自在な材料で構成されていることから、手を圧迫しにくく、筆記がしやすい。
【0008】
被綴じ体は、紙と表紙とのうち少なくとも何れか一方を含む。紙は、例えば筆記用紙である。表紙は、表表紙、裏表紙とのうち少なくとも何れか一方を含む。綴じ具は、変形自在な材料、例えば、樹脂で構成することができる。綴じ具は、変形自在であり、被綴じ体を綴じた綴じ状態と、被綴じ体を差し替える差替え状態とを有する。綴じ具は、綴じ状態では、綴じ具を構成する領域が連続して環状になる。綴じ具は、差し替え状態では、綴じ具を構成する領域の一部に、隙間などの非連続の領域が形成される。支持部は、綴じ状態において、綴じ具を構成する領域が連続して環状になり、被綴じ体の綴じ孔に挿入されて被綴じ体を連続する領域で支持する。換言すると、支持部は、被綴じ体を面で支持する。綴じ孔は、1つでもよく、複数でもよい。出入部は、差替え状態において、綴じ具が変形すると出現する、隙間などの非連続の領域である。出入部は、差し替え状態で出現し、綴じ状態では出現しない。出入部は、差し替え状態で出現する隙間等の非連続な領域であり、綴じ孔に出し入れ自在である。
【0009】
ここで、支持部は、綴じ状態において、筒状であり、差し替え状態で非連続の領域となる非連続部を有し、差し替え状態において、綴じ具が変形すると、非連続部に、綴じ孔に出し入れ自在な隙間としての出入部が出現するものでもよい。
【0010】
非連続部に出現する隙間としての出入部を介して、綴じ孔に出し入れ自在となる。その結果、綴じ具は、被綴じ体を差し替え自在となる。非連続部は、差し替え状態で非連続となり、綴じ状態では連続している切込み等である。
(【0011】以降は省略されています)
この特許をJ-PlatPat(特許庁公式サイト)で参照する
関連特許
株式会社キングジム
綴じ具、及びファイル
14日前
個人
書籍
6か月前
個人
リフター
1か月前
個人
手帳
1か月前
個人
ノート
5か月前
個人
書類ホルダー
5か月前
個人
紙片収容保持具
8か月前
個人
ファイル
1か月前
個人
ページめくり穴
6日前
個人
ブランドハガキ
3か月前
個人
ダブルクリップ
7か月前
個人
折り曲げ式しおり
1か月前
個人
カレンダー
13日前
個人
メッセージカード
7か月前
FRC株式会社
学習ノート
5か月前
個人
吊下式カレンダー
7か月前
東洋紡株式会社
地図フィルム
10か月前
個人
脱着リーフ綴込み補助具
7か月前
個人
脱着リングノートシステム
8か月前
ネオライト工業株式会社
しおり
1か月前
株式会社リコー
綴じ装置
1か月前
ダイニック株式会社
ブッククロス
8か月前
有限会社ライト工房
起立する台紙
4か月前
個人
シート状印刷物セット
1か月前
独立行政法人 国立印刷局
潜像物
8か月前
個人
タロットカード解説書
6か月前
独立行政法人 国立印刷局
積層体
3か月前
独立行政法人 国立印刷局
積層体
3か月前
個人
冊子収容ケース
1か月前
個人
見開きアルバム立て掛け飾り具
4か月前
独立行政法人 国立印刷局
画像形成体
24日前
個人
環状具
9か月前
独立行政法人 国立印刷局
潜像画像形成体
3か月前
株式会社デュプロ
冊子作成システム
10か月前
個人
シートセット及びワークセット
2か月前
株式会社Luciaube
クリアファイル
8か月前
続きを見る
他の特許を見る