TOP
|
特許
|
意匠
|
商標
特許ウォッチ
Twitter
他の特許を見る
10個以上の画像は省略されています。
公開番号
2025141952
公報種別
公開特許公報(A)
公開日
2025-09-29
出願番号
2025041500
出願日
2025-03-14
発明の名称
高さ調節可能なプレスクレーパブレードを有する道路舗装機
出願人
ヨゼフ フェゲーレ アーゲー
代理人
個人
,
個人
,
個人
,
個人
主分類
E01C
19/48 20060101AFI20250919BHJP(道路,鉄道または橋りょうの建設)
要約
【課題】スクリードの有効幅が変更された場合に舗装層の舗装品質を一体に保つ。
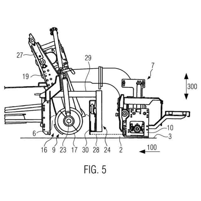
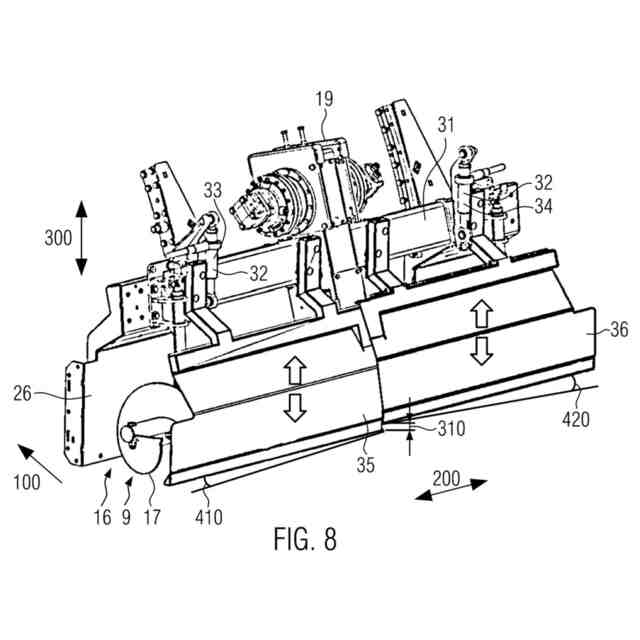
【解決手段】本発明は、舗装材料(6)から舗装層(2)を製造する道路舗装機に関する。道路舗装機は、スクリード(7)と、横方向分配装置(9)と、プレスクレーパ装置(24)とを含む。スクリード(7)は、少なくとも1つのベーススクリード(10)を含む。横方向分配装置(9)は、スクリード(7)の前方で、舗装材料(6)を道路舗装機の進行方向(100)を横切る方向に分配するように適合されている。プレスクレーパ装置(24)は、進行方向(100)における横方向分配装置(9)の後方に配置されている。プレスクレーパ装置(24)は、ベーススクリード(10)の領域に配置された高さ調節可能なプレスクレーパブレード(30)を有する。本発明は、道路舗装機を動作させる方法にも関する。
【選択図】図5
特許請求の範囲
【請求項1】
舗装材料(6)から舗装層(2)を製造する道路舗装機(1)であって
少なくとも1つのベーススクリード(10)を含むスクリード(7)と、
前記スクリード(7)の前方で、舗装材料(6)を前記道路舗装機(1)の進行方向(100)を横切る方向に分配するように適合された横方向分配装置(9)と、
前記進行方向(100)における前記横方向分配装置(9)の後方に配置されたプレスクレーパ装置(24)と、
を含み、
前記プレスクレーパ装置(24)は、前記ベーススクリード(10)の領域に配置された高さ調節可能なプレスクレーパブレード(30)を有することを特徴とする、道路舗装機(1)。
続きを表示(約 1,100 文字)
【請求項2】
前記高さ調節可能なプレスクレーパブレード(30)は、前記道路舗装機(1)の動作中に、特に前記道路舗装機(1)の舗装走行中に、高さ方向に移動可能であることを特徴とする、請求項1に記載の道路舗装機。
【請求項3】
前記高さ調節可能なプレスクレーパブレード(30)は、前記横方向分配装置(9)の支持体(19)に少なくとも間接的に取り付けられていることを特徴とする、請求項1又は2に記載の道路舗装機。
【請求項4】
前記高さ調節可能なプレスクレーパブレード(30)は、前記スクリード(7)に、特に前記ベーススクリード(10)に、少なくとも間接的に取り付けられていることを特徴とする、請求項1又は2に記載の道路舗装機。
【請求項5】
前記高さ調節可能なプレスクレーパブレード(30)は、前記横方向分配装置(9)に対して高さ方向に移動可能であることを特徴とする、請求項1から4のいずれか1項に記載の道路舗装機。
【請求項6】
前記高さ調節可能なプレスクレーパブレード(30)は、前記スクリード(7)に対して、特に前記ベーススクリード(10)に対して高さ方向に移動可能であることを特徴とする、請求項1から5のいずれか1項に記載の道路舗装機。
【請求項7】
前記プレスクレーパ装置(24)は、実質的に前記横方向分配装置(9)と前記スクリード(7)との間に配置されていることを特徴とする、請求項1から6のいずれか1項に記載の道路舗装機。
【請求項8】
前記スクリード(7)は、拡張スクリード部品(11)を有し、前記拡張スクリード部品(11)は、前記ベーススクリード(10)の側方に隣接して配置されており、前記拡張スクリード部品(11)の前端部(25)は、前記進行方向(100)における前記ベーススクリード(10)の前端部(14)の前方に配置されていることを特徴とする、請求項1から7のいずれか1項に記載の道路舗装機。
【請求項9】
前記道路舗装機(1)は、測定システムを有し、前記測定システムは、前記横方向分配装置(9)と前記スクリード(7)との間の舗装材料(6)の高さを測定するように適合されていることを特徴とする、請求項1から8のいずれか1項に記載の道路舗装機。
【請求項10】
前記道路舗装機(1)は、制御ユニット(37)を有し、前記制御ユニット(37)は、前記高さ調節可能なプレスクレーパブレード(30)の高さを調節するように構成されていることを特徴とする、請求項1から9のいずれか1項に記載の道路舗装機。
(【請求項11】以降は省略されています)
発明の詳細な説明
【技術分野】
【0001】
本発明は、道路舗装機及び道路舗装機を動作させる方法に関する。
続きを表示(約 1,900 文字)
【背景技術】
【0002】
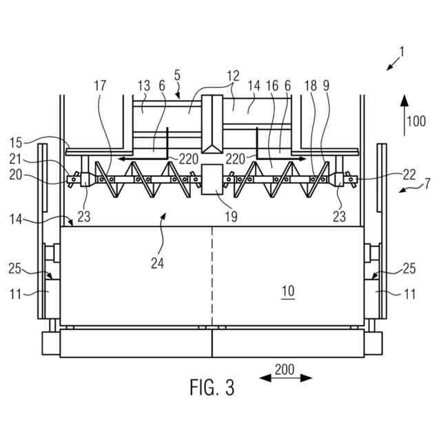
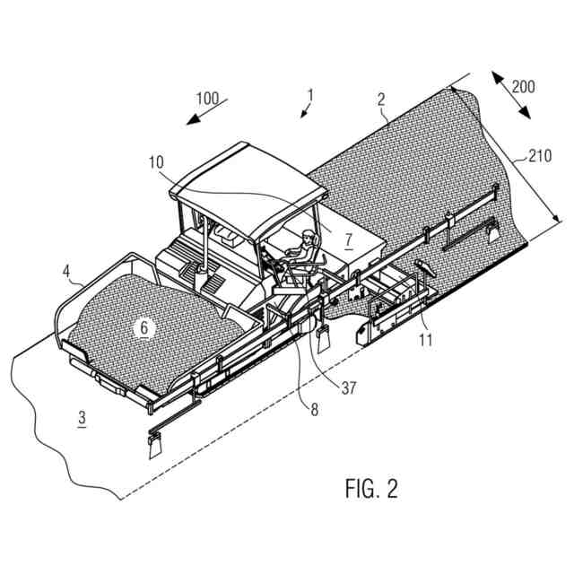
道路舗装機は、アスファルトなどの舗装材料から舗装層を製造するために提供され、一般に、シャーシと、シャーシ上に配置された作業部集合体とを含み、作業部集合体は、材料ホッパー、スクリード、縦方向(長手方向)搬送装置、横方向分配装置などである。
【0003】
スクリードは、通常、ベーススクリードと、側方に隣接する拡張スクリード部品とを有する。スクリードの幅、ひいては有効幅としても知られている舗装層の幅は、拡張スクリード部品を用いて変更及び調節することができる。拡張スクリード部品の前方の舗装材料の量を調整するために、高さ調節可能なプレスクレーパブレードを拡張スクリード部品の前方に配置することができる。これにより、舗装材料の押しのけ抵抗によって拡張スクリード部品にかかる力を軽減することが可能になる。このようなプレスクレーパブレードの配置は、EP2169117B1によって知られている。ベーススクリードの前方の高さ調節可能なプレスクレーパブレードは、先行技術から知られていない。スクリードの有効幅が急に変更されると、スクリューチャネルへの供給が過剰になって、舗装材料がスクリードの前壁を越えてあふれ出る可能性があり、舗装層の舗装品質に悪影響を及ぼすおそれがある。
【発明の概要】
【発明が解決しようとする課題】
【0004】
本発明の目的は、特にスクリードの有効幅が変更された場合に舗装層の舗装品質を一体に保つことである。
【課題を解決するための手段】
【0005】
この目的は、請求項1に記載の道路舗装機又は請求項13に記載の道路舗装機の動作方法によって達成される。
【0006】
本発明の第1の態様によると、舗装材料から舗装層を製造する道路舗装機は、スクリードと、横方向分配装置と、プレスクレーパ装置と、を含む。スクリードは、少なくとも1つのベーススクリードを有する。横方向分配装置は、スクリードの前方で、道路舗装機の進行方向を横切る方向に舗装材料を分配するように適合されている。プレスクレーパ装置は、進行方向における横方向分配装置の後方に配置されている。プレスクレーパ装置は、高さ調節可能なプレスクレーパブレードを有することができる。高さ調節可能なプレスクレーパブレードは、ベーススクリードの領域に配置され得る。
【0007】
進行方向は、舗装材料の舗装中の道路舗装機の進行方向に相当してよく、舗装方向とも称される。進行方向という用語と舗装方向という用語は、本出願では特に同義語として用いられている。
【0008】
高さ調節可能なプレスクレーパブレードは、スクリード、特にベーススクリードの前方の舗装材料の量を制御又は制限するために使用され得る。これにより、特に舗装材料の押しのけ抵抗によってスクリードに作用する力を制御又は制限することができる。これは、スクリードの剛性を低くする必要があり得ることを意味する。さらに、舗装材料のより均一な敷設が保証され得る。別の利点は、特に拡張スクリード部品を側方に広げることによって舗装幅が拡大されたときに、舗装材料をスクリードの側端部領域により迅速に搬送できることである。高さ調節可能なプレスクレーパブレードにより、舗装材料の偏在も低減され得る。
【0009】
高さ調節可能なプレスクレーパブレードは、道路舗装機の中央領域に配置され得る。道路舗装機の中央領域は、縦方向(長手方向)軸、特に道路舗装機の中央縦方向軸を含むことができる。高さ調節可能なプレスクレーパブレードは、道路舗装機の中央縦方向軸の領域に配置され得る。高さ調節可能なプレスクレーパブレードは、道路舗装機の横方向における中央領域に配置され得る。道路舗装機の横方向は、道路舗装機の進行方向に直交するように延びてもよい。道路舗装機の縦方向軸は、進行方向に平行に延びてもよい。道路舗装機の縦方向軸は、道路舗装機の重心を通って延びてもよい。
【0010】
高さ調節可能なプレスクレーパブレードは、道路舗装機の進行方向又は縦方向軸に実質的に直交して延びることができる。高さ調節可能なプレスクレーパブレードは、進行方向を実質的に横切る方向に、及び垂直方向(鉛直方向)に延びることができる。高さ調節可能なプレスクレーパブレードの前面は、進行方向に実質的に直交することができる。
(【0011】以降は省略されています)
この特許をJ-PlatPat(特許庁公式サイト)で参照する
関連特許
個人
折り畳み式標識具
3日前
GX株式会社
仮設防護体
25日前
日本精機株式会社
路面投影装置
1か月前
北越消雪機械工業株式会社
消雪装置
3日前
株式会社熊谷組
床版接合構造
6日前
範多機械株式会社
路面切削機
1か月前
GX株式会社
昇降式仮設防護体
16日前
前田工繊株式会社
防護柵
18日前
株式会社熊谷組
床版継手装置、及び、床版
6日前
中井商工株式会社
橋梁の桁端止水工法
6日前
浅香工業株式会社
レーキ
13日前
株式会社幸和道路
自走式道路路面標示文字描画車両
24日前
株式会社三共
足場用移動屋根装置及び橋梁用足場
26日前
株式会社NIPPO
コンクリートスタッカ
2日前
十武建設株式会社
舗装材吹付け装置、および吹付け施工方法
24日前
株式会社NIPPO
法面機械
16日前
共和ゴム株式会社
床版敷設シール材
1か月前
株式会社栗本鐵工所
検査路及びステップ
1か月前
東日本旅客鉄道株式会社
横取り方法
2日前
株式会社NIPPO
法面作業装置
16日前
株式会社NIPPO
法面作業装置
16日前
株式会社NIPPO
路面切削装置及び路面切削方法
1か月前
株式会社NIPPO
コンクリート舗装の施工方法
6日前
五洋建設株式会社
床版部材設置装置及び床版部材の設置方法
24日前
大成建設株式会社
床版接合部の設計方法
6日前
株式会社NIPPO
半たわみ性舗装及びその施工方法
1か月前
株式会社NIPPO
再生アスファルト混合物の製造方法
24日前
オリエンタル白石株式会社
床版設置高さ調整機構及び床版取替工法
1か月前
株式会社NIPPO
再生アスファルト混合物の製造方法
1か月前
株式会社NIPPO
コンクリート舗装及びその施工方法
6日前
株式会社NIPPO
再生アスファルト混合物の製造方法
24日前
株式会社NIPPO
アスファルトフィニッシャ
27日前
住倉鋼材株式会社
新幹線路盤の突起用鉄筋ユニット並びにその製造方法及び装置
2日前
株式会社IHI
橋梁の管理方法および橋梁の管理装置
27日前
日鉄エンジニアリング株式会社
防草工法及び防草舗装構造
2日前
オリエンタル白石株式会社
床版切断装置の逸走防止構造及び床版撤去工法
1か月前
続きを見る
他の特許を見る