TOP
|
特許
|
意匠
|
商標
特許ウォッチ
Twitter
他の特許を見る
公開番号
2025142027
公報種別
公開特許公報(A)
公開日
2025-09-29
出願番号
2025118834,2024065626
出願日
2025-07-15,2017-10-13
発明の名称
サーバ装置及び情報処理方法並びにサーバプログラム
出願人
パイオニア株式会社
代理人
弁理士法人インテクト国際特許事務所
,
個人
主分類
G01C
21/26 20060101AFI20250919BHJP(測定;試験)
要約
【課題】端末装置とスマートフォンとが近接して存在し且つその端末装置にディスプレイが備えられていない場合でも、その端末装置を用いて的確に情報の提供を行うことが可能な案内制御装置を提供する。
【解決手段】案内画像を表示するスマートフォンSPと、移動案内用の音声を出力するスマートスピーカSKと、に、無線によりそれぞれ接続されるインターフェース1と、上記スマートフォンSP及び上記スマートスピーカSKが車両C内にある場合に、案内画像が表示されているか否かを判定する判定部2と、判定部による判定結果に応じて、移動案内用の音声の出力態様を異ならせる制御部3と、を備える。
【選択図】図3
特許請求の範囲
【請求項1】
画像を表示する表示装置と、音声を出力する出力装置と、に、通信によりそれぞれ接続可能な接続手段と、
前記表示装置及び前記出力装置が予め設定された範囲内にあるか否かを判定する判定手段と、
前記判定手段による判定結果に応じて、前記音声の出力態様を異ならせる制御手段と、
を備えることを特徴とする案内制御装置。
発明の詳細な説明
【技術分野】
【0001】
本願は、サーバ装置及び情報処理方法並びにサーバプログラムの技術分野に属する。より詳細には、例えば車両等の移動体の移動案内の方法等を制御するサーバ装置及び情報処理方法並びにサーバプログラムの技術分野に属する。
続きを表示(約 2,300 文字)
【背景技術】
【0002】
近年、インターネットに接続されたホームサーバを例えば一般住宅内に設置し、当該ホームサーバを介してインターネットから種々の情報を収集することが行われている。また、その住宅内にある照明のオン/オフやテレビのチャンネル切り換え等を、上記ホームサーバに接続された端末装置内に備えられたマイク及びスピーカを用いた音声の指令により行うことも検討されている。このような技術を開示した先行技術文献としては、例えば下記特許文献1が挙げられる。
【先行技術文献】
【特許文献】
【0003】
特開2016-114744号公報
【発明の概要】
【発明が解決しようとする課題】
【0004】
一方、このような端末装置は小型で可搬性があるため、それを車両内に置くことで、それを当該車両の移動を案内するナビゲーション装置や車両のエアコン等を制御するための装置として用いることができれば、便利である。
【0005】
しかしながら、上記特許文献1に記載されている端末装置には、従来のナビゲーション装置として用いられているディスプレイが備えられていない。このディスプレイは、例えば移動案内用の地図や経路を含む画像を表示するものであり、当該移動案内としては重要な部材である。他方、車両内に持ち込むことができ且つディスプレイを備える携帯可能な物としては、いわゆるスマートフォン等が挙げられるが、これらスマートフォン等と上記端末装置とを連携させて車両の移動案内を行うことは、従来検討されていなかった。
【0006】
そこで本願は、上記の問題点及び要請に鑑みて為されたもので、その課題の一例は、上記端末装置と上記スマートフォン等とが近接して存在し(より具体的には、例えば一の車両内に存在し)且つその端末装置にディスプレイが備えられていない場合でも、その端末装置を用いて的確に車両の移動案内等の情報の提供を行うことが可能なサーバ装置及び情報処理方法並びに当該サーバ装置用のサーバプログラムを提供することにある。
【課題を解決するための手段】
【0007】
上記の課題を解決するために、請求項1に記載の発明は、画像を表示する表示装置の現状を示す表示装置現状情報と、音声を出力する出力装置の現状を示す出力装置現状情報と、をそれぞれ取得する取得手段と、各前記取得された表示装置現状情報及び出力装置現状情報に基づいて、前記表示装置及び前記出力装置が予め設定された範囲内にあるか否かを判定する判定手段と、前記表示装置及び前記出力装置が前記範囲内にあると判定された場合、(i)案内のための前記画像である案内画像と、当該案内画像を表示させる指示と、を前記表示装置に対して送信し、(ii)前記案内画像を使用する案内のための案内音声である画像使用案内音声と、当該画像使用案内音声を出力させる指示と、を前記出力装置に対して送信し、前記表示装置及び前記出力装置が前記範囲内にないと判定された場合、(iii)前記音声のみを使用する案内のための当該音声である画像非使用案内音声であって出力内容が前記画像使用案内音声と異なる画像非使用案内音声と、当該画像非使用案内音声を出力させる指示と、を前記出力装置に対して送信する送信手段と、を備える。
【0008】
上記の課題を解決するために、請求項7に記載の発明は、取得手段と、判定手段と、送信手段と、を備えるサーバ装置において実行される情報処理方法であって、画像を表示する表示装置の現状を示す表示装置現状情報と、音声を出力する出力装置の現状を示す出力装置現状情報と、を前記取得手段によりそれぞれ取得する取得工程と、各前記取得された表示装置現状情報及び出力装置現状情報に基づいて、前記表示装置及び前記出力装置が予め設定された範囲内にあるか否かを前記判定手段により判定する判定工程と、前記表示装置及び前記出力装置が前記範囲内にあると判定された場合、(i)案内のための前記画像である案内画像と、当該案内画像を表示させる指示と、を前記表示装置に対して前記送信手段により送信し、(ii)前記案内画像を使用する案内のための案内音声である画像使用案内音声と、当該画像使用案内音声を出力させる指示と、を前記出力装置に対して前記送信手段により送信し、前記表示装置及び前記出力装置が前記範囲内にないと判定された場合、(iii)前記音声のみを使用する案内のための当該音声である画像非使用案内音声であって出力内容が前記画像使用案内音声と異なる画像非使用案内音声と、当該画像非使用案内音声を出力させる指示と、を前記出力装置に対して前記送信手段により送信する送信工程と、を含む。
【0009】
上記の課題を解決するために、請求項8に記載の発明は、コンピュータを、請求項1から請求項6のいずれか一項に記載のサーバ装置として機能させる。
【図面の簡単な説明】
【0010】
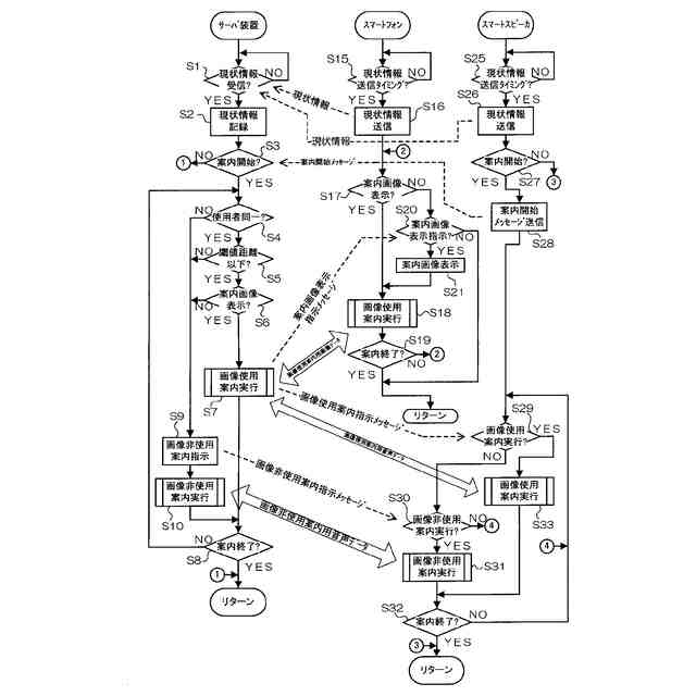
実施形態に係る案内制御装置の概要構成を示すブロック図である。
実施例に係る案内制御システムの概要構成を示すブロック図である。
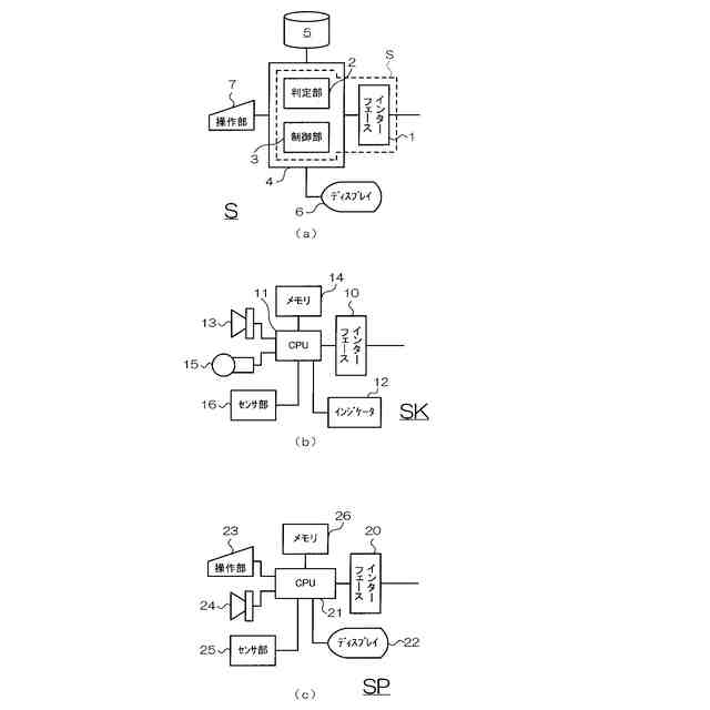
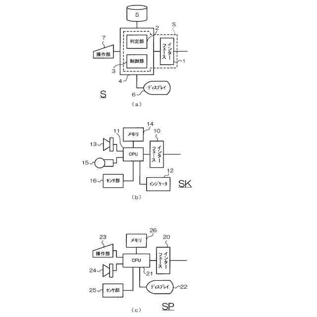
実施例に係るサーバ装置等の概要構成を示すブロック図であり、(a)は当該サーバ装置の概要構成を示すブロック図であり、(b)は実施例に係るスマートスピーカの概要構成を示すブロック図であり、(c)は実施例に係るスマートフォンの概要構成を示すブロック図である。
実施例に係る案内制御処理を示すフローチャートである。
【発明を実施するための形態】
(【0011】以降は省略されています)
この特許をJ-PlatPat(特許庁公式サイト)で参照する
関連特許
個人
計量スプーン
1か月前
個人
メジャー文具
3日前
日本精機株式会社
位置検出装置
9日前
ユニパルス株式会社
ロードセル
2日前
日本精機株式会社
位置検出装置
9日前
日本精機株式会社
位置検出装置
9日前
大和製衡株式会社
組合せ秤
14日前
大和製衡株式会社
組合せ秤
14日前
アズビル株式会社
圧力センサ
8日前
ダイハツ工業株式会社
測定用具
1か月前
トヨタ自動車株式会社
監視装置
1日前
トヨタ自動車株式会社
表示装置
23日前
トヨタ自動車株式会社
検査装置
11日前
株式会社チノー
放射光測温装置
2日前
株式会社東芝
センサ
14日前
株式会社東芝
センサ
14日前
エイブリック株式会社
磁気センサ回路
8日前
株式会社ユーシン
操作検出装置
11日前
株式会社ヨコオ
ソケット
2日前
株式会社ヨコオ
ソケット
1日前
TDK株式会社
磁気センサ
1か月前
個人
粘塑性を用いた有限要素法の定式化
23日前
TDK株式会社
磁気センサ
1日前
株式会社東芝
重量測定装置
7日前
TDK株式会社
ガスセンサ
7日前
TDK株式会社
ガスセンサ
8日前
TDK株式会社
ガスセンサ
2日前
株式会社ナリス化粧品
角層細胞採取用具
21日前
東レエンジニアリング株式会社
計量装置
11日前
株式会社ヨコオ
コンタクタ
1か月前
中国電力株式会社
異常箇所検出装置
22日前
富士電機株式会社
エンコーダ
8日前
個人
材料特性パラメータの算定方法
1か月前
株式会社熊谷組
RI計測装置
9日前
三菱マテリアル株式会社
温度センサ
21日前
ダイハツ工業株式会社
移動支援装置
1日前
続きを見る
他の特許を見る