TOP
|
特許
|
意匠
|
商標
特許ウォッチ
Twitter
他の特許を見る
公開番号
2025142285
公報種別
公開特許公報(A)
公開日
2025-09-30
出願番号
2025126044,2021159895
出願日
2025-07-29,2021-09-29
発明の名称
ステント接続構造
出願人
SBカワスミ株式会社
代理人
主分類
A61F
2/852 20130101AFI20250919BHJP(医学または獣医学;衛生学)
要約
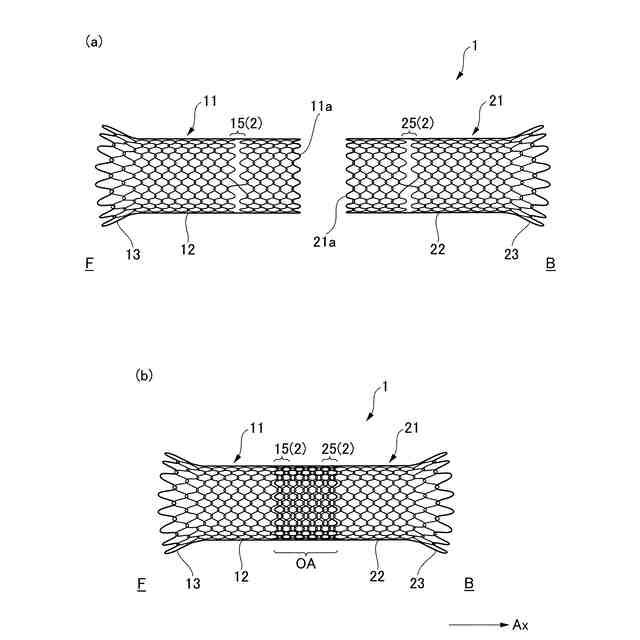
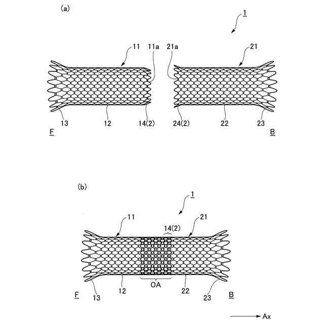
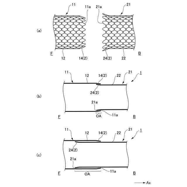
【課題】病変部位の管軸方向長さに対して適正な軸方向長さで留置できるステントを提供する。
【解決手段】生体管腔に留置される筒状のステント1であって、軸方向に略直交する径方向に拡縮可能な複数のステント部11、21を備える。複数のステント部11、21は、互いの対向する軸方向の端部を重ね合わせて生体管腔に留置される。複数のステント部11、21のうち少なくとも一方のステント部は、他方のステント部と重なる領域に他方のステント部に対する軸方向の相対的な変位を規制する規制部2を有する。一方のステント部において他方のステント部の端部が挿入される端部は、軸方向の先端側に向かって外径が縮小するように傾斜してなる。
【選択図】図1
特許請求の範囲
【請求項1】
生体管腔に留置される筒状のステントであって、
軸方向に略直交する径方向に拡縮可能な複数のステント部を備え、
前記複数のステント部は、互いの対向する軸方向の端部を重ね合わせて前記生体管腔に留置され、
前記複数のステント部のうち少なくとも一方のステント部は、他方のステント部と重なる領域に前記他方のステント部に対する軸方向の相対的に変位を規制する規制部を有し、
前記一方のステント部において前記他方のステント部の端部が挿入される端部は、軸方向の先端側に向かって外径が縮小するように傾斜してなる
ステント。
続きを表示(約 360 文字)
【請求項2】
生体管腔に留置される筒状のステントであって、
軸方向に略直交する径方向に拡縮可能な複数のステント部を備え、
前記複数のステント部は、互いの対向する軸方向の端部を重ね合わせて前記生体管腔に留置され、
前記複数のステント部のうち少なくとも一方のステント部は、他方のステント部と重なる領域に前記他方のステント部に対する軸方向の相対的に変位を規制する規制部を有し、
前記他方のステント部において前記一方のステント部の端部に挿入される端部は、軸方向の先端側に向かって外径が拡大するように傾斜してなる
ステント。
【請求項3】
前記規制部は、前記複数のステント部の互いの対向する軸方向の端部同士が係合可能な係合構造である
請求項1又は2に記載のステント。
発明の詳細な説明
【技術分野】
【0001】
本発明は、ステントに関する。
続きを表示(約 1,600 文字)
【背景技術】
【0002】
従来から、血管、食道、胆管、気管、尿管などを含む生体管腔に生じた狭窄部位又は閉塞部位などの病変部位に留置され、当該病変部位を拡径して生体管腔の開存状態を維持するステントが知られている(例えば、特許文献1参照)。
【先行技術文献】
【特許文献】
【0003】
特許第4651943号公報
【発明の概要】
【発明が解決しようとする課題】
【0004】
上記特許文献1等のステントは、軸方向に長尺な一本の構造をなしている。そのため、ステント留置術においては、生体管腔の病変部位の管軸方向長さに近い軸方向長さを有するステントが選択されて留置される。
【0005】
しかしながら、病変部位の管軸方向長さに対して必要以上に軸方向に長いステントが留置されると、病変部位の処置に直接的には機能しない余分なステント部分が存在することになる。このような余分なステント部分は、生体管腔の正常な機能を阻害したり、穿孔などの偶発症を招く虞がある。
なお、病変部位の管軸方向長さに対してステントの軸方向長さが足りない場合、追加で別のステントを留置しなければならなくなる。
【0006】
そこで、本発明は上記の状況に鑑みてなされたものであって、病変部位の管軸方向長さに対して適正な軸方向長さで留置できるステントを提供することを目的とする。
【課題を解決するための手段】
【0007】
本発明の一態様は、生体管腔に留置される筒状のステントであって、軸方向に略直交する径方向に拡縮可能な複数のステント部を備える。複数のステント部は、互いの対向する軸方向の端部を重ね合わせて生体管腔に留置される。複数のステント部のうち少なくとも一方のステント部は、他方のステント部と重なる領域に他方のステント部に対する軸方向の相対的な変位を規制する規制部を有する。一方のステント部において他方のステント部の端部が挿入される端部は、軸方向の先端側に向かって外径が縮小するように傾斜してなる。
また、本発明の他態様は、生体管腔に留置される筒状のステントであって、軸方向に略直交する径方向に拡縮可能な複数のステント部を備える。複数のステント部は、互いの対向する軸方向の端部を重ね合わせて生体管腔に留置される。複数のステント部のうち少なくとも一方のステント部は、他方のステント部と重なる領域に他方のステント部に対する軸方向の相対的な変位を規制する規制部を有する。他方のステント部において一方のステント部の端部に挿入される端部は、軸方向の先端側に向かって外径が拡大するように傾斜してなる。
【発明の効果】
【0008】
本発明によれば、病変部位の管軸方向長さに対して適正な軸方向長さで留置できるステントを提供できる。
【図面の簡単な説明】
【0009】
本実施形態のステントの構成例を示す図である。
図1(b)の斜視図である。
ステントが生体管腔内に留置された状態を模式的に示す図である。
縮径部および拡径部を示す図である。
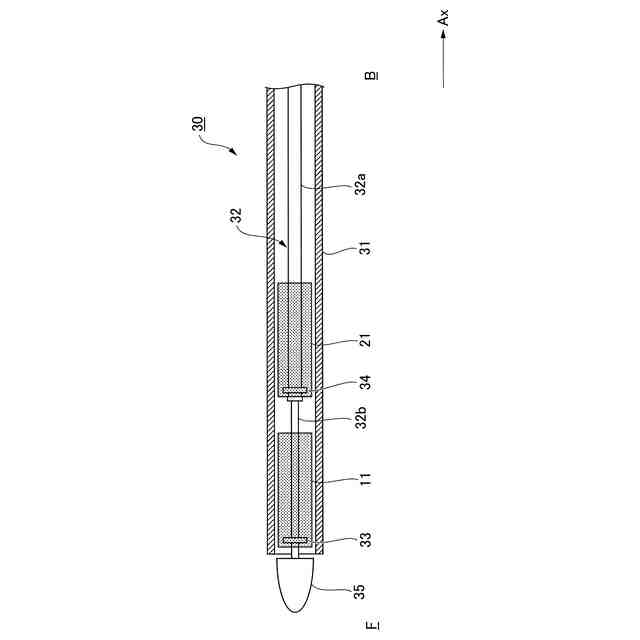
本実施形態のステントの留置に使用する留置装置の一例を示す図である。
規制部の他の例を示す図である。
規制部の他の例を示す図である。
【発明を実施するための形態】
【0010】
以下、図面を参照しつつ、本発明の実施形態に係るステントの構成例について説明する。
ここで、図面における各部の形状、寸法等は模式的に示したもので、実際の形状や寸法等を示すものではない。図面において、部材の軸方向Axを必要に応じて矢印で示す。また、軸方向Axと略直交する方向を径方向と定義する。なお、図面において部材の一端側を必要に応じて符号Fで示し、一端側と対向する他端側を必要に応じて符号Bで示す。
(【0011】以降は省略されています)
この特許をJ-PlatPat(特許庁公式サイト)で参照する
関連特許
SBカワスミ株式会社
カテーテル
9日前
SBカワスミ株式会社
カバードステント
21日前
SBカワスミ株式会社
胃瘻カテーテルキット及び接続チューブ
5日前
SBカワスミ株式会社
胃瘻カテーテルキット及び接続チューブ
5日前
SBカワスミ株式会社
胃瘻カテーテル、及び、カプセルカバー
5日前
SBカワスミ株式会社
胃瘻カテーテル、及び、カプセルカバー
5日前
SBカワスミ株式会社
管状留置具および管状留置具の製造方法
12日前
SBカワスミ株式会社
ステント接続構造
8日前
個人
健康器具
7か月前
個人
歯茎みが品
8か月前
個人
短下肢装具
2か月前
個人
鼾防止用具
7か月前
個人
前腕誘導装置
2か月前
個人
マッサージ機
8か月前
個人
脈波測定方法
7か月前
個人
導電香
8か月前
個人
洗井間専家。
6か月前
個人
脈波測定方法
7か月前
個人
嚥下鍛錬装置
3か月前
個人
白内障治療法
6か月前
個人
バッグ式オムツ
3か月前
個人
アイマスク装置
1か月前
個人
ホバーアイロン
6か月前
個人
歯の修復用材料
3か月前
個人
胸骨圧迫補助具
1か月前
個人
矯正椅子
4か月前
個人
クリップ
8か月前
個人
汚れ防止シート
9日前
個人
片足歩行支援具
8か月前
個人
湿布連続貼り機。
1か月前
個人
シャンプー
5か月前
三生医薬株式会社
錠剤
6か月前
個人
哺乳瓶冷まし容器
2か月前
個人
車椅子持ち上げ器
6か月前
個人
陣痛緩和具
3か月前
個人
口内洗浄具
7か月前
続きを見る
他の特許を見る