TOP
|
特許
|
意匠
|
商標
特許ウォッチ
Twitter
他の特許を見る
10個以上の画像は省略されています。
公開番号
2025139576
公報種別
公開特許公報(A)
公開日
2025-09-26
出願番号
2025039093
出願日
2025-03-12
発明の名称
管状留置具および管状留置具の製造方法
出願人
SBカワスミ株式会社
,
住友ベークライト株式会社
代理人
個人
,
個人
,
個人
,
個人
主分類
A61F
2/07 20130101AFI20250918BHJP(医学または獣医学;衛生学)
要約
【課題】被覆部の縫合箇所からの体液の漏れを抑制できる管状留置具を提供する。
【解決手段】生体管腔2に留置される管状留置具1は、径方向に拡縮自在な管状の骨格部11と、融点の異なる複数の材料を積層した多層構造(第1層13、第2層14)をなし、骨格部11を管状に被覆する被覆部12と、を備える。被覆部12は、縫合糸16で縫合される縫合部17、18を有する。縫合糸16は、低融点の樹脂からなる第1材料16aと第1材料よりも融点の高い第2材料16bで形成される。縫合部は、被覆部12を貫通して縫合糸16が挿通された針孔21と、縫合糸16の第1材料を溶融させて針孔21に樹脂を充填した樹脂充填部22とを含む。
【選択図】図6
特許請求の範囲
【請求項1】
生体管腔に留置される管状留置具であって、
径方向に拡縮自在な管状の骨格部と、
融点の異なる複数の材料を積層した多層構造をなし、前記骨格部を管状に被覆する被覆部と、を備え、
前記被覆部は、縫合糸で縫合される縫合部を有し、
前記縫合糸は、低融点の樹脂からなる第1材料と前記第1材料よりも融点の高い第2材料で形成され、
前記縫合部は、前記被覆部を貫通して前記縫合糸が挿通された針孔と、前記縫合糸の前記第1材料を溶融させて前記針孔に樹脂を充填した樹脂充填部とを含む
管状留置具。
続きを表示(約 1,200 文字)
【請求項2】
前記被覆部は、前記縫合糸の前記第1材料よりも高い融点の材料で形成される
請求項1に記載の管状留置具。
【請求項3】
前記被覆部は、第1層と、前記第1層よりも透液性の低い第2層とを積層した前記多層構造を有し、
前記針孔は、前記被覆部の前記第1層を貫通して前記縫合糸が挿通される第1針孔部と、前記被覆部の前記第2層を貫通して前記縫合糸が挿通される第2針孔部と、を有し、
前記樹脂充填部は、
少なくとも前記第2針孔部の内周面と前記縫合糸の前記第2材料の外周面との間であって当該被覆部の延在方向に沿った一平面を塞ぐように前記第1材料の溶融された樹脂が充填されている
請求項1または請求項2に記載の管状留置具。
【請求項4】
前記被覆部は、当該管状留置具が留置される前記生体管腔の径方向内側に前記第2層が配置され、且つ、前記生体管腔の径方向外側に前記第1層が配置されるように積層されている
請求項3に記載の管状留置具。
【請求項5】
前記被覆部は、第1層と、前記第1層よりも透液性の低い第2層とを積層した前記多層構造を有し、
前記針孔は、前記被覆部の前記第1層を貫通して前記縫合糸が挿通される第1針孔部と、前記被覆部の前記第2層を貫通して前記縫合糸が挿通される第2針孔部と、を有し、
前記樹脂充填部は、
前記第1針孔部の内周面と前記縫合糸の前記第2材料の外周面との間の隙間空間を塞ぐように前記第1材料の溶融された樹脂が充填されている
請求項1または請求項2に記載の管状留置具。
【請求項6】
前記被覆部は、当該管状留置具が留置される前記生体管腔の径方向内側に前記第1層が配置され、且つ、前記生体管腔の径方向外側に前記第2層が配置されるように積層されている
請求項5に記載の管状留置具。
【請求項7】
前記縫合部は、前記管状留置具の軸方向に延在し、前記被覆部のシートを管状に縫合している
請求項1または請求項2に記載の管状留置具。
【請求項8】
前記縫合部は、第1の糸および第2の糸を縫い合わせて構成され、
前記第1の糸および前記第2の糸の少なくとも一方は前記縫合糸であり、
前記樹脂充填部は、前記第1の糸および前記第2の糸のいずれかに含まれる前記第1材料を溶融させて形成されている
請求項7に記載の管状留置具。
【請求項9】
前記縫合部は、前記骨格部に前記被覆部を取り付けるために形成される
請求項1または請求項2に記載の管状留置具。
【請求項10】
前記樹脂充填部での前記樹脂は、前記針孔内で前記縫合糸の前記第2材料の周囲に充填され、前記針孔の内周面と前記第2材料の外周面との間の隙間を塞いでいる
請求項1または請求項2に記載の管状留置具。
(【請求項11】以降は省略されています)
発明の詳細な説明
【技術分野】
【0001】
本発明は、管状留置具および管状留置具の製造方法に関する。
続きを表示(約 1,700 文字)
【背景技術】
【0002】
従来、血管などの生体管腔に生じた病変部位に留置され、病変部位への体液の流入を遮断する管状留置具が知られている(例えば特許文献1など)。
この種の管状留置具は、金属線材を用いた骨格部と、骨格部を被覆する被覆部を含み、全体として管状の外形をなし、生体管腔と密着した状態で生体管腔内に留置される。
【先行技術文献】
【特許文献】
【0003】
特開2000-279532号公報
【発明の概要】
【発明が解決しようとする課題】
【0004】
この種の管状留置具では、被覆部を縫合した箇所で体液の漏れが生じやすい点で改善の余地があった。
【0005】
そこで、本発明は上記の状況に鑑みてなされたものであって、被覆部の縫合箇所からの体液の漏れを抑制できる管状留置具を提供することを目的とする。
【課題を解決するための手段】
【0006】
本発明の一態様は、生体管腔に留置される管状留置具であって、径方向に拡縮自在な管状の骨格部と、融点の異なる複数の材料を積層した多層構造をなし、骨格部を管状に被覆する被覆部と、を備え、被覆部は、縫合糸で縫合される縫合部を有し、縫合糸は、低融点の樹脂からなる第1材料と第1材料よりも融点の高い第2材料で形成され、縫合部は、被覆部を貫通して縫合糸が挿通された針孔と、縫合糸の第1材料を溶融させて針孔に樹脂を充填した樹脂充填部とを含む。
【0007】
本発明の他の態様は、生体管腔に留置される管状留置具であって、径方向に拡縮自在な管状の骨格部と、融点の異なる複数の材料を積層した多層構造をなし、骨格部を管状に被覆する被覆部と、を備え、被覆部は、低融点の樹脂からなる第1の糸と第1の糸よりも融点の高い第2の糸で縫い合わされた縫合部を有し、縫合部は、被覆部を貫通して第1の糸および第2の糸が挿通された針孔と、第1の糸を溶融させて針孔に樹脂を充填した樹脂充填部とを含む。
【発明の効果】
【0008】
本発明の一態様または他の態様によれば、被覆部の縫合箇所からの体液の漏れを抑制できる管状留置具を提供できる。
【図面の簡単な説明】
【0009】
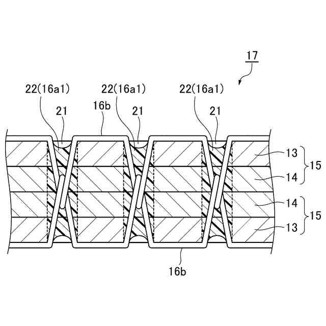
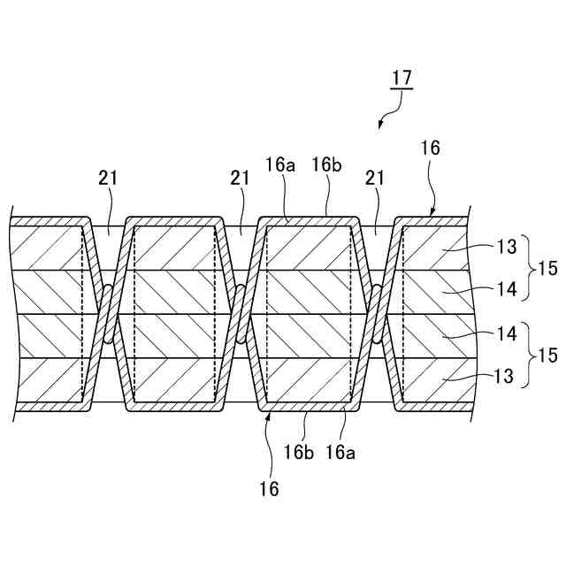
第1実施形態の管状留置具の構成例を示す斜視図である。
第1実施形態の管状留置具が生体管腔に留置された状態を模式的に示す図である。
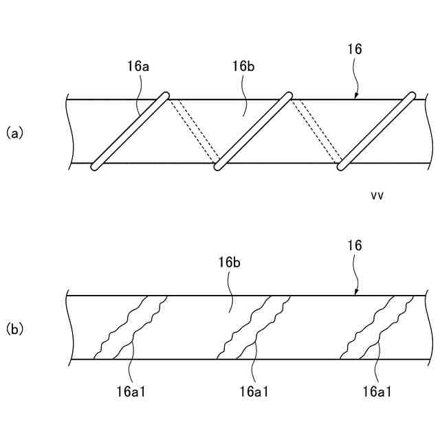
(a)は加熱加工前の被覆部の縫合部を示す拡大図であり、(b)は加熱加工後の被覆部の縫合部を示す拡大図である。
縫合糸の一例を示す図である。
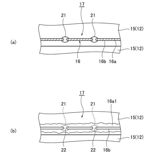
加熱加工前の縫合部を示す断面図である。
加熱加工後の縫合部を示す断面図である。
加熱加工前の骨格縫合部を示す断面図である。
加熱加工後の骨格縫合部を示す断面図である。
第1の態様の樹脂充填部の構成例を模式的に示す図である。
第1の態様における縫合糸の概要図である。
第1の態様での第1材料の溶融前後の状態を模式的に示す図である。
実施例1-4での隙間幅および第1の糸の直径の関係を示す図である。
第2の態様の樹脂充填部の構成例を模式的に示す図である。
第2の態様で適用される縫合糸の構成例を模式的に示す図である。
第2の態様での第1材料の溶融前の状態を模式的に示す図である。
第2の態様での第1材料の溶融後の状態を模式的に示す図である。
実施例5-7での針孔の開口面積、第2の糸の半径、縫合糸の半径、第1の糸の層厚の関係を示す図である。
第2実施形態の加熱加工前の縫合部を示す断面図である。
第2実施形態の加熱加工後の縫合部を示す断面図である。
【発明を実施するための形態】
【0010】
以下、図面を参照しつつ、実施形態に係るカバードステントの構成例について説明する。なお、図面における各部の形状、寸法等は模式的に示したもので、実際の形状や寸法等を示すものではない。
(【0011】以降は省略されています)
この特許をJ-PlatPat(特許庁公式サイト)で参照する
関連特許
個人
短下肢装具
2か月前
個人
白内障治療法
6か月前
個人
嚥下鍛錬装置
3か月前
個人
洗井間専家。
6か月前
個人
前腕誘導装置
2か月前
個人
汚れ防止シート
9日前
個人
ホバーアイロン
6か月前
個人
胸骨圧迫補助具
1か月前
個人
アイマスク装置
1か月前
個人
バッグ式オムツ
3か月前
個人
歯の修復用材料
3か月前
個人
矯正椅子
4か月前
三生医薬株式会社
錠剤
6か月前
個人
シャンプー
5か月前
個人
湿布連続貼り機。
1か月前
個人
歯の保護用シール
4か月前
個人
陣痛緩和具
3か月前
個人
哺乳瓶冷まし容器
2か月前
個人
車椅子持ち上げ器
6か月前
個人
エア誘導コルセット
1か月前
株式会社大野
骨壷
3か月前
個人
服薬支援装置
6か月前
個人
性行為補助具
2か月前
株式会社八光
剥離吸引管
4か月前
個人
治療用酸化防御装置
27日前
株式会社ニデック
検眼装置
3か月前
株式会社松風
口腔用組成物
3か月前
個人
精力増強キット
13日前
株式会社GSユアサ
歩行器
4か月前
個人
形見の製造方法
3か月前
株式会社コロナ
サウナ装置
5か月前
株式会社ニデック
眼科装置
3か月前
個人
シリンダ式歩行補助具
2か月前
株式会社ダリヤ
毛髪化粧料
19日前
個人
高気圧環境装置
3か月前
個人
手指運動ツール
1か月前
続きを見る
他の特許を見る