TOP
|
特許
|
意匠
|
商標
特許ウォッチ
Twitter
他の特許を見る
10個以上の画像は省略されています。
公開番号
2025146309
公報種別
公開特許公報(A)
公開日
2025-10-03
出願番号
2024047004
出願日
2024-03-22
発明の名称
胃瘻カテーテルキット及び接続チューブ
出願人
SBカワスミ株式会社
,
住友ベークライト株式会社
代理人
個人
主分類
A61J
15/00 20060101AFI20250926BHJP(医学または獣医学;衛生学)
要約
【課題】胃瘻カテーテルが胃内に留置された状態をより確実に維持することが可能な胃瘻カテーテルキット及び接続チューブを提供する。
【解決手段】胃瘻カテーテルキット300は、胃瘻カテーテル100と、胃瘻カテーテル100に対して脱着可能に連結される接続チューブ(チューブ200)と、を備える胃瘻カテーテルキット300であって、
胃瘻カテーテル100は、ルーメン11が形成されているシャフト10と、シャフト10の一端部に設けられている体表当接部20と、を有し、接続チューブは、長尺なチューブ本体260と、チューブ本体260の一端に設けられていて体表当接部20に対して脱着可能に装着されるコネクタ210と、を有し、チューブ本体260は、引っ張られたときに伸長可能な伸長部270を有する。
【選択図】図8
特許請求の範囲
【請求項1】
胃瘻カテーテルと、前記胃瘻カテーテルに対して脱着可能に連結される接続チューブと、を備える胃瘻カテーテルキットであって、
前記胃瘻カテーテルは、ルーメンが形成されているシャフトと、前記シャフトの一端部に設けられている体表当接部と、を有し、
前記接続チューブは、長尺なチューブ本体と、前記チューブ本体の一端に設けられていて前記体表当接部に対して脱着可能に装着されるコネクタと、を有し、
前記チューブ本体は、引っ張られたときに伸長可能な伸長部を有する胃瘻カテーテルキット。
続きを表示(約 820 文字)
【請求項2】
前記伸長部は、前記チューブ本体における他部と比べて薄肉に形成されている請求項1に記載の胃瘻カテーテルキット。
【請求項3】
前記伸長部は、前記チューブ本体における他部と比べて伸長が容易な材料で形成されている請求項1に記載の胃瘻カテーテルキット。
【請求項4】
前記チューブ本体の少なくとも一部分が環状にループされているとともに、そのループ部の両端を連結する連結部が設けられており、
前記チューブ本体が引っ張られたときに前記連結部による連結が外れて前記チューブ本体が伸長する請求項1に記載の胃瘻カテーテルキット。
【請求項5】
前記チューブ本体の少なくとも一部分が伸縮可能なカールコード状に形成されて前記伸長部を構成している請求項1に記載の胃瘻カテーテルキット。
【請求項6】
前記チューブ本体は、前記伸長部として、第1伸長部と、前記第1伸長部が伸び始めた後で伸び始める第2伸長部と、を有する請求項1から5のいずれか一項に記載の胃瘻カテーテルキット。
【請求項7】
前記チューブ本体は、前記伸長部として第1伸長部と第2伸長部とを有し、
前記第1伸長部と前記第2伸長部とは、単位長さの伸長に要する引っ張り力が互いに異なる請求項1から5のいずれか一項に記載の胃瘻カテーテルキット。
【請求項8】
ルーメンが形成されているシャフトと前記シャフトの一端部に設けられている体表当接部とを有する胃瘻カテーテルの前記体表当接部に対して脱着可能に連結して用いられる接続チューブであって、
長尺なチューブ本体と、
前記チューブ本体の一端に設けられていて前記体表当接部に対して脱着可能に装着されるコネクタと、
を有し、
前記チューブ本体は、引っ張られたときに伸長可能な伸長部を有する接続チューブ。
発明の詳細な説明
【技術分野】
【0001】
本発明は、胃瘻カテーテルキット及び接続チューブに関する。
続きを表示(約 2,600 文字)
【背景技術】
【0002】
胃瘻カテーテルキットとしては、例えば、特許文献1に記載のものがある。特許文献1の胃瘻カテーテルは、ルーメンが形成されているシャフトと、シャフトの一端部に設けられている体表当接部(同文献には、体表部と記載)と、を有し、チューブは、長尺なチューブ本体と、チューブ本体の一端に設けられていて体表当接部に対して脱着可能に装着されるコネクタと、を有し、当該チューブの外径及び内径の各々は、その軸方向における位置にかかわらず一定となっている。
【先行技術文献】
【特許文献】
【0003】
特開2020-188846号公報
【発明の概要】
【発明が解決しようとする課題】
【0004】
本願発明者の検討によれば、特許文献1の胃瘻カテーテルキットは、胃瘻カテーテルが胃内に留置された状態をより確実に維持するための構造に関して、なお改善の余地がある。
【0005】
本発明は、上記の課題に鑑みてなされたものであり、胃瘻カテーテルが胃内に留置された状態をより確実に維持することが可能な構造の胃瘻カテーテルキット及び接続チューブを提供するものである。
【課題を解決するための手段】
【0006】
本発明によれば、胃瘻カテーテルと、前記胃瘻カテーテルに対して脱着可能に連結される接続チューブと、を備える胃瘻カテーテルキットであって、
前記胃瘻カテーテルは、ルーメンが形成されているシャフトと、前記シャフトの一端部に設けられている体表当接部と、を有し、
前記接続チューブは、長尺なチューブ本体と、前記チューブ本体の一端に設けられていて前記体表当接部に対して脱着可能に装着されるコネクタと、を有し、
前記チューブ本体は、引っ張られたときに伸長可能な伸長部を有する胃瘻カテーテルキットが提供される。
【0007】
また、本発明によれば、ルーメンが形成されているシャフトと前記シャフトの一端部に設けられている体表当接部とを有する胃瘻カテーテルの前記体表当接部に対して脱着可能に連結して用いられる接続チューブであって、
長尺なチューブ本体と、
前記チューブ本体の一端に設けられていて前記体表当接部に対して脱着可能に装着されるコネクタと、
を有し、
前記チューブ本体は、引っ張られたときに伸長可能な伸長部を有する接続チューブが提供される。
【発明の効果】
【0008】
本発明によれば、胃瘻カテーテルが胃内に留置された状態をより確実に維持することができる。
【図面の簡単な説明】
【0009】
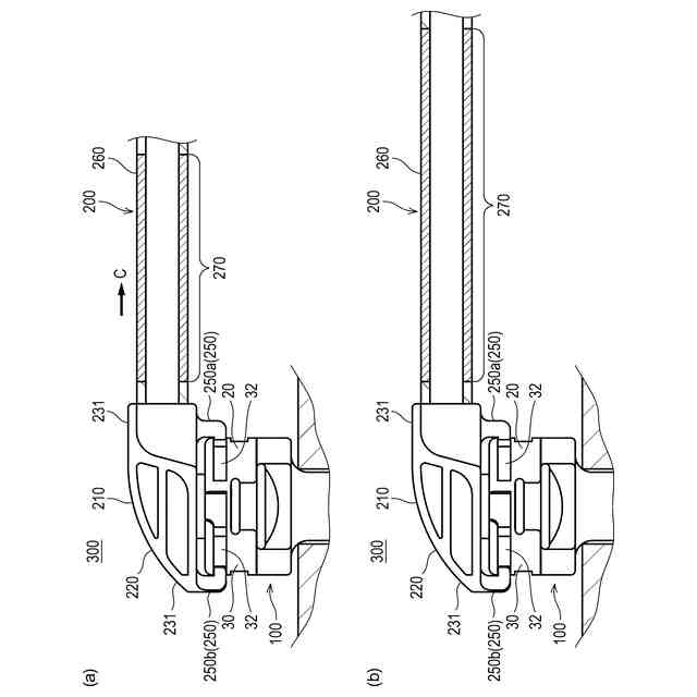
第1実施形態に係る胃瘻カテーテルキットの縦断面図であり、コネクタが体表当接部に対して連結された状態を示す。
第1実施形態に係る胃瘻カテーテルキットの縦断面図であり、コネクタが体表当接部に対して連結される前の状態を示す。
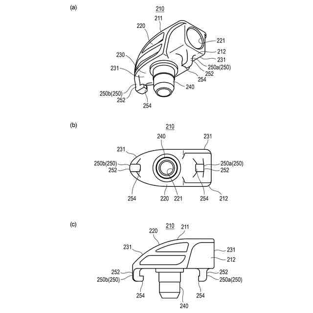
図3(a)及び図3(b)は第1実施形態における胃瘻カテーテルの被係合部とその周辺構造を示す図であり、このうち図3(a)は斜視図であり、図3(b)は平面図である。
図4(a)、図4(b)及び図4(c)は第1実施形態におけるコネクタを示す図であり、このうち図4(a)は斜視図、図4(b)は底面図、図4(c)は側面図である。
図5(a)及び図5(b)は第1実施形態におけるコネクタ及び胃瘻カテーテルの被係合部とその周辺構造を示す側面図であり、このうち図5(a)はコネクタが体表当接部に対して連結される前の状態を示し、図5(b)は図5(a)に示す状態からコネクタが体表当接部に対して連結された状態を示す。
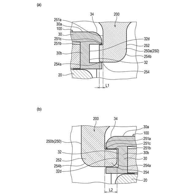
図6(a)は第1実施形態における一方の爪部及びその周辺構造を示す縦断面図であり、図6(b)は他方の爪部及びその周辺構造を示す縦断面図である。
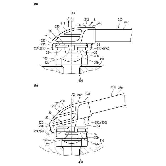
図7(a)は第1実施形態における体表当接部が体表に対して留置されているとともに、コネクタが体表当接部に装着されている状態を示し、図7(b)は図7(a)に示す状態から、コネクタにおいてシャフトの軸中心からオフセットした部位が、そのオフセット方向とシャフトの軸方向とを合成した方向に引っ張られた状態を示す。
図8(a)は第1実施形態における体表当接部が体表に対して留置されているとともに、コネクタが体表当接部に装着されている状態を示す側面図であり、図8(b)は図8(a)に示す状態からチューブが水平方向に引っ張られ伸長部が伸長している状態を示す側面図である。
図9(a)は第1実施形態の変形例における体表当接部が体表に対して留置されているとともに、コネクタが体表当接部に装着されている状態を示す側面図であり、図9(b)は図9(a)に示す状態からチューブが水平方向に引っ張られ伸長部が伸長している状態を示す側面図である。
図10(a)は第2実施形態における体表当接部が体表に対して留置されているとともに、コネクタが体表当接部に装着されている状態を示す平面図であり、図10(b)は図10(a)に示す状態からチューブが水平方向に引っ張られ伸長部が伸長している状態を示す平面図である。
図11(a)は第3実施形態における体表当接部が体表に対して留置されているとともに、コネクタが体表当接部に装着されている状態を示す平面図であり、図11(b)は図11(a)に示す状態からチューブが水平方向に引っ張られ伸長部が伸長している状態を示す平面図である。
図12(a)は第4実施形態における体表当接部が体表に対して留置されているとともに、コネクタが体表当接部に装着されている状態を示す平面図であり、図12(b)は図12(a)に示す状態からチューブが水平方向に引っ張られ第1伸長部が伸長している状態を示す平面図であり、図12(c)は図12(b)に示す状態からチューブが更に水平方向に引っ張られ第2伸長部が伸長している状態を示す平面図である。
【発明を実施するための形態】
【0010】
以下、本発明の各実施形態について、図面を用いて説明する。なお、すべての図面において、同様の構成要素には同一の符号を付し、適宜に説明を省略する。
(【0011】以降は省略されています)
この特許をJ-PlatPat(特許庁公式サイト)で参照する
関連特許
SBカワスミ株式会社
カテーテル
7日前
SBカワスミ株式会社
カバードステント
19日前
SBカワスミ株式会社
胃瘻カテーテルキット及び接続チューブ
3日前
SBカワスミ株式会社
胃瘻カテーテルキット及び接続チューブ
3日前
SBカワスミ株式会社
胃瘻カテーテル、及び、カプセルカバー
3日前
SBカワスミ株式会社
胃瘻カテーテル、及び、カプセルカバー
3日前
SBカワスミ株式会社
管状留置具および管状留置具の製造方法
10日前
SBカワスミ株式会社
ステント接続構造
6日前
個人
健康器具
7か月前
個人
歯茎みが品
8か月前
個人
短下肢装具
2か月前
個人
鼾防止用具
7か月前
個人
脈波測定方法
7か月前
個人
前腕誘導装置
2か月前
個人
嚥下鍛錬装置
3か月前
個人
脈波測定方法
7か月前
個人
白内障治療法
6か月前
個人
洗井間専家。
6か月前
個人
マッサージ機
8か月前
個人
導電香
8か月前
個人
アイマスク装置
1か月前
個人
胸骨圧迫補助具
1か月前
個人
クリップ
8か月前
個人
バッグ式オムツ
3か月前
個人
矯正椅子
4か月前
個人
ホバーアイロン
6か月前
個人
汚れ防止シート
7日前
個人
歯の修復用材料
3か月前
個人
車椅子持ち上げ器
6か月前
個人
哺乳瓶冷まし容器
2か月前
個人
口内洗浄具
7か月前
個人
シャンプー
5か月前
個人
陣痛緩和具
3か月前
三生医薬株式会社
錠剤
6か月前
個人
歯の保護用シール
4か月前
個人
湿布連続貼り機。
1か月前
続きを見る
他の特許を見る