TOP
|
特許
|
意匠
|
商標
特許ウォッチ
Twitter
他の特許を見る
公開番号
2025142570
公報種別
公開特許公報(A)
公開日
2025-10-01
出願番号
2024042012
出願日
2024-03-18
発明の名称
印刷装置
出願人
セイコーエプソン株式会社
代理人
個人
,
個人
,
個人
主分類
B65H
43/08 20060101AFI20250924BHJP(運搬;包装;貯蔵;薄板状または線条材料の取扱い)
要約
【課題】収容される記録紙の残量を検出できる投げ込み方式の印刷装置を提供すること。
【解決手段】ロール状に巻かれた記録紙を含むロール体が収容される媒体収容部と、回転によりロール体から引き出された記録紙に印刷を行う印刷ヘッドと、媒体収容部に収容される記録紙の残量を検出する残量検出回路と、を備え、媒体収容部は、ロール体からの記録紙の引き出しに伴い、ロール体の中心位置が変化するようにロール体を収容し、残量検出回路は、ロール体の回転軸と交差するロール体の検出面に光を照射し、反射した光を検出する光学式トラッキングセンサーと、光学式トラッキングセンサーの検出結果に基づき、記録紙の残量を判定する判定回路と、を有する印刷装置。
【選択図】図5
特許請求の範囲
【請求項1】
ロール状に巻かれた記録紙を含むロール体が収容される媒体収容部と、
回転により前記ロール体から引き出された前記記録紙に印刷を行う印刷ヘッドと、
前記媒体収容部に収容される前記記録紙の残量を検出する残量検出回路と、
を備え、
前記媒体収容部は、前記ロール体からの前記記録紙の引き出しに伴い、前記ロール体の中心位置が変化するように前記ロール体を収容し、
前記残量検出回路は、
前記ロール体の回転軸と交差する前記ロール体の検出面に光を照射し、反射した光を検出する光学式トラッキングセンサーと、
前記光学式トラッキングセンサーの検出結果に基づき、前記記録紙の残量を判定する判定回路と、
を有する、
ことを特徴とする印刷装置。
続きを表示(約 760 文字)
【請求項2】
前記光学式トラッキングセンサーは、前記反射した光のスペックルを検出する、
ことを特徴とする請求項1に記載の印刷装置。
【請求項3】
前記判定回路は、前記回転軸と交差する第1方向への前記ロール体の移動量、及び前記回転軸と交差し前記第1方向と直交する第2方向への前記ロール体の移動量の少なくとも一方に基づいて、前記記録紙の残量を判定する、
ことを特徴とする請求項1に記載の印刷装置。
【請求項4】
前記媒体収容部は、第1支持部、第2支持部、及び第3支持部を有し、
前記ロール体の直径が所定の値よりも大きい場合、前記ロール体は、前記第1支持部及び前記第2支持部で支持され、前記第3支持部とは接触せず、
前記ロール体の直径が前記所定の値よりも小さい場合、前記ロール体は、前記第3支持部で支持される、
ことを特徴とする請求項1に記載の印刷装置。
【請求項5】
前記ロール体は、前記記録紙が巻かれる芯材を含み、
前記光学式トラッキングセンサーは、前記ロール体からの前記記録紙の引き出しに伴い、前記ロール体の中心位置が変化する期間のいずれにおいても、前記記録紙及び前記芯材の少なくとも一方に照射可能な位置に配置される、
ことを特徴とする請求項1に記載の印刷装置。
【請求項6】
前記判定回路は、第1判定閾値、及び第2判定閾値に基づいて、前記記録紙の残量を判定する、
ことを特徴とする請求項1に記載の印刷装置。
【請求項7】
前記光学式トラッキングセンサーは、前記検出面に照射される光の光路にレンズを有さない、
ことを特徴とする請求項1に記載の印刷装置。
発明の詳細な説明
【技術分野】
【0001】
本発明は、印刷装置に関する。
続きを表示(約 1,800 文字)
【背景技術】
【0002】
特許文献1には、ロール紙に印字を行う装置であって、ロール紙を紙管に固定し、当該紙管の回転速度から、ロール紙の残量を検出する装置が開示されている。
【先行技術文献】
【特許文献】
【0003】
特開2005-247568号公報
【発明の概要】
【発明が解決しようとする課題】
【0004】
しかしながら、特許文献1に記載の技術では、近年普及している投げ込み方式の印刷装置に適用することができず、改善の余地があった。
【課題を解決するための手段】
【0005】
本発明に係る印刷装置の一態様は、
ロール状に巻かれた記録紙を含むロール体が収容される媒体収容部と、
回転により前記ロール体から引き出された前記記録紙に印刷を行う印刷ヘッドと、
前記媒体収容部に収容される前記記録紙の残量を検出する残量検出回路と、
を備え、
前記媒体収容部は、前記ロール体からの前記記録紙の引き出しに伴い、前記ロール体の中心位置が変化するように前記ロール体を収容し、
前記残量検出回路は、
前記ロール体の回転軸と交差する前記ロール体の検出面に光を照射し、反射した光を検出する光学式トラッキングセンサーと、
前記光学式トラッキングセンサーの検出結果に基づき、前記記録紙の残量を判定する判定回路と、
を有する。
【図面の簡単な説明】
【0006】
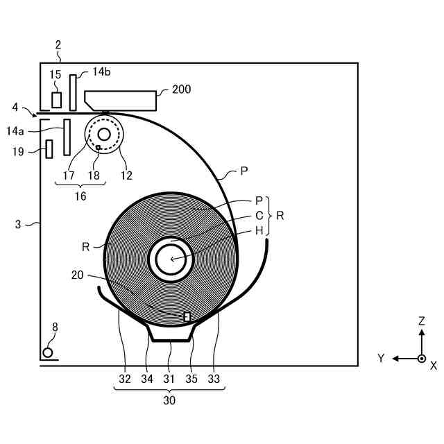
印刷装置の外観構造の一例を示す斜視図である。
印刷装置の内部構造の一例を模式的に示す図である。
記録紙の引き出しに伴うロール体の移動を説明するための図である。
印刷装置の機能構成の一例を示す図である。
残量検出回路の構成の一例を示す図である。
DSPにおける移動量dtx,dtyの生成方法の具体例を説明するための図である。
移動量dtx,dtyと記録紙の残量との関係を説明するための図である。
第1の条件を満たす媒体残量センサーの固定位置を説明するための図である。
第2の条件を満たす媒体残量センサーの固定位置を説明するための図である。
第3の条件を満たす媒体残量センサーの固定位置を説明するための図である。
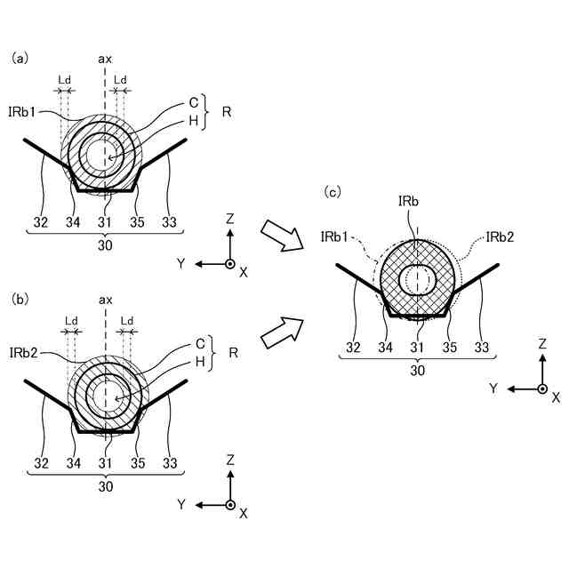
照射領域IRの一例を示す図である。
【発明を実施するための形態】
【0007】
以下、本発明の好適な実施形態について図面を用いて説明する。用いる図面は説明の便宜上のものである。なお、以下に説明する実施形態は、特許請求の範囲に記載された本発明の内容を不当に限定するものではない。また、以下で説明される構成の全てが本発明の必須構成要件であるとは限らない。
【0008】
1.印刷装置の概略構造
本実施形態の印刷装置1は、感熱紙等の記録紙Pに画像を形成する印刷処理を実行する所謂サーマルプリンターを例示して説明を行う。なお、印刷装置1は、サーマルプリンターに限るものではなく、インクジェットプリンターやレーザープリンターであってもよい。本実施形態の印刷装置1の概略構造について説明する。図1は、印刷装置1の外観構造の一例を示す斜視図である。ここで、以下の説明では、互いに直交するX軸、Y軸、及びZ軸を用いて説明を行う。また、以下の説明において、図示するX軸に沿った矢印の起点側を-X側、先端側を+X側と称し、図示するY軸に沿った矢印の起点側を-Y側、先端側を+Y側と称し、図示するZ軸に沿った矢印の起点側を-Z側、先端側を+Z側と称する。
【0009】
図1に示すように、印刷装置1は、本体ケース2、開閉扉3、排出口4、報知部5、電源スイッチ6、及び開閉レバー7を有する。
【0010】
本体ケース2は、ボタン等の凹凸部を除き、全体として略直方体形状を成す。この本体ケース2の内部に記録紙Pが収容される。本実施形態の印刷装置1は、略直直方体形状の本体ケース2の向かい合う面が、X軸、Y軸、及びZ軸のそれぞれに沿って向かい合うように位置している。
(【0011】以降は省略されています)
この特許をJ-PlatPat(特許庁公式サイト)で参照する
関連特許
個人
箱
11か月前
個人
ゴミ箱
11か月前
個人
収容箱
2か月前
個人
コンベア
4か月前
個人
段ボール箱
6か月前
個人
段ボール箱
6か月前
個人
容器
8か月前
個人
ゴミ収集器
6か月前
個人
土嚢運搬器具
7か月前
個人
パウチ補助具
11か月前
個人
楽ちんハンド
4か月前
個人
バンド
1か月前
個人
宅配システム
6か月前
個人
角筒状構造体
4か月前
個人
包装容器
12日前
個人
廃棄物収容容器
1か月前
個人
コード類収納具
7か月前
個人
お薬の締結装置
5か月前
個人
閉塞装置
9か月前
株式会社和気
包装用箱
8か月前
個人
積み重ね用補助具
1か月前
個人
蓋閉止構造
3か月前
株式会社コロナ
梱包材
4か月前
個人
蓋閉止構造
3か月前
個人
把手付米袋
3か月前
個人
貯蔵サイロ
6か月前
個人
ゴミ処理機
8か月前
三甲株式会社
蓋体
8か月前
積水樹脂株式会社
接着剤
11か月前
三甲株式会社
蓋体
7か月前
個人
塗料容器用蓋
12か月前
株式会社新弘
容器
2か月前
個人
搬送システム
5か月前
株式会社イシダ
包装装置
11か月前
株式会社イシダ
搬送装置
5か月前
個人
包装箱
9か月前
続きを見る
他の特許を見る