TOP
|
特許
|
意匠
|
商標
特許ウォッチ
Twitter
他の特許を見る
公開番号
2025142731
公報種別
公開特許公報(A)
公開日
2025-10-01
出願番号
2024042247
出願日
2024-03-18
発明の名称
燃料電池システム
出願人
大阪瓦斯株式会社
代理人
弁理士法人R&C
主分類
H01M
8/04 20160101AFI20250924BHJP(基本的電気素子)
要約
【課題】燃焼を安定させることができる燃料電池システムを提供する。
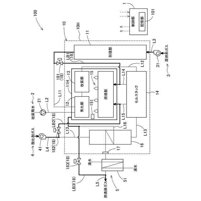
【解決手段】燃料電池システム100は、セルスタック14、改質部13、燃焼部15、アノードオフガス供給路L14、カソードオフガス供給路L15、及び、燃焼排ガス路L16を有するホットモジュール10と、燃焼排ガス路L16を流通する燃焼排ガスと冷媒とを熱交換する熱交換器51と、を備え、原燃料を、改質部13及びセルスタック14を迂回してアノードオフガス供給路L14に供給する原燃料バイパス路LB1と、酸化剤ガスを、セルスタック14を迂回してカソードオフガス供給路L15に供給する酸化剤ガスバイパス路LB2と、燃焼部15からの燃焼排ガスを、熱交換器51を迂回して燃焼排ガス路L16に供給する燃焼排ガスバイパス路LB3とのうち、少なくとも一つを備える。
【選択図】図1
特許請求の範囲
【請求項1】
容器を有し、当該容器の内部に、アノード及びカソードを有する燃料電池セルが複数設けられたセルスタック、原燃料を水蒸気改質して燃料ガスを生成する改質部、前記改質部から前記アノードへ前記燃料ガスを供給する燃料ガス供給路、前記カソードへ酸化剤ガスを供給する酸化剤ガス供給路、前記セルスタックから排出されるアノードオフガス及びカソードオフガスを燃焼する燃焼部、前記セルスタックから排出されるアノードオフガスを前記燃焼部に供給するアノードオフガス供給路、前記セルスタックから排出されるカソードオフガスを前記燃焼部に供給するカソードオフガス供給路、及び、前記燃焼部で発生した燃焼排ガスを前記容器の外部へと導く燃焼排ガス路を有するホットモジュールと、
前記容器の外部から前記改質部へ前記原燃料を供給する原燃料供給部と、
前記容器の外部から前記セルスタックへ前記酸化剤ガスを供給する酸化剤ガス供給部と、
前記容器の外部から前記改質部へ改質用水を供給する改質用水供給部と、
前記燃焼排ガス路を流通する前記燃焼排ガスと冷媒とを熱交換して、前記燃焼排ガスを冷却する熱交換器と、を備える燃料電池システムであって、
前記原燃料供給部からの前記原燃料を、前記改質部及び前記セルスタックを迂回して前記アノードオフガス供給路に供給する原燃料バイパス路と、前記酸化剤ガス供給部からの前記酸化剤ガスを、前記セルスタックを迂回して前記カソードオフガス供給路に供給する酸化剤ガスバイパス路と、前記燃焼部からの前記燃焼排ガスを、前記熱交換器を迂回して前記燃焼排ガス路に供給する燃焼排ガスバイパス路とのうち、少なくとも一つを備える、燃料電池システム。
続きを表示(約 1,000 文字)
【請求項2】
前記原燃料を前記原燃料供給部から前記改質部へ供給する通常状態と前記原燃料を前記原燃料供給部から前記原燃料バイパス路へ供給するバイパス状態とに切換可能な原燃料切換部と、
前記酸化剤ガスを前記酸化剤ガス供給部から前記セルスタックへ供給する通常状態と前記酸化剤ガスを前記酸化剤ガス供給部から前記酸化剤ガスバイパス路へ供給するバイパス状態とに切換可能な酸化剤ガス切換部と、
前記燃焼排ガスを前記燃焼部から前記熱交換器へ供給する通常状態と前記燃焼排ガスを前記燃焼部から前記燃焼排ガスバイパス路へ供給するバイパス状態とに切換可能な燃焼排ガス切換部とのうち、少なくとも一つを備え、
前記原燃料切換部、前記酸化剤ガス切換部及び前記燃焼排ガス切換部の動作を制御する動作制御部を備える、請求項1に記載の燃料電池システム。
【請求項3】
前記動作制御部は、前記セルスタックの起動時に、前記原燃料切換部、前記酸化剤ガス切換部及び前記燃焼排ガス切換部の少なくとも一つを前記バイパス状態に切換えて、前記燃焼部の内部に設けられた着火器を着火作動させる着火処理を行う、請求項2に記載の燃料電池システム。
【請求項4】
前記動作制御部は、前記着火処理を行った後、前記燃焼部の燃焼状態が安定した所定の安定条件を満たしていると判定した場合には、前記原燃料切換部、前記酸化剤ガス切換部及び前記燃焼排ガス切換部のうち、前記バイパス状態に切換えた前記原燃料切換部、前記酸化剤ガス切換部及び前記燃焼排ガス切換部を、前記通常状態に切換える、請求項3に記載の燃料電池システム。
【請求項5】
前記ホットモジュールは、前記酸化剤ガス供給路及び前記燃焼排ガス路に配置され、前記酸化剤ガス供給路を流通する前記酸化剤ガスと前記燃焼排ガス路を通流する前記燃焼排ガスとを熱交換する酸化剤ガス予熱用熱交換器を有し、
前記酸化剤ガス切換部が前記バイパス状態となる際には、前記酸化剤ガスを、前記酸化剤ガス供給部から前記酸化剤ガス予熱用熱交換器及び前記セルスタックを迂回して、前記酸化剤ガスバイパス路へ供給する状態となり、
前記燃焼排ガス切換部が前記バイパス状態となる際には、前記燃焼排ガスを、前記燃焼部から前記酸化剤ガス予熱用熱交換器及び前記熱交換器を迂回して、前記燃焼排ガスバイパス路へ供給する状態となる、請求項2又は3に記載の燃料電池システム。
発明の詳細な説明
【技術分野】
【0001】
本発明は、燃料電池システムに関する。
続きを表示(約 2,300 文字)
【背景技術】
【0002】
特許文献1には、固体電解質形(固体酸化物形)燃料電池セルを複数積層した固体電解質形燃料電池スタックと、固体電解質形燃料電池スタックに供給する燃料ガスの改質を行うガス改質部と、ガス改質部によるガス改質の反応を促進するためにガス改質部を加熱するバーナと備えた固体電解質形燃料電池システムが開示されている。特許文献1に開示の固体電解質形燃料電池システムでは、固体電解質形燃料電池スタックの積層方向の下端側にガス改質部を配置し、ガス改質部の下方にバーナが配置されている。
【先行技術文献】
【特許文献】
【0003】
特開2008-21596号公報
【発明の概要】
【発明が解決しようとする課題】
【0004】
ところで、特許文献1に開示される固体電解質形燃料電池システムのような燃料電池システムの中には、燃焼部(特許文献1ではバーナ)に供給されるガス又は燃焼部から排出されるガスの圧力損失が大きくなり、燃焼部が燃焼を行う空間(燃焼室)の圧力変動と燃焼率の変動とによって燃焼振動が発生する場合がある。燃焼振動が発生すると、燃焼部による燃焼が不安定(特に、着火時に燃焼が不安定)になり、不完全燃焼が起こり、一酸化炭素が発生することがある。このため、燃焼部による燃焼を安定させることができる燃料電池システムが望まれている。
【0005】
本発明は、上記の課題に鑑みてなされたものであり、その目的は、燃焼を安定させることができる燃料電池システムを提供する点にある。
【課題を解決するための手段】
【0006】
上記目的を達成するための本発明に係る燃料電池システムの特徴構成は、
容器を有し、当該容器の内部に、アノード及びカソードを有する燃料電池セルが複数設けられたセルスタック、原燃料を水蒸気改質して燃料ガスを生成する改質部、前記改質部から前記アノードへ前記燃料ガスを供給する燃料ガス供給路、前記カソードへ酸化剤ガスを供給する酸化剤ガス供給路、前記セルスタックから排出されるアノードオフガス及びカソードオフガスを燃焼する燃焼部、前記セルスタックから排出されるアノードオフガスを前記燃焼部に供給するアノードオフガス供給路、前記セルスタックから排出されるカソードオフガスを前記燃焼部に供給するカソードオフガス供給路、及び、前記燃焼部で発生した燃焼排ガスを前記容器の外部へと導く燃焼排ガス路を有するホットモジュールと、
前記容器の外部から前記改質部へ前記原燃料を供給する原燃料供給部と、
前記容器の外部から前記セルスタックへ前記酸化剤ガスを供給する酸化剤ガス供給部と、
前記容器の外部から前記改質部へ改質用水を供給する改質用水供給部と、
前記燃焼排ガス路を流通する前記燃焼排ガスと冷媒とを熱交換して、前記燃焼排ガスを冷却する熱交換器と、を備える燃料電池システムであって、
前記原燃料供給部からの前記原燃料を、前記改質部及び前記セルスタックを迂回して前記アノードオフガス供給路に供給する原燃料バイパス路と、前記酸化剤ガス供給部からの前記酸化剤ガスを、前記セルスタックを迂回して前記カソードオフガス供給路に供給する酸化剤ガスバイパス路と、前記燃焼部からの前記燃焼排ガスを、前記熱交換器を迂回して前記燃焼排ガス路に供給する燃焼排ガスバイパス路とのうち、少なくとも一つを備える点にある。
【0007】
上記特徴構成によれば、原燃料及び/又は酸化剤ガスがセルスタックを迂回して燃焼部に供給される。あるいは、燃焼部から排出される燃焼排ガスが熱交換器を迂回して燃焼排ガス路に供給される。このため、燃焼部に供給されるガス、及び/又は、燃焼部から排出されるガスの圧力損失を低減することができ、燃焼部による燃焼を安定させることができる。
【0008】
本発明に係る燃料電池システムの別の特徴構成は、
前記原燃料を前記原燃料供給部から前記改質部へ供給する通常状態と前記原燃料を前記原燃料供給部から前記原燃料バイパス路へ供給するバイパス状態とに切換可能な原燃料切換部と、
前記酸化剤ガスを前記酸化剤ガス供給部から前記セルスタックへ供給する通常状態と前記酸化剤ガスを前記酸化剤ガス供給部から前記酸化剤ガスバイパス路へ供給するバイパス状態とに切換可能な酸化剤ガス切換部と、
前記燃焼排ガスを前記燃焼部から前記熱交換器へ供給する通常状態と前記燃焼排ガスを前記燃焼部から前記燃焼排ガスバイパス路へ供給するバイパス状態とに切換可能な燃焼排ガス切換部とのうち、少なくとも一つを備え、
前記原燃料切換部、前記酸化剤ガス切換部及び前記燃焼排ガス切換部の動作を制御する動作制御部を備える点にある。
【0009】
上記特徴構成によれば、原燃料切換部、酸化剤ガス切換部、及び燃焼排ガス切換部の少なくとも一つの動作を制御することにより、ガスルートを切換えることができ、燃焼部に供給されるガス、及び/又は、燃焼部から排出されるガスの圧力損失を低減することができ、燃焼部による燃焼を安定させることができる。
【0010】
本発明に係る燃料電池システムの別の特徴構成は、前記動作制御部は、前記セルスタックの起動時に、前記原燃料切換部、前記酸化剤ガス切換部及び前記燃焼排ガス切換部の少なくとも一つを前記バイパス状態に切換えて、前記燃焼部の内部に設けられた着火器を着火作動させる着火処理を行う点にある。
(【0011】以降は省略されています)
この特許をJ-PlatPat(特許庁公式サイト)で参照する
関連特許
大阪瓦斯株式会社
蓄電装置
1か月前
大阪瓦斯株式会社
給湯装置
7日前
大阪瓦斯株式会社
ガスコンロ
7日前
大阪瓦斯株式会社
衣類乾燥機
1か月前
大阪瓦斯株式会社
衣類乾燥機
1か月前
大阪瓦斯株式会社
衣類乾燥機
1か月前
大阪瓦斯株式会社
加熱調理器
1か月前
大阪瓦斯株式会社
フライヤー
4日前
大阪瓦斯株式会社
蓄電制御装置
11日前
大阪瓦斯株式会社
異常診断装置
18日前
大阪瓦斯株式会社
鮮度維持装置
17日前
大阪瓦斯株式会社
地中給電設備
17日前
大阪瓦斯株式会社
燃料電池装置
17日前
大阪瓦斯株式会社
異常診断装置
18日前
大阪瓦斯株式会社
異常診断装置
18日前
大阪瓦斯株式会社
異常診断装置
18日前
大阪瓦斯株式会社
異常診断装置
18日前
大阪瓦斯株式会社
異常診断装置
18日前
大阪瓦斯株式会社
異常診断装置
18日前
大阪瓦斯株式会社
異常診断装置
18日前
大阪瓦斯株式会社
異常診断装置
18日前
大阪瓦斯株式会社
住宅設備機器
1か月前
大阪瓦斯株式会社
通信システム
2か月前
大阪瓦斯株式会社
熱供給システム
7日前
大阪瓦斯株式会社
蓄電池管理装置
11日前
大阪瓦斯株式会社
故障予兆システム
19日前
大阪瓦斯株式会社
燃料電池システム
18日前
大阪瓦斯株式会社
樹脂積層フィルム
28日前
大阪瓦斯株式会社
燃料電池システム
1か月前
大阪瓦斯株式会社
燃料電池システム
11日前
大阪瓦斯株式会社
燃料電池システム
7日前
大阪瓦斯株式会社
燃焼制御システム
3日前
大阪瓦斯株式会社
燃料電池システム
7日前
大阪瓦斯株式会社
燃料電池システム
5日前
大阪瓦斯株式会社
熱電併給システム
3日前
大阪瓦斯株式会社
異常診断システム
3日前
続きを見る
他の特許を見る