TOP
|
特許
|
意匠
|
商標
特許ウォッチ
Twitter
他の特許を見る
公開番号
2025142989
公報種別
公開特許公報(A)
公開日
2025-10-01
出願番号
2024042652
出願日
2024-03-18
発明の名称
作業機械
出願人
ヤンマーホールディングス株式会社
代理人
弁理士法人 佐野特許事務所
主分類
E02F
9/26 20060101AFI20250924BHJP(水工;基礎;土砂の移送)
要約
【課題】運転座席の前方に操作ボックスが配置され、操作ボックスが左右一対の操作レバーを前後方向に揺動可能に支持する構成であっても、表示装置を見るときのオペレータの視界を良好に確保することができる作業機械を提供する。
【解決手段】作業機械は、運転座席の前方に配置され、上面から上方に突出する左右一対の操作レバーを前後方向に揺動可能に支持する操作ボックスを備える。操作ボックスは、上記上面に配置されて作業機械の状態を知らせる表示装置を有する。表示装置は、上記上面において、左右一対の操作レバーの各揺動領域の外側に配置されるとともに、左右の揺動領域に挟まれる中間領域に対して、左右方向の一方の側に配置される。
【選択図】図5
特許請求の範囲
【請求項1】
運転座席の前方に配置され、上面から上方に突出する左右一対の操作レバーを前後方向に揺動可能に支持する操作ボックスを備える作業機械であって、
前記操作ボックスは、前記上面に配置されて前記作業機械の状態を知らせる表示装置を有し、
前記表示装置は、前記上面において、前記左右一対の操作レバーの各揺動領域の外側に配置されるとともに、左右の前記揺動領域に挟まれる中間領域に対して、左右方向の一方の側に配置される、作業機械。
続きを表示(約 770 文字)
【請求項2】
前記表示装置は、前記左右一対の操作レバーの両方の支柱に対して、左右方向の前記一方の側に配置される、請求項1に記載の作業機械。
【請求項3】
前記表示装置は、前記上面に設けられた、前記左右一対の操作レバーの各支柱が通る両方の開口部に対して、左右方向の前記一方の側に配置される、請求項1に記載の作業機械。
【請求項4】
前記作業機械の原動機の目標回転数を設定するための操作具をさらに備え、
前記操作具は、前記上面において、前記中間領域に対して、左右方向の一方の側に配置される、請求項1に記載の作業機械。
【請求項5】
前記操作具は、前記上面において、前記中間領域に対して、左右方向における前記表示装置の配置側と同じ側に配置される、請求項4に記載の作業機械。
【請求項6】
前記表示装置は、前記操作具の隣に配置される、請求項5に記載の作業機械。
【請求項7】
前記操作ボックスの側部に配置され、前記作業機械を起動するための起動スイッチをさらに備え、
前記起動スイッチは、平面視で、前記操作具の隣に配置される、請求項5に記載の作業機械。
【請求項8】
警告時に点灯するランプをさらに備え、
前記ランプは、前記操作ボックスの前記上面において、前記操作具の後方に配置される、請求項7記載の作業機械。
【請求項9】
前記ランプは、前記起動スイッチによって前記作業機械を起動した後、前記運転座席のシートベルトが非装着であるときに点灯する、請求項8に記載の作業機械。
【請求項10】
前記操作具は、ダイヤルである、請求項4に記載の作業機械。
(【請求項11】以降は省略されています)
発明の詳細な説明
【技術分野】
【0001】
本発明は、作業機械に関する。
続きを表示(約 1,600 文字)
【背景技術】
【0002】
例えば特許文献1には、作業機械の一例として、モータグレーダが開示されている。上記モータグレーダでは、ハンドルポストが運転床の前端部中央に立設される。ハンドルポストは、モニタパネルと、ハンドルとを有する。ハンドルは、ハンドルポストの上部正面にあり、モニタパネルの下方隣接位置から手前に突設される。
【先行技術文献】
【特許文献】
【0003】
特開平11-158923号公報
【発明の概要】
【発明が解決しようとする課題】
【0004】
特許文献1のモータグレーダでは、運転座席の前方に配置されるハンドルポストにおいて、ハンドルに対して左右方向の中央前方に、モニタパネルが配置される。このため、特許文献1におけるハンドルとモニタパネルとの位置関係を、運転座席の前方に配置される操作ボックスにおいて、(回転するハンドルの代わりに)前後方向に揺動する左右一対の操作レバーを支持する作業機械にそのまま適用すると、モニタパネルを見るときのオペレータの視界が、前後方向に揺動する操作レバーによって妨げられるおそれがある。
【0005】
本発明は、上記の問題点を解決するためになされたものであり、その目的は、運転座席の前方に配置される操作ボックスが、左右一対の操作レバーを前後方向に揺動可能に支持する構成であっても、表示装置を見るときのオペレータの視界を良好に確保することができる作業機械を提供することにある。
【課題を解決するための手段】
【0006】
本発明の一側面に係る作業機械は、運転座席の前方に配置され、上面から上方に突出する左右一対の操作レバーを前後方向に揺動可能に支持する操作ボックスを備える作業機械であって、前記操作ボックスは、前記上面に配置されて前記作業機械の状態を知らせる表示装置を有し、記表示装置は、前記上面において、前記左右一対の操作レバーの各揺動領域の外側に配置されるとともに、左右の前記揺動領域に挟まれる中間領域に対して、左右方向の一方の側に配置される。
【発明の効果】
【0007】
運転座席の前方に操作ボックスが配置され、操作ボックスが左右一対の操作レバーを前後方向に揺動可能に支持する構成であっても、表示装置を見るときのオペレータの視界を良好に確保することができる。
【図面の簡単な説明】
【0008】
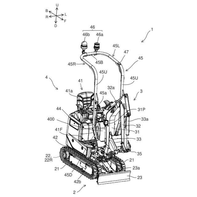
本発明の実施の一形態に係る作業機械の一例である油圧ショベルの概略の構成を示す側面図である。
上記油圧ショベルを斜め前方から見たときの斜視図である。
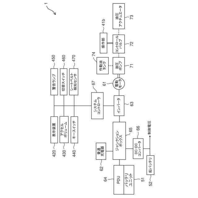
上記油圧ショベルの電気系および油圧系の構成を模式的に示すブロック図である。
上記油圧ショベルが備える操作ボックスを斜め後方から見たときの斜視図である。
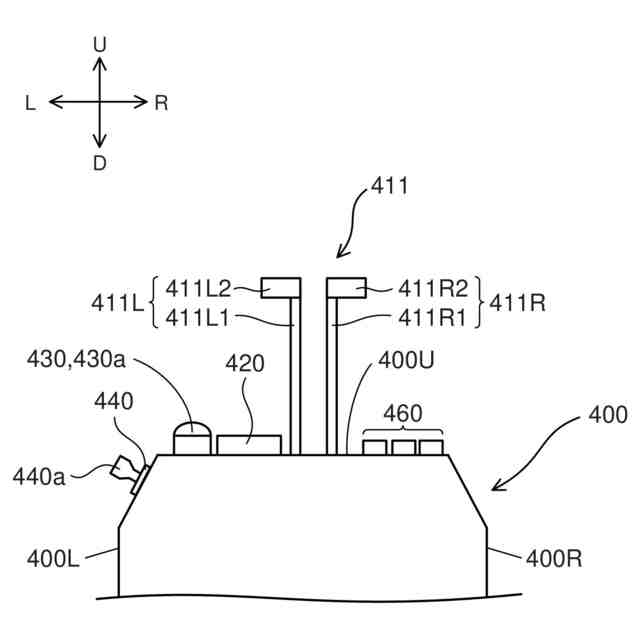
上記操作ボックスを上方から見たときの模式的な平面図である。
上記操作ボックスを後方から見たときの模式的な背面図である。
上記操作ボックスの表示装置を拡大して示す模式的な平面図である。
【発明を実施するための形態】
【0009】
本発明の実施の形態について、図面に基づいて説明すれば、以下の通りである。
【0010】
〔1.作業機械〕
図1は、本実施形態の電動式の作業機械の一例である油圧ショベル(電動ショベル)1の概略の構成を示す側面図である。図2は、油圧ショベル1を斜め前方から見たときの斜視図である。油圧ショベル1は、下部走行体2と、作業機3と、上部旋回体4と、を備える。なお、以下では、上部旋回体4のことを、「機体」と称する場合がある。
(【0011】以降は省略されています)
この特許をJ-PlatPat(特許庁公式サイト)で参照する
関連特許
個人
鋼管
14日前
FKS株式会社
擁壁
3日前
株式会社クボタ
作業車
1日前
株式会社クボタ
作業車
1日前
株式会社奥村組
ケーソン工法
6日前
個人
擁壁用ブロックおよび擁壁
今日
株式会社武井工業所
積みブロック
23日前
株式会社大林組
建物の構造
今日
株式会社奥村組
ケーソン刃口金物
6日前
株式会社大林組
袋体付き排水パイプ
13日前
株式会社大林組
袋体付き排水パイプ
13日前
株式会社熊谷組
密度計測方法
1日前
ヤンマーホールディングス株式会社
作業機械
1か月前
日立建機株式会社
作業機械
21日前
ヤマト発動機株式会社
浮遊型消波装置
3日前
大和ハウス工業株式会社
杭抜き先端具
7日前
日立建機株式会社
作業機械
3日前
ゼニヤ海洋サービス株式会社
通船ゲート
13日前
株式会社地盤改良堀田
基礎杭の設置方法
1か月前
有限会社冨永総業
キャンプ用ペグ抜きハンマー
1か月前
住友金属鉱山株式会社
タンク設置用基礎
1か月前
鹿島建設株式会社
接続方法および接続構造
13日前
株式会社フジタ
掘削機
22日前
JFEスチール株式会社
鋼管矢板の継手構造
3日前
有限会社 櫂設計事務所
掘削・撹拌具
29日前
株式会社フジタ
建築物とその施工方法
13日前
JFEスチール株式会社
鋼管矢板の継手構造
15日前
JFEスチール株式会社
鋼管矢板の継手構造
15日前
株式会社大林組
建物の構築方法及び建物
13日前
株式会社武井工業所
積みブロック用基礎ブロック
23日前
日本車輌製造株式会社
建設機械の組立方法
1か月前
個人
日本列島都市防災設備又は日本列島大都市防災設備
1か月前
株式会社熊谷組
杭頭処理構造、杭頭処理方法
3日前
株式会社小松製作所
作業機械
23日前
日立建機株式会社
作業機械
7日前
日本コンクリート工業株式会社
堤防の補強構造
13日前
続きを見る
他の特許を見る