TOP
|
特許
|
意匠
|
商標
特許ウォッチ
Twitter
他の特許を見る
公開番号
2025123704
公報種別
公開特許公報(A)
公開日
2025-08-25
出願番号
2024019321
出願日
2024-02-13
発明の名称
タンク設置用基礎
出願人
住友金属鉱山株式会社
代理人
個人
主分類
E02D
27/38 20060101AFI20250818BHJP(水工;基礎;土砂の移送)
要約
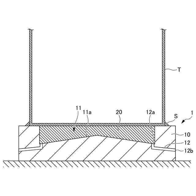
【課題】タンクの破損を容易に発見することのできるタンク設置用基礎を提供する。
【解決手段】液体を貯留するタンクTが設置される基礎本体10を備えたタンク設置用基礎1であって、基礎本体10は、タンクTから漏洩した液体を、高さの差を利用して外周部に流通させる液体流通構造(傾斜底11a、連通路12)を有している。これにより、タンクTから液体が漏洩した場合に、漏洩した液体が基礎本体10の外周部まで流通することになるため、タンクTの破損を発見するための専用の検査を行ったり、液面高さを検知する装置をタンクTに取り付けたりする必要がなく、破損したタンクTを容易に発見することが可能となる。
【選択図】図1
特許請求の範囲
【請求項1】
液体を貯留するタンクが設置される基礎本体を備えたタンク設置用基礎であって、
前記基礎本体は、前記タンクから漏洩した液体を、高さの差を利用して外周部に流通させる液体流通構造を有している
タンク設置用基礎。
続きを表示(約 450 文字)
【請求項2】
前記基礎本体の上面における、タンクの底面の外周部側を除く部分に対向する部分には、タンクから漏洩した液体を受容する凹部が形成され、
前記凹部には、砂状部材が充填されている
請求項1に記載のタンク設置用基礎。
【請求項3】
前記液体流通構造は、前記凹部の中央部から外周部側に向かって下り傾斜となる傾斜底と、前記凹部の外周部側と前記基礎本体の外周部側とを連通する連通路と、を有している
請求項2に記載のタンク設置用基礎。
【請求項4】
前記傾斜底には、下り傾斜の方向に延在し、前記タンクから漏洩した液体を前記連通路の液体流入口に向かって案内する案内溝が形成されている
請求項3に記載のタンク設置用基礎。
【請求項5】
前記液体流通構造は、前記基礎本体の上面側において中央部側から外周部側に向かって下り傾斜となる溝底が形成された複数の液体流通溝を有している
請求項1に記載のタンク設置用基礎。
発明の詳細な説明
【技術分野】
【0001】
本発明は、液体を貯留するタンクが設置されるタンク設置用基礎に関するものである。
続きを表示(約 1,100 文字)
【背景技術】
【0002】
液体を貯留するタンクは、屋外に設置する場合に、地面に鉄筋コンクリート構造の基礎を設置し、基礎の上面に設置される(例えば、特許文献1参照)。
【0003】
タンクは、雨水等の水分によって腐食して破損した場合に、貯留している液体が漏洩することになる。このため、タンクに破損が生じた場合には、タンクの補修を行ったり、タンク自体を交換したりする必要がある。
【先行技術文献】
【特許文献】
【0004】
特開平11-189294号公報
【発明の概要】
【発明が解決しようとする課題】
【0005】
そこで、タンクの破損を発見する方法としては、タンクから液体を排出し、液体を排出した後のタンクの破損の有無を直接的に検査する方法が考えられる。しかし、液体を排出した後のタンクを直接的に検査する方法は、タンクから液体を排出してタンクの破損の有無の検査を行った後、再度液体をタンク内に液体を戻すことが必要となるため、検査のために必要な作業が煩雑となる。
【0006】
また、タンクの破損を発見する他の方法としては、タンク内の液体の液面高さを検知する専用の装置をタンク内に設置し、専用の装置によって検知した液体の液面高さの変化量に基づいてタンク内の液体の漏洩の有無を検知し、検知した液体の漏洩の有無に基づいてタンクの破損の判定を行う方法が考えられる。しかし、専用の装置によってタンク内の液面高さを検知する方法は、タンク毎に専用の装置を設置する必要があるため、専用の装置を設置するために必要なコストが高くなることになる。
【0007】
本発明の目的とするところは、タンクの破損を容易に発見することのできるタンク設置用基礎を提供することにある。
【課題を解決するための手段】
【0008】
本発明のタンク設置用基礎は、液体を貯留するタンクが設置される基礎本体を備えたタンク設置用基礎であって、前記基礎本体は、前記タンクから漏洩した液体を、高さの差を利用して外周部に流通させる液体流通構造を有している。
【0009】
また、本発明のタンク設置用基礎は、前記基礎本体の上面における、タンクの底面の外周部側を除く部分に対向する部分に、タンクから漏洩した液体を受容する凹部が形成され、前記凹部に、砂状部材が充填されている、ことが好ましい。
【0010】
また、本発明のタンク設置用基礎は、前記液体流通構造が、前記凹部の中央部から外周部側に向かって下り傾斜となる傾斜底と、前記凹部の外周部側と前記基礎本体の外周部側とを連通する連通路と、を有している、ことが好ましい。
(【0011】以降は省略されています)
この特許をJ-PlatPat(特許庁公式サイト)で参照する
関連特許
FKS株式会社
擁壁
16日前
鈴健興業株式会社
敷板部材
12日前
株式会社クボタ
作業車
14日前
株式会社クボタ
作業車
14日前
個人
擁壁用ブロックおよび擁壁
13日前
株式会社ネクステリア
平板基礎
12日前
株式会社大林組
建物の構造
13日前
株式会社熊谷組
地盤改良方法
8日前
株式会社熊谷組
密度計測方法
14日前
株式会社熊谷組
山留壁用親杭
5日前
日立建機株式会社
作業機械
5日前
日立建機株式会社
作業機械
5日前
日立建機株式会社
建設機械
6日前
日立建機株式会社
作業機械
5日前
日立建機株式会社
作業機械
6日前
日立建機株式会社
建設機械
6日前
日立建機株式会社
建設機械
12日前
日立建機株式会社
作業機械
16日前
日立建機株式会社
作業車両
1日前
日本車輌製造株式会社
建設機械
1日前
鹿島建設株式会社
接続方法および接続構造
1日前
ライト工業株式会社
鉄筋保持用治具
6日前
カナデビア株式会社
サクション基礎
6日前
株式会社竹内製作所
作業用車両
5日前
JFEスチール株式会社
鋼管矢板の継手構造
6日前
JFEスチール株式会社
鋼管矢板の継手構造
16日前
株式会社竹内製作所
作業用車両
5日前
日立建機株式会社
電動式作業機械
12日前
株式会社竹内製作所
作業用車両
5日前
株式会社竹内製作所
作業用車両
5日前
山形新興株式会社
建築物の基礎及び基礎成形型
今日
株式会社日立建機ティエラ
建設機械
7日前
清水建設株式会社
遮水層の構築方法
5日前
浙江工業大学
多機能土柱モデル装置及び使用方法
12日前
コベルコ建機株式会社
施工システム
5日前
清水建設株式会社
免震装置の基礎構造
6日前
続きを見る
他の特許を見る