TOP
|
特許
|
意匠
|
商標
特許ウォッチ
Twitter
他の特許を見る
公開番号
2025143943
公報種別
公開特許公報(A)
公開日
2025-10-02
出願番号
2024043471
出願日
2024-03-19
発明の名称
建物の構造
出願人
株式会社大林組
代理人
個人
,
個人
主分類
E02D
27/34 20060101AFI20250925BHJP(水工;基礎;土砂の移送)
要約
【課題】地上1階における免震性を高めるための建物の構造を提供する。
【解決手段】免震装置25を備えた建物の構造は、地盤に埋められた各杭11の杭頭に接合されて地表面上に配置された複数の下部基礎12を備える。更に、建物の構造は、下部基礎12に設置された免震装置25に支持される地上2階F2の上層床構造を構成するスラブ20と、地上2階の上層床構造に吊り下げられた地上1階F1の下層床構造と、を備える。
【選択図】図2
特許請求の範囲
【請求項1】
免震装置を備えた建物の構造であって、
地盤に埋められた各杭の杭頭に接合されて地表面上に配置された複数の下部基礎と、
前記下部基礎に設置された前記免震装置に支持される地上2階の上層床構造と、
前記上層床構造に吊り下げられた地上1階の下層床構造と、を備えることを特徴とする建物の構造。
続きを表示(約 420 文字)
【請求項2】
前記下層床構造には、前記上層床構造に続く階段が固定され、
前記地上1階に、前記階段に対応するエントランスが設けられていることを特徴とする請求項1に記載の建物の構造。
【請求項3】
前記地上1階における前記建物の外壁構造は、前記下部基礎同士を接合する基礎梁と、前記下層床構造に通じるエントランスの開口部が形成された外壁と、を備えることを特徴とする請求項1に記載の建物の構造。
【請求項4】
前記建物は、相互に独立した複数のブロックを備え、
前記ブロックは、複数の前記下部基礎と、前記下部基礎同士を連結する基礎梁と、によって、平面視において四角枠形状に構成され、
前記下部基礎は、基礎スラブのない地表面に配置され、
前記下層床構造は、平面視において前記四角枠形状を有した1つの前記ブロックの中に配置されることを特徴とする請求項1~3の何れか一項に記載の建物の構造。
発明の詳細な説明
【技術分野】
【0001】
本開示は、免震装置を備えた建物の構造に関する。
続きを表示(約 1,500 文字)
【背景技術】
【0002】
地震が発生しても建物が損壊しないように、杭頭部分に免震装置を配置した建物が設計されている(例えば、特許文献1参照。)。この特許文献1に記載の既存構造物の免震化工法では、既存の基礎梁の上面の位置において基礎梁と地上階の躯体である上部構造体とを切り離す。そして、上部構造体の最下部に最下階の床梁を新設し、上部構造体と既存基礎梁との間に免震装置を介装する。更に、必要に応じて上部構造体の全体を改修前より嵩上げして最下階の階高を確保する。
【先行技術文献】
【特許文献】
【0003】
特開平11-13290号公報
【発明の概要】
【発明が解決しようとする課題】
【0004】
この特許文献1に記載の技術においては、地表面上に露出した下部基礎の上に免震装置が固定されるとともに、免震装置上で建物の1階の床が支持されている。このような建物の構成において、建物の1階の床を高い位置に設けた場合、地表面上からの階段が必要になる。この階段を建物内で地上1階(下層階)に設けるとともに、建物の1階を地上2階とした場合、階段における免震や地上1階の安全基準を考慮した構成が必要になる。
【課題を解決するための手段】
【0005】
上記課題を解決する建物の構造は、免震装置を備えた建物の構造であって、地盤に埋められた各杭の杭頭に接合されて地表面上に配置された複数の下部基礎と、前記下部基礎に設置された前記免震装置に支持される地上2階の上層床構造と、前記上層床構造に吊り下げられた地上1階の下層床構造と、を備える。
【発明の効果】
【0006】
本発明によれば、地上1階の下層床構造の免震性を高めることができる。
【図面の簡単な説明】
【0007】
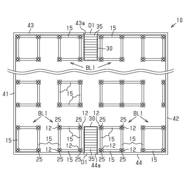
実施形態における建物の地上1階部分を説明する平面図である。
実施形態における建物の要部の縦断面図である。
図2における3-3線方向断面図である。
【発明を実施するための形態】
【0008】
以下、図1~図3を用いて、建物の構造を具体化した一実施形態を説明する。ここでは、柔らかい液状化(軟弱化)するおそれのある地盤に構築される建物の構成について説明する。
【0009】
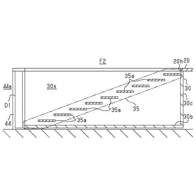
図1は、建物10の地上1階の平面図であり、図2は、建物10の要部の縦断面図であり、図3は、図2における3-3線方向の断面図である。
図2に示すように、建物10は、地盤G1に埋設された複数の杭11を備え、この杭11によって支持される。地表面と、建物10の上層階のスラブ20との間には、所定の間隔を空けた空間に免震ピットが設けられている。この免震ピットは、本実施形態では、建物10の地上1階F1の空間であって、例えば高さが約5mの空間である。
【0010】
地上1階F1には、杭11の上部(杭頭)に接合された下部基礎(パイルキャップなど)12が設けられている。本実施形態では、下部基礎12の下端部は、地盤G1に埋設されている。各下部基礎12の上には、免震装置25がそれぞれ1つずつ設置される。この免震装置25として、積層ゴム支承を用いる。これら免震装置25は、上部基礎21及び上部基礎21に接合された柱連結梁を介して、建物10のスラブ20を支持している。スラブ20及び柱連結梁は、上部床構造を構成する。
(【0011】以降は省略されています)
この特許をJ-PlatPat(特許庁公式サイト)で参照する
関連特許
株式会社大林組
建物
3か月前
株式会社大林組
加泥材
2か月前
株式会社大林組
飛込み台
23日前
株式会社大林組
基礎構造
1か月前
株式会社大林組
接合構造
11日前
株式会社大林組
測定方法
23日前
株式会社大林組
減衰装置
2か月前
株式会社大林組
接続構造
2か月前
株式会社大林組
減衰装置
2か月前
株式会社大林組
免震建築物
1か月前
株式会社大林組
仮設建築物
23日前
株式会社大林組
建物の構造
10日前
株式会社大林組
ルーバー構造
1か月前
株式会社大林組
耐火被覆構造
2か月前
株式会社大林組
土壌改良方法
2か月前
株式会社大林組
耐火被覆構造
1か月前
株式会社大林組
耐火被覆構造
2か月前
株式会社大林組
監視システム
1か月前
株式会社大林組
空調システム
1か月前
株式会社大林組
建物の躯体構造
1か月前
株式会社大林組
積層材成型方法
2か月前
株式会社大林組
床板の設置方法
23日前
株式会社大林組
シャッター装置
2か月前
株式会社大林組
建物の躯体構造
1か月前
株式会社大林組
可搬式充電設備
10日前
株式会社大林組
リフトアップ装置
24日前
株式会社大林組
地震損失評価方法
2か月前
株式会社大林組
日射遮蔽発電装置
1か月前
株式会社大林組
リフトアップ装置
24日前
株式会社大林組
作業支援システム
1か月前
株式会社大林組
安全支援システム
1か月前
株式会社大林組
鋼矢板の圧入方法
9日前
株式会社大林組
袋体付き排水パイプ
23日前
株式会社大林組
建築物及び建築方法
24日前
株式会社大林組
建築方法及び建築物
2か月前
株式会社大林組
梁段差部の仕口構造
1か月前
続きを見る
他の特許を見る