TOP
|
特許
|
意匠
|
商標
特許ウォッチ
Twitter
他の特許を見る
10個以上の画像は省略されています。
公開番号
2025143296
公報種別
公開特許公報(A)
公開日
2025-10-01
出願番号
2025097531,2023534644
出願日
2025-06-11,2021-12-08
発明の名称
移載デバイス
出願人
インターロール ホールディング アクツィエンゲゼルシャフト
,
Interroll Holding AG
代理人
弁理士法人北青山インターナショナル
主分類
B65G
47/46 20060101AFI20250924BHJP(運搬;包装;貯蔵;薄板状または線条材料の取扱い)
要約
【課題】他のコンベヤラインとともに柔軟に使用できる移載デバイスを提供する。
【解決手段】移載デバイスは上流の搬送セクション10aから搬送物9を受け取り領域26aで受け取り、搬送方向FRに特に搬送面FEにおいて、搬送領域26f内で少なくとも一時的に搬送物を搬送し、かつ搬送方向に対して横方向に配置された移載領域の方向に搬送物を選択的に移載するように構成されている。移載デバイスは複数のベルトキャリッジ21を備え、ベルトキャリッジは少なくとも一時的に特に搬送領域において搬送方向に移動するように、ガイド23に沿って周方向に配置されており、ベルトキャリッジは搬送ベルト24を含み、搬送ベルトは搬送物のための支持面241を少なくとも一時的に形成し、搬送ベルトは搬送物の選択的な横方向の移載のために特に搬送方向に対して直交する横方向に、同時に搬送面に対して平行に選択的に移動可能となっている。
【選択図】図6
特許請求の範囲
【請求項1】
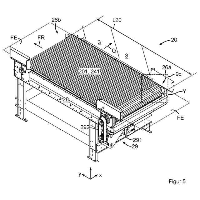
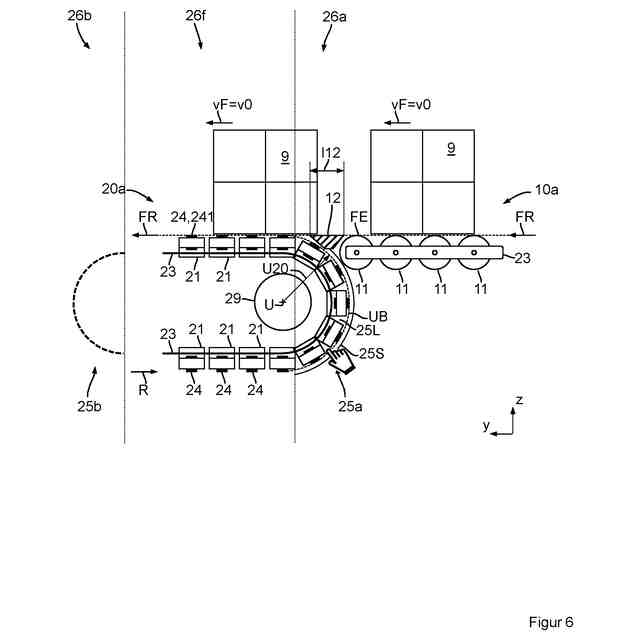
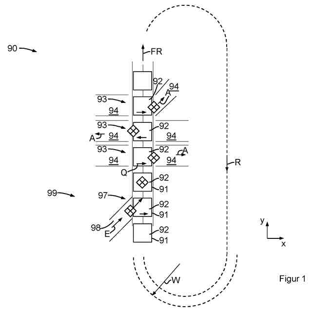
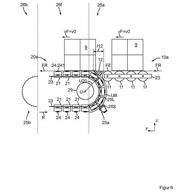
移載デバイス(20)であって、
-受け取り領域(26a)で上流の搬送セクション(10a)から搬送物(9)を受け取り、
-搬送方向(FR)に、特に搬送面(FE)において、搬送領域(26f)内で少なくとも一時的に搬送物(9)を搬送し、かつ、
-搬送方向に対して横方向に配置された移載領域(3)の方向に、搬送物(9)を選択的に移載するように構成されており、
当該移載デバイス(20)は、
複数のベルトキャリッジ(21)を備え、それらベルトキャリッジが、少なくとも一時的に、特に搬送領域(26f)において、搬送方向(FR)に移動するように、ガイド(23)に沿って周方向に配置されており、
前記ベルトキャリッジが、搬送ベルト(24)を含み、
前記搬送ベルト(24)が、搬送物(9)のための支持面(241)を少なくとも一時的に形成し、
前記搬送ベルト(24)が、搬送物(9)の選択的な横方向の移載のために、搬送方向(FR)に対して直交する横方向(Q)に、特にかつ同時に搬送面(FE)に対して平行に、選択的に移動可能であることを特徴とする移載デバイス。
続きを表示(約 2,000 文字)
【請求項2】
先行する請求項に記載の移載デバイスにおいて、
当該移載デバイス(20)が、さらに、
-搬送方向(FR)の下流にありかつ搬送面(FE)に配置されたコンベヤライン(10b)に、引き渡し領域(26b)で移載されなかった搬送物(9)を引き渡すように構成されていることを特徴とする移載デバイス。
【請求項3】
先行する請求項の何れか一項に記載の移載デバイスにおいて、
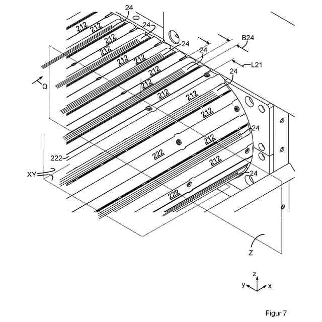
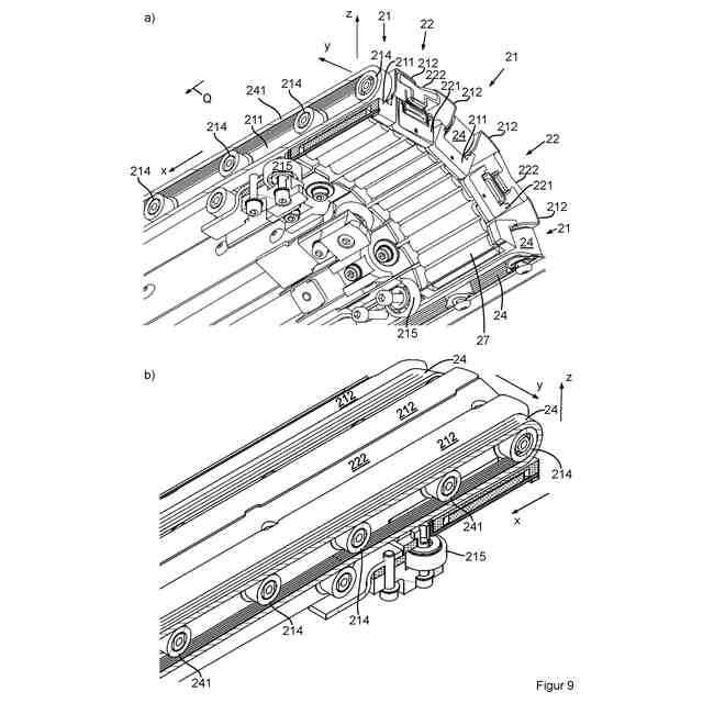
前記ベルトキャリッジ(21)が、進行方向(FR)において、最大120mm、特に最大100mm、特に最大60mmである延長量(L21)を有することを特徴とする移載デバイス。
【請求項4】
先行する請求項の何れか一項に記載の移載デバイスにおいて、
前記ベルトキャリッジ(21)および/または前記搬送ベルト(24)が、横方向(QR)に少なくとも400mm、特に600mm、および/または最大1500mmの延長量(X21、X24)を有することを特徴とする移載デバイス。
【請求項5】
先行する請求項の何れか一項に記載の移載デバイスにおいて、
前記搬送ベルト(24)の進行方向の幅(B24)が、最大100mm、特に最大60mm、特に約16mmであり、
特に、搬送方向に見た搬送ベルト(24)の幅(B24)が、前記ベルトキャリッジ(21)の延長量(L21)よりも小さいことを特徴とする移載デバイス。
【請求項6】
先行する請求項の何れか一項に記載の移載デバイスにおいて、
前記ベルトキャリッジ(21)が、進行方向(FR)におけるベルトキャリッジ(21)の延長量(L21)の倍数、特に少なくとも3倍である横方向(Q)の延長量(X21)を有し、かつ/または、
前記搬送ベルト(24)が、進行方向(FR)における搬送ベルト(24)の延長量(B24)の倍数、特に少なくとも3倍である横方向(Q)の延長量(X24)を有することを特徴とする移載デバイス。
【請求項7】
先行する請求項の何れか一項に記載の移載デバイスにおいて、
進行方向(FR)において搬送領域(26f)の上流および/または下流に配置されたベルトキャリッジ(21)が、下方に変位し、前記ベルトキャリッジ(21)の支持面(241)が、下方に湾曲した循環経路(UB)に沿って移動可能であり、
前記循環経路が、少なくとも部分的に、最大250mm、特に最大150mmの偏向半径(U20)を有することを特徴とする移載デバイス。
【請求項8】
先行する請求項の何れか一項に記載の移載デバイスにおいて、
前記搬送ベルト(24)が駆動プーリ(312)によって駆動され、前記搬送ベルト(24)が前記支持面(241)と前記駆動プーリ(312)との間でねじられるように、前記搬送ベルト(24)が前記ベルトキャリッジ(21)上で案内され、特に、
-前記ベルトキャリッジが搬送領域(26f)に配置されている間、前記駆動プーリ(312)が、搬送方向に対して直交するように向けられた駆動軸(A312)を中心に回転可能に取り付けられ、かつ/または、
-前記ベルトキャリッジが搬送領域(26f)に配置されている間、前記搬送ベルトの上側ラン(24o)を案内するためのベルトローラ(214a)が、搬送方向(FR)に平行に整列され、かつ/または、
-従動プーリ(311)が、固定制御フラップ(313)により選択的に駆動可能であることを特徴とする移載デバイス。
【請求項9】
先行する請求項の何れか一項に記載の移載デバイスにおいて、
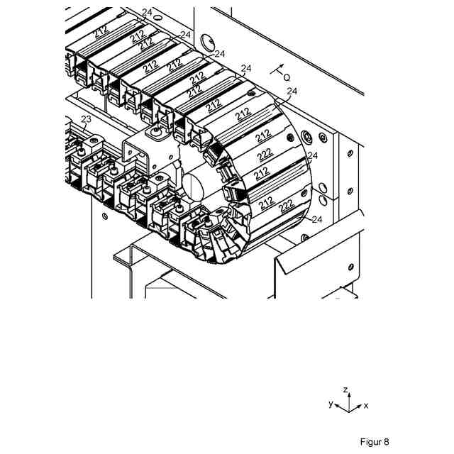
2つの隣接するベルトキャリッジ(24)の間にギャップ(25L)が特に一時的に形成され、このギャップが、前記搬送領域(26f)と比較して、偏向領域(25)において拡大されるように設計されており、
前記ギャップ(25L)が、特に、ギャップへの搬送物の少なくとも部分的な侵入が防止されるように、中間面(222)によって、前記偏向領域(25)において少なくとも部分的に覆われることを特徴とする移載デバイス。
【請求項10】
先行する請求項に記載の移載デバイスにおいて、
前記ベルトキャリッジが前記搬送領域(26f)に配置されているときに、前記中間面(222)と前記ベルトキャリッジとが部分的に重なり合い、
特に、前記中間面(222)が前記搬送領域(26f)に配置されているときに、重なりの程度がより大きく、前記中間面(222)が前記偏向領域(25)に配置されているときに、重なりの程度がより小さくなることを特徴とする移載デバイス。
(【請求項11】以降は省略されています)
発明の詳細な説明
【技術分野】
【0001】
本発明は、移載デバイスに関する。
続きを表示(約 1,800 文字)
【背景技術】
【0002】
WO2020/025329A1には、水平ソータとして構成されたクロスベルトソータが開示されている。このクロスベルトソータは、進行方向に前後に配置された複数のコンベヤキャリッジを備える。各コンベヤキャリッジは、搬送物を載せることができるクロスベルトを含む。クロスベルトは、横方向に移動可能であり、進行方向に対して横方向に整列されている。搬送物を選別するために、クロスベルトは選択的に駆動され、それにより搬送物は、搬送方向から見て横方向に加速され、コンベヤキャリッジから下方に移載(排出)される。そのようなクロスベルトソータは、搬送速度が速くても搬送物を正確に移載できることを特徴としている。そのようなクロスベルトソータは、100平方メートルを超える面積を必要とする大型の設備である。
【0003】
搬送物をクロスベルトソータに供給する(送り込む)には、通常、サイドフィーダ(いわゆるインフィード)が使用され、これが、クロスベルトソータの搬送方向に対して鋭角に搬送物をクロスベルトソータに案内する。代替的には、搬送物を上方からコンベヤキャリッジ上に落とす、いわゆるトップローダを使用することも可能である。
【0004】
DE20201204830U1には、垂直ソータとして構成されたクロスベルトソータが開示されている。コンベヤキャリッジは、搬送物の搬送面の鉛直下方の面内で戻される。垂直ソータに載せられたすべての搬送物は、後端の手前で横方向に移載されるか、または最後尾の収集ステーションで収集される。垂直方向の向きの変化により、水平ソータとは異なり、搬送物を巡回路の始点に戻すことはできない。垂直ソータのコンベヤキャリッジは、水平ソータと同様のサイズであり、大きな偏向半径を必要とする。
【0005】
クロスベルトソータのコンベヤキャリッジは、搬送物を完全に収容できるような寸法になっている。そのため、搬送方向の一般的な長さは50~100cmである。コンベヤキャリッジのサイズとそれに付随するコンベヤキャリッジの偏向半径により、クロスベルトソータの設置には大きなスペースが必要である。さらに、クロスベルトソータへのアクセスは、移動するキャリッジで怪我をするリスクを避けるために、フェンスによって広く保護する必要がある。
【0006】
モジュール式ベルトコンベヤラインやローラコンベヤラインの途中で、物品を移載するための高価なクロスベルトソータを用意する必要はない。「Interroll High Performance Divert 8711」および「Interroll Transfer RM 8731」という名称で市販されているソリューションは、ベルトコンベヤまたはローラコンベヤラインに続いて、または複数のコンベヤライン間に、1または複数の移載ステーションを設置する場合に適している。
【0007】
「Interroll Transfer RM 8731」では、搬送物は、移載中に搬送方向に完全に減速され、その後、搬送方向と直交する移載方向に加速される。
【0008】
「Interroll Transfer RM 8731」および「Interroll High Performance Divert 8711」はともに、クロスベルトソータの搬送速度より非常に低い搬送速度でしか動作させることができない。
【0009】
上述したソリューションは、ローラコンベヤラインまたはベルトコンベヤラインでモジュール式に使用することができる。このような移載ユニットの利点は、クロスベルトソータとは対照的に、特に、物品を搬送面内で移載デバイス上に供給できることである。また、コンパクトな移載ユニットの搬送方向のすぐ下流に、別のローラコンベヤラインまたはベルトコンベヤラインを配置することもでき、それを介して、移載されなかった搬送物を次のステーションに簡単に搬送することができる。
【発明の概要】
【0010】
本発明の目的は、特に他のコンベヤラインとともに柔軟に使用できる改良された移載デバイスを提供することである。特に、移載デバイスは、クロスベルトソータに匹敵する性能を有しながらも、設置スペースと労力が著しく少なく、結果として大幅に安価になる。
(【0011】以降は省略されています)
この特許をJ-PlatPat(特許庁公式サイト)で参照する
関連特許
個人
箱
11か月前
個人
ゴミ箱
11か月前
個人
収容箱
2か月前
個人
コンベア
4か月前
個人
ゴミ収集器
6か月前
個人
段ボール箱
6か月前
個人
容器
8か月前
個人
段ボール箱
6か月前
個人
土嚢運搬器具
7か月前
個人
楽ちんハンド
4か月前
個人
パウチ補助具
11か月前
個人
バンド
1か月前
個人
宅配システム
6か月前
個人
角筒状構造体
4か月前
個人
閉塞装置
9か月前
個人
廃棄物収容容器
1か月前
個人
包装容器
16日前
個人
お薬の締結装置
5か月前
個人
コード類収納具
7か月前
株式会社コロナ
梱包材
4か月前
個人
ゴミ処理機
8か月前
個人
貯蔵サイロ
6か月前
個人
蓋閉止構造
3か月前
株式会社和気
包装用箱
8か月前
個人
蓋閉止構造
3か月前
個人
積み重ね用補助具
2か月前
個人
把手付米袋
3か月前
三甲株式会社
蓋体
7か月前
株式会社KY7
封止装置
2か月前
三甲株式会社
容器
5か月前
三甲株式会社
容器
5か月前
個人
包装箱
9か月前
株式会社新弘
容器
2か月前
個人
コード折り畳み器具
3か月前
個人
輸送積荷用動吸振器
5か月前
株式会社イシダ
包装装置
11か月前
続きを見る
他の特許を見る