TOP
|
特許
|
意匠
|
商標
特許ウォッチ
Twitter
他の特許を見る
10個以上の画像は省略されています。
公開番号
2025143803
公報種別
公開特許公報(A)
公開日
2025-10-02
出願番号
2024043242
出願日
2024-03-19
発明の名称
電気光学装置および電子機器
出願人
セイコーエプソン株式会社
代理人
個人
,
個人
,
個人
主分類
G02F
1/1345 20060101AFI20250925BHJP(光学)
要約
【課題】電源が遮断されても、不純物が表示領域に戻ることを抑える。
【解決手段】電気光学装置の素子基板12は、平面視で、表示領域A1とシール材との間の非表示領域A3に設けられた基部137と、基部137に設けられた中部134および上部133eと、素子基板12において、平面視で、基部137を避けて設けられ、中部134および上部133eとは非接触のシールド電極133fと、を含む。中部134および上部133eの一部は、断面視で、基部137からせり出したオーバーハング構造である。
【選択図】図7
特許請求の範囲
【請求項1】
互いに対向配置され、シール材を介して貼り合わされた第1基板および第2基板と、
前記第1基板と前記第2基板との間で挟持された液晶層と、
前記第1基板の表示領域において、前記第1基板の前記第2基板側に設けられた画素電極と、
前記第2基板の前記第1基板側において、前記画素電極に対向して設けられた対向電極と、
前記第1基板の前記第2基板側において、平面視で、前記表示領域と前記シール材との間の非表示領域のうちの一部に設けられた基部と、
前記基部の前記第2基板側に設けられた第1電極と、
前記第1基板の前記第2基板側において、平面視で、前記非表示領域のうち、前記基部と重ならない位置に設けられ、前記第1電極と電気的に絶縁され、第1電位が印加された第2電極と、
を含み、
前記第1電極の一部は、断面視で、前記基部からせり出し、
前記第1基板の法線方向において、前記基部からせり出した前記第1電極の前記第1基板側の面は、前記第2電極の前記第2基板側の面よりも前記第2基板側に位置する
電気光学装置。
続きを表示(約 460 文字)
【請求項2】
前記第1電極は、電気的にフローティング状態である
請求項1に記載の電気光学装置。
【請求項3】
前記第1電極は、前記第1電位とは異なる電位が印加された
請求項1に記載の電気光学装置。
【請求項4】
前記第1電極および前記第2電極は、同じ材料から構成される
請求項1に記載の電気光学装置。
【請求項5】
前記第1電極および前記第2電極は、透明性を有する
請求項4に記載の電気光学装置。
【請求項6】
平面視で、前記表示領域と前記第2電極が設けられた領域との間の領域に設けられ、前記画素電極と同じ形状のダミー画素電極を有する
請求項1に記載の電気光学装置。
【請求項7】
前記基部は、絶縁性を有し、
前記第2電極は、平面視で前記基部を囲む
請求項1に記載の電気光学装置。
【請求項8】
請求項1乃至7のいずれかに記載の電気光学装置を有する電子機器。
発明の詳細な説明
【技術分野】
【0001】
本発明は、電気光学装置および電子機器に関する。
続きを表示(約 2,400 文字)
【背景技術】
【0002】
画像を表示する液晶表示装置のような電気光学装置では、液晶層が光の入射によって光化学反応を起こし、反応生成物として劣化物が発生することが知られている。また、液晶層を封止するシール材から液晶層にイオンが染み出すことも知られている。
大画面を表示する投射型表示装置に適用される電気光学装置では、入射光の光束密度が直視型と比較して高い一方で、電気光学装置の画素サイズが相対的に小さいので、劣化物やイオンなどのような電荷を帯びた不純物が表示に悪影響を及ぼしやすい。
このため、非表示領域に設けられた電極に位相の異なる交流信号を印加することで、不純物を表示領域から非表示領域に移動させる技術が提案されている(例えば特許公報1参照)。
【先行技術文献】
【特許文献】
【0003】
特開2017-78792号公報
【発明の概要】
【発明が解決しようとする課題】
【0004】
しかしながら、上記技術では、電気光学装置の電源が遮断されると、非表示領域に移動した不純物が表示領域に戻って、表示品位を低下させる、という課題がある。
【課題を解決するための手段】
【0005】
上記課題を解決するために、本開示の一態様に係る電気光学装置は、互いに対向配置され、シール材を介して貼り合わされた第1基板および第2基板と、前記第1基板と前記第2基板との間で挟持された液晶層と、前記第1基板の表示領域において、前記第1基板の前記第2基板側に設けられた画素電極と、前記第2基板の前記第1基板側において、前記画素電極に対向して設けられた対向電極と、前記第1基板の前記第2基板側において、平面視で、前記表示領域と前記シール材との間の非表示領域のうちの一部に設けられた基部と、前記基部の前記第2基板側に設けられた第1電極と、前記第1基板の前記第2基板側において、平面視で、前記非表示領域のうち、前記基部と重ならない位置に設けられ、前記第1電極と電気的に絶縁され、第1電位が印加された第2電極と、を含み、前記第1電極の一部は、断面視で、前記基部からせり出し、前記第1基板の法線方向において、前記基部からせり出した前記第1電極の前記第1基板側の面は、前記第2電極の前記第2基板側の面よりも前記第2基板側に位置する。
【図面の簡単な説明】
【0006】
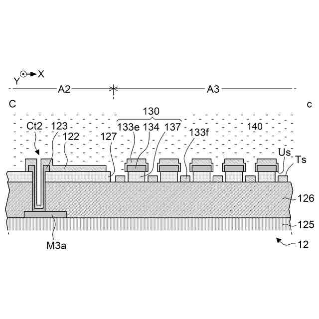
第1実施形態に係る液晶表示装置の構成を示す平面図である。
液晶表示装置を図1におけるB-b線で破断した断面図である。
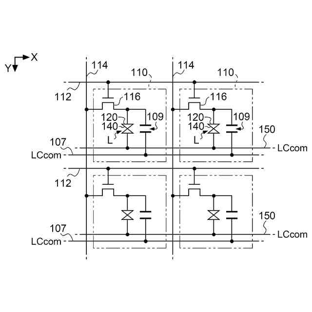
液晶表示装置における画素回路の等価回路を示す図である。
液晶表示装置におけるデータ信号等における電位を示す図である。
液晶表示装置における素子基板の要部構成を示す平面図である。
液晶表示装置における素子基板の要部構成を示す平面図である。
液晶表示装置における素子基板の要部構成を図5におけるC-c線で破断して示す部分断面図である。
液晶表示装置の製造プロセスを簡易的に示す図である。
液晶表示装置の製造プロセスを簡易的に示す図である。
液晶表示装置におけるイオン性不純物の捕捉を示す図である。
第2実施形態に係る液晶表示装置における素子基板の要部構成を示す部分断面図である。
液晶表示装置におけるイオン性不純物の捕捉を示す図である。
液晶表示装置を適用した投射型表示装置を示す図である。
比較例に係る液晶表示装置におけるイオン性不純物の捕捉を示す図である。
【発明を実施するための形態】
【0007】
以下、実施形態に係る電気光学装置について液晶表示装置を例にとって説明する。なお、以下の各図において、各部の寸法および縮尺は、実際のものと適宜に異ならせてある。また、以下に述べる実施の形態は、好適な具体例であるから、技術的に好ましい種々の限定が付されているが、本開示の範囲は、以下の説明において特に本開示を限定する旨の記載がない限り、これらの形態に限られるものではない。
【0008】
図1は、第1実施形態に係る液晶表示装置10の構成を示す平面図であり、図2は、液晶表示装置10を図1におけるB-b線で破断した断面図である。図2に示されるように、液晶表示装置10は、素子基板12と対向基板15とがシール材16によってほぼ一定のセル厚を保ちつつ、貼り合わせられている。素子基板12および対向基板15としては、それぞれガラスや石英などの光透過性および絶縁性を有する基材が用いられる。
【0009】
素子基板12において対向基板15との対向面には複数の画素電極120が設けられる。複数の画素電極120は、平面視において図1に示されるようにX方向およびY方向に沿ってマトリクス状に配列する。平面視において複数の画素電極120が配列する領域が表示領域A1である。
なお、X方向とは、矩形形状の表示領域A1のうちの長手方向をいい、後述する走査線の延在方向である。Y方向とは、矩形形状の表示領域A1のうちの短手方向をいい、後述するデータ線の延在方向である。また、平面視とは、素子基板12および対向基板15における一方の基板から、他方の基板を眺めることをいい、具体的に、素子基板12の平面視とは、対向基板15から眺めることをいう。
対向基板15において素子基板12との対向面には、対向電極150が設けられる。
【0010】
液晶層140は、素子基板12および対向基板15で液晶が挟持された層である。液晶層140には、例えばVA(Vertical Alignment)方式のように、液晶分子の長軸方向が電圧無印加状態において基板面の垂直方向に配向する液晶が充填される。
(【0011】以降は省略されています)
この特許をJ-PlatPat(特許庁公式サイト)で参照する
関連特許
個人
立体像表示装置
今日
東レ株式会社
積層フィルム
6日前
東レ株式会社
貼合体の製造方法
今日
東レ株式会社
赤外線遮蔽構成体
今日
アイカ工業株式会社
反射防止フィルム
12日前
キヤノン株式会社
映像表示装置
25日前
日本電気株式会社
光集積回路素子
4日前
インターマン株式会社
立体映像表示装置
25日前
スタンレー電気株式会社
照明装置
7日前
住友化学株式会社
偏光板
今日
住友化学株式会社
積層体
4日前
住友化学株式会社
偏光板
今日
日東電工株式会社
調光フィルム
5日前
旭化成株式会社
成形体
11日前
住友化学株式会社
光学積層体
今日
個人
透過型及び反射型顕微鏡
25日前
日本精機株式会社
ヘッドアップディスプレイ装置
5日前
旭化成株式会社
成形体
11日前
日本分光株式会社
赤外顕微鏡
11日前
住友化学株式会社
偏光積層体
今日
キヤノン株式会社
画像表示装置
11日前
キヤノン株式会社
レンズ装置および撮像装置
5日前
キヤノン株式会社
レンズ装置および撮像装置
13日前
住友ベークライト株式会社
積層体の製造方法
5日前
Orbray株式会社
MEMS光スイッチの制御方法
5日前
レーザーテック株式会社
検査装置及び検査方法
15日前
古河電気工業株式会社
光モジュール、光接続構造
5日前
住友化学株式会社
偏光板及び画像表示装置
6日前
キヤノン株式会社
表示装置
18日前
日東電工株式会社
積層光学部材及び光学装置
4日前
株式会社小糸製作所
画像投影装置
25日前
住友ベークライト株式会社
光学シート
4日前
TDK株式会社
メタサーフェスレンズ
4日前
日東電工株式会社
光学積層体
26日前
京セラ株式会社
走査装置及び制御装置
4日前
京セラ株式会社
走査装置及び制御装置
4日前
続きを見る
他の特許を見る