TOP
|
特許
|
意匠
|
商標
特許ウォッチ
Twitter
他の特許を見る
公開番号
2025150701
公報種別
公開特許公報(A)
公開日
2025-10-09
出願番号
2024051729
出願日
2024-03-27
発明の名称
積層体の製造方法
出願人
住友ベークライト株式会社
代理人
個人
主分類
G02B
6/13 20060101AFI20251002BHJP(光学)
要約
【課題】反り量を抑制することが可能な積層体の製造方法を提供する。
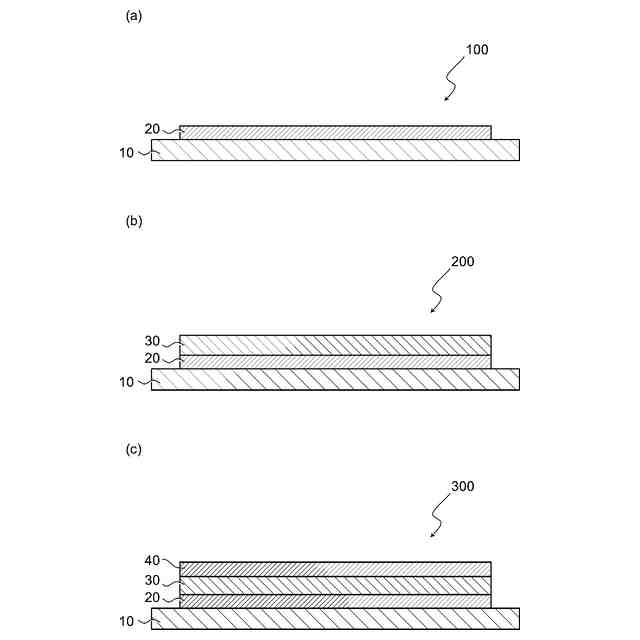
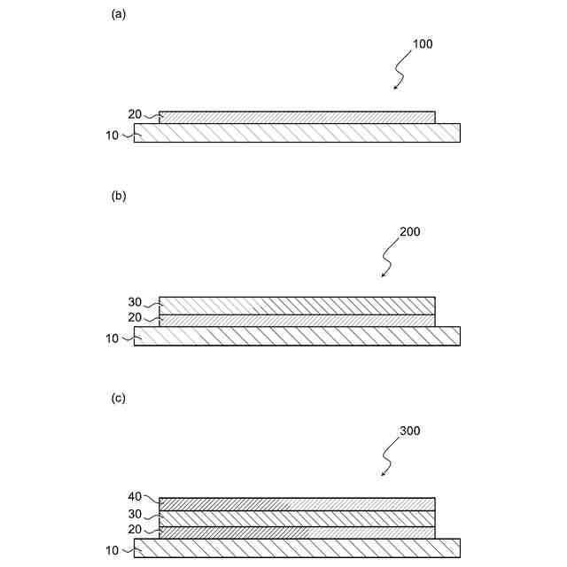
【解決手段】基板10と、第1のクラッド形成用樹脂層20と、を備える積層体(a)100を準備する工程(A)と、第1のクラッド形成用樹脂層20の上にコア形成用樹脂層30を形成することにより、基板10と、第1のクラッド形成用樹脂層20と、コア形成用樹脂層30と、を備える積層体(b)200を得る工程(B)と、積層体(b)200を100℃以下で加熱処理する工程(C)と、を含む、積層体の製造方法。
【選択図】図1
特許請求の範囲
【請求項1】
基板と、第1のクラッド形成用樹脂層と、を備える積層体(a)を準備する工程(A)と、
前記第1のクラッド形成用樹脂層の上にコア形成用樹脂層を形成することにより、前記基板と、前記第1のクラッド形成用樹脂層と、前記コア形成用樹脂層と、を備える積層体(b)を得る工程(B)と、
前記積層体(b)を100℃以下で加熱処理する工程(C)と、を含む、積層体の製造方法。
続きを表示(約 930 文字)
【請求項2】
前記工程(A)と前記工程(B)との間に、前記積層体(a)を加熱処理する工程を含まない、または、前記積層体(a)を加熱処理する工程をさらに含み、
前記積層体(a)を加熱処理する工程における加熱処理温度は、前記工程(C)における加熱処理温度以下である、請求項1に記載の積層体の製造方法。
【請求項3】
前記工程(C)よりも後に、前記コア形成用樹脂層の上に第2のクラッド形成用樹脂層を形成することにより、前記基板と、前記第1のクラッド形成用樹脂層と、前記コア形成用樹脂層と、前記第2のクラッド形成用樹脂層と、を備える積層体(c)を得る工程(D)をさらに含む、請求項1または2に記載の積層体の製造方法。
【請求項4】
前記積層体(c)を加熱処理する工程(E)をさらに含む、請求項3に記載の積層体の製造方法。
【請求項5】
前記工程(E)における加熱処理温度が、前記工程(C)における加熱処理温度よりも高い、請求項4に記載の積層体の製造方法。
【請求項6】
前記工程(A)と前記工程(B)との間に、前記積層体(a)を露光する工程(F)をさらに含む、請求項1または2に記載の積層体の製造方法。
【請求項7】
前記工程(B)と前記工程(C)との間に、前記積層体(b)を露光する工程(G)をさらに含む、請求項1または2に記載の積層体の製造方法。
【請求項8】
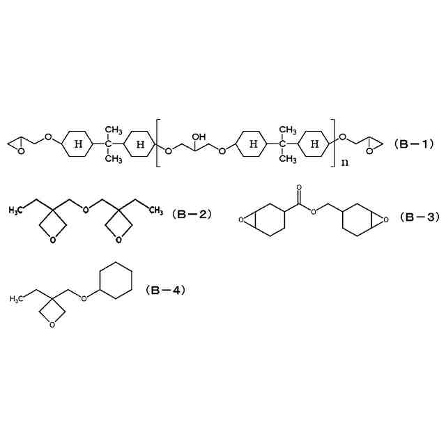
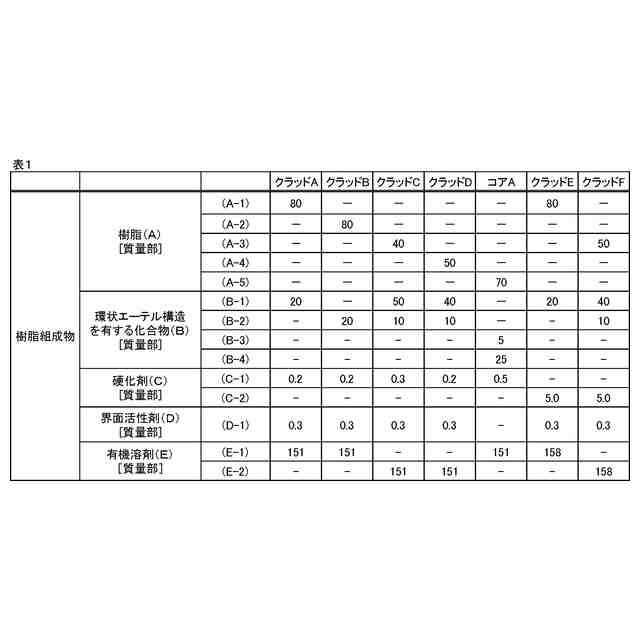
前記第1のクラッド形成用樹脂層は、ノルボルネン構造を有する樹脂、ポリイミド樹脂、および、環状エーテル構造を有する化合物からなる群から選択される少なくとも一種を含む、請求項1または2に記載の積層体の製造方法。
【請求項9】
前記第1のクラッド形成用樹脂層は光重合開始剤を含む、請求項1または2に記載の積層体の製造方法。
【請求項10】
前記コア形成用樹脂層は、ノルボルネン構造を有する樹脂および環状エーテル構造を有する化合物からなる群から選択される少なくとも一種を含む、請求項1または2に記載の積層体の製造方法。
(【請求項11】以降は省略されています)
発明の詳細な説明
【技術分野】
【0001】
本発明は、積層体の製造方法に関する。
続きを表示(約 2,600 文字)
【背景技術】
【0002】
近年、情報通信機器において、情報の大容量化、情報通信速度の高速化等の、より高度な情報通信を実現できる部材が求められており、そのような部材の一つとして光電気複合基板が検討されている。
【0003】
光電気複合基板は、例えば、基板上に光導波路が設けられたものが挙げられる。
光導波路の製造方法に関する技術としては、例えば、特許文献1および2に記載の技術が挙げられる。
【0004】
特許文献1には、下部クラッド部と、該下部クラッド部上に配置されており且つ光を伝搬するコア部と、該コア部上に配置された上部クラッド部と、一部が該下部クラッド内に配置されており且つ該コア部を伝搬する光の光路を変換する光路変換部と、を備える光導波路構造体の製造方法において、上記下部クラッド部となる未硬化下部クラッド部を形成する未硬化下部クラッド部形成工程と、上記光路変換部となる光路変換部品の一部を該未硬化下部クラッド部内に埋入する光路変換部品埋入工程と、を備えることを特徴とする光導波路構造体の製造方法が記載されている。
特許文献1の光導波路構造体の製造方法によれば、光路変換部品上に下部クラッド部が付着することによるコア部形成阻害を生じず、簡便に自由度が高い設計を正確に行うことができると記載されている。
【0005】
特許文献2には、コア及びクラッドを有する光導波路の製造方法であって、未硬化のクラッド形成用の光硬化性樹脂層を形成するクラッド形成用樹脂層形成工程、クラッド形成用樹脂層の上に未硬化のコア形成用の光硬化性樹脂層を形成するコア形成用樹脂層形成工程、コア形成用樹脂層のうちコアにするべき部分にのみ及びクラッド形成用樹脂層のうちコアにするべき部分に対応する部分にのみ光を照射する光照射工程、及び、コア形成用樹脂層及びクラッド形成用樹脂層を熱処理する熱処理工程、を有することを特徴とする光導波路の製造方法が記載されている。
特許文献2の光導波路の製造方法によれば、プラズマ処理をすることなく、クラッド層とコア層との層間密着力を高めることができると記載されている。
【先行技術文献】
【特許文献】
【0006】
特開2005-331779号公報
特開2012-98672号公報
【発明の概要】
【発明が解決しようとする課題】
【0007】
本発明者の検討によれば、光電気複合基板の製造方法において、得られる光電気複合基板の反りが生じる場合があることを見出した(以下、本明細書において、光電気複合基板や積層体の反りが大きいことを反り量が大きいともいう)。
【0008】
本発明は、反り量を抑制することが可能な積層体の製造方法を提供するものである。
【課題を解決するための手段】
【0009】
本発明によれば、以下に示す積層体の製造方法が提供される。
【0010】
[1]
基板と、第1のクラッド形成用樹脂層と、を備える積層体(a)を準備する工程(A)と、
前記第1のクラッド形成用樹脂層の上にコア形成用樹脂層を形成することにより、前記基板と、前記第1のクラッド形成用樹脂層と、前記コア形成用樹脂層と、を備える積層体(b)を得る工程(B)と、
前記積層体(b)を100℃以下で加熱処理する工程(C)と、を含む、積層体の製造方法。
[2]
前記工程(A)と前記工程(B)との間に、前記積層体(a)を加熱処理する工程を含まない、または、前記積層体(a)を加熱処理する工程をさらに含み、
前記積層体(a)を加熱処理する工程における加熱処理温度は、前記工程(C)における加熱処理温度以下である、前記[1]に記載の積層体の製造方法。
[3]
前記工程(C)よりも後に、前記コア形成用樹脂層の上に第2のクラッド形成用樹脂層を形成することにより、前記基板と、前記第1のクラッド形成用樹脂層と、前記コア形成用樹脂層と、前記第2のクラッド形成用樹脂層と、を備える積層体(c)を得る工程(D)をさらに含む、前記[1]または[2]に記載の積層体の製造方法。
[4]
前記積層体(c)を加熱処理する工程(E)をさらに含む、前記[3]に記載の積層体の製造方法。
[5]
前記工程(E)における加熱処理温度が、前記工程(C)における加熱処理温度よりも高い、前記[4]に記載の積層体の製造方法。
[6]
前記工程(A)と前記工程(B)との間に、前記積層体(a)を露光する工程(F)をさらに含む、前記[1]~[5]のいずれかに記載の積層体の製造方法。
[7]
前記工程(B)と前記工程(C)との間に、前記積層体(b)を露光する工程(G)をさらに含む、前記[1]~[6]のいずれかに記載の積層体の製造方法。
[8]
前記第1のクラッド形成用樹脂層は、ノルボルネン構造を有する樹脂、ポリイミド樹脂、および、環状エーテル構造を有する化合物からなる群から選択される少なくとも一種を含む、前記[1]~[7]のいずれかに記載の積層体の製造方法。
[9]
前記第1のクラッド形成用樹脂層は光重合開始剤を含む、前記[1]~[8]のいずれかに記載の積層体の製造方法。
[10]
前記コア形成用樹脂層は、ノルボルネン構造を有する樹脂および環状エーテル構造を有する化合物からなる群から選択される少なくとも一種を含む、前記[1]~[9]のいずれかに記載の積層体の製造方法。
[11]
前記コア形成用樹脂層は光重合開始剤を含む、前記[1]~[10]のいずれかに記載の積層体の製造方法。
[12]
前記積層体は、前記基板と、第1のクラッド層と、コア層と、第2のクラッド層とをこの順に備える光電気複合基板である、前記[1]~[11]のいずれかに記載の積層体の製造方法。
【発明の効果】
(【0011】以降は省略されています)
この特許をJ-PlatPat(特許庁公式サイト)で参照する
関連特許
東レ株式会社
積層フィルム
2日前
アイカ工業株式会社
反射防止フィルム
8日前
日本電気株式会社
光集積回路素子
今日
スタンレー電気株式会社
照明装置
3日前
住友化学株式会社
積層体
今日
日東電工株式会社
調光フィルム
1日前
日本精機株式会社
ヘッドアップディスプレイ装置
1日前
日本分光株式会社
赤外顕微鏡
7日前
旭化成株式会社
成形体
7日前
旭化成株式会社
成形体
7日前
キヤノン株式会社
画像表示装置
7日前
キヤノン株式会社
レンズ装置および撮像装置
1日前
住友ベークライト株式会社
積層体の製造方法
1日前
キヤノン株式会社
レンズ装置および撮像装置
9日前
レーザーテック株式会社
検査装置及び検査方法
11日前
Orbray株式会社
MEMS光スイッチの制御方法
1日前
古河電気工業株式会社
光モジュール、光接続構造
1日前
住友化学株式会社
偏光板及び画像表示装置
2日前
京セラ株式会社
走査装置及び制御装置
今日
京セラ株式会社
走査装置及び制御装置
今日
日東電工株式会社
積層光学部材及び光学装置
今日
住友ベークライト株式会社
光学シート
今日
TDK株式会社
メタサーフェスレンズ
今日
KDDI株式会社
光増幅器
8日前
住友ベークライト株式会社
光学性積層体
今日
KDDI株式会社
光増幅器
8日前
エピフォトニクス株式会社
光導波路素子
8日前
住友ベークライト株式会社
光学性積層体
今日
日本カーバイド工業株式会社
微小球型再帰反射シート
今日
日本カーバイド工業株式会社
微小球型再帰反射シート
今日
国立大学法人徳島大学
光共振器、及び光周波数コム発生装置
1日前
国立大学法人徳島大学
光共振器、及び光周波数コム発生装置
1日前
住友化学株式会社
積層体および表示装置
今日
株式会社精工技研
光コネクタプラグおよびロック工具
2日前
住友化学株式会社
複合偏光板及び画像表示装置
9日前
東レ株式会社
黒色樹脂組成物
7日前
続きを見る
他の特許を見る