TOP
|
特許
|
意匠
|
商標
特許ウォッチ
Twitter
他の特許を見る
10個以上の画像は省略されています。
公開番号
2025149996
公報種別
公開特許公報(A)
公開日
2025-10-09
出願番号
2024050621
出願日
2024-03-27
発明の名称
MEMS光スイッチの制御方法
出願人
Orbray株式会社
代理人
主分類
G02B
6/35 20060101AFI20251002BHJP(光学)
要約
【課題】光出射ポートの多チャンネル化と4象限領域に亘る制御でも電圧制御を簡易とし、電圧パラメータ数が抑えられたMEMS光スイッチの制御方法を提供する。
【解決手段】MEMS光スイッチの制御方法が、MEMSミラーと、複数の光ファイバで構成される光出射ポートを有し、MEMSミラーの切り替え領域を、X軸及びY軸と、+方向と-方向に依る角度空間とし、光出射ポートの光ファイバの端面に角度空間を投影して、第一象限~第四象限に光ファイバの配置領域を分け、MEMSミラーの角度を所望の設定角度に制御する電圧を制御電圧とする。更にX軸とY軸の交点を、MEMSミラーの制御電圧に於ける0(V)に設定し、交点に1本の光ファイバの端面を対応させる。MEMSミラーで反射された光の光接続を光ファイバ間で切り替える際に、X軸とY軸のどちらか又は両方の+領域と-領域の切り替えに於いて、0(V)の設定を経由させる。
【選択図】図4
特許請求の範囲
【請求項1】
MEMSミラーと、複数の光ファイバで構成される光出射ポートを有し、
MEMSミラーの切り替え領域を、互いに直交するX軸及びY軸の2つの揺動軸と、+方向と-方向の揺動方向に依る角度空間とし、
光出射ポートを構成する光ファイバの端面に角度空間を投影して、X軸とY軸がそれぞれ+領域と-領域に分けられた第一象限~第四象限の4つの象限に複数の光ファイバの配置領域を分けると共に、
MEMSミラーに供給されてMEMSミラーの角度を所望の設定角度に制御する電圧を制御電圧とし、
X軸とY軸の交点を、MEMSミラーの制御電圧に於ける0(V)に設定し、更に交点に光出射ポートの1本の光ファイバの端面を対応させ、
MEMSミラーで反射された光の光接続を、MEMSミラーを揺動して光ファイバ間で切り替える際に、X軸とY軸のどちらか又は両方の+領域と-領域の切り替えに於いて、領域の符号が変わる軸方向では0(V)の設定を経由させて、
4つの象限の各領域にそれぞれ配置されている光出射ポートの光ファイバに光を入射させるMEMS光スイッチの制御方法。
続きを表示(約 700 文字)
【請求項2】
前記+領域と前記-領域の切り替えに於いて、前記X軸と前記Y軸のどちらの軸方向でも前記0(V)の設定を経由させる請求項1に記載のMEMS光スイッチの制御方法。
【請求項3】
前記制御電圧として、前記光ファイバの光接続の切り替え前に前記MEMSミラーに供給されている前記制御電圧をV1a(V)、所望の前記光ファイバに光接続を切り替える為に前記MEMSミラーに供給される前記制御電圧をV1b(V)とし、
V1a(V)未満又はV1b(V)未満で且つ前記0(V)超である電圧V2(V)を、V1a(V)から前記0(V)に遷移する途中、又は、前記0(V)からV1b(V)に遷移する途中の少なくともどちらかの遷移の途中で、前記MEMSミラーに供給する請求項1又は2の何れかに記載のMEMS光スイッチの制御方法。
【請求項4】
前記V1a(V)から前記0(V)に遷移する途中、及び、前記0(V)から前記V1b(V)に遷移する途中のどちらかの遷移の途中にも、前記V2(V)を前記MEMSミラーに供給する請求項3に記載のMEMS光スイッチの制御方法。
【請求項5】
前記V2(V)を1つの電圧値とする請求項3に記載のMEMS光スイッチの制御方法。
【請求項6】
前記MEMSミラーの揺動軸が、90°に直交する2つのX軸とY軸であり、
前記MEMSミラーの揺動軸であるX軸及びY軸と、前記光出射ポートの配置領域を設定する前記X軸と前記Y軸の各軸方向を、それぞれ一致させる請求項1に記載のMEMS光スイッチの制御方法。
発明の詳細な説明
【技術分野】
【0001】
本発明は、MEMS光スイッチの制御方法に関する。
続きを表示(約 1,400 文字)
【背景技術】
【0002】
従来から、ミラー等の揺動部を有するMEMS(Micro Electro Mechanical Systems)が知られている。
【0003】
ミラーを備えるMEMSの応用の一つとして、例えばMEMS光スイッチが挙げられる。MEMS光スイッチは、1つ若しくは複数の光入射ポートと、同じく1つ若しくは複数の光出射ポートを有する。更にこれら光入出射ポート間の光路に、MEMSによる制御機構を備える可動式のミラー(MEMSミラー)が配置され、光入射ポートと光出射ポートを光学的に結合させる。
【0004】
この様なMEMS光スイッチでは、制御機構を通じて制御電圧をMEMSに供給する事によりミラーの傾きを変え、光入射ポートと光出射ポートの光学的な結合を変化させ、光の伝搬路を切り替えている(例えば、特許文献1に於ける図2を参照)。
【0005】
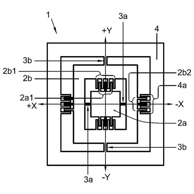
また前記MEMS光スイッチに搭載されるMEMSミラーとして、例えば櫛歯型電極を備え静電引力により駆動する、静電櫛歯型のMEMSミラーが特許文献2に開示されている。特許文献2には、X-X’軸及びY-Y’軸の二軸周りに制御が可能なMEMSミラーが開示されている。
【0006】
特許文献2記載のMEMSミラーの様に、X-X’軸及びY-Y’軸の二軸周りに制御可能にMEMSミラーが構成される事で、MEMSミラーの可動範囲が拡大し、複数の光入射ポートと光出射ポートのポート数を増加させる事が出来る。
【0007】
例えば、特許文献1の図7に示すMEMSミラーを用いた光スイッチの制御方法では、複数の光パスの配置位置にX軸とY軸の二軸を設定している。更にその二軸に亘って所要の角度が設定可能な特許文献1のMEMSミラーや、特許文献2のMEMSミラーを使用する事で、特許文献1の図7に示す光パス(光出射ポート)に於いて、X軸及びY軸にそれぞれ所要の角度を設定して、光を入射させる事が可能となる。
【先行技術文献】
【特許文献】
【0008】
特開2004-219469号公報
特開2013-029849号公報
【発明の概要】
【発明が解決しようとする課題】
【0009】
本出願人及び本発明者の検証に依ると、MEMSミラーの揺動軸をX軸及びY軸共に+(プラス)方向のみの+X軸と+Y軸の二方向に限定しても、例えば図16に示す様にMEMS光スイッチの光出射ポート数100が15ポート以内であれば、図17に示す様に簡易なステップ電圧制御での揺動が可能である事が確認された。図16では、1つのポートは光入射ポートであり、残りの15ポートが光出射ポートである。図17内の、実線がMEMSミラーのX軸制御電圧(X電圧)V(+X)(V)、破線がMEMSミラーのY軸制御電圧(Y電圧)V(+Y)(V)である。更に、制御用の電圧パラメータ数が膨大とならない事も確認された。
【0010】
なお図16では、最下層の光ファイバアレイの最も左側に配列されている光ファイバから、最上層の光ファイバアレイの最も右側に配列されている光ファイバへと光接続状態を切り替える一例を表している。
(【0011】以降は省略されています)
この特許をJ-PlatPat(特許庁公式サイト)で参照する
関連特許
東レ株式会社
積層フィルム
2日前
アイカ工業株式会社
反射防止フィルム
8日前
スタンレー電気株式会社
照明装置
3日前
日本電気株式会社
光集積回路素子
今日
住友化学株式会社
積層体
今日
日東電工株式会社
調光フィルム
1日前
旭化成株式会社
成形体
7日前
日本分光株式会社
赤外顕微鏡
7日前
日本精機株式会社
ヘッドアップディスプレイ装置
1日前
旭化成株式会社
成形体
7日前
キヤノン株式会社
レンズ装置および撮像装置
9日前
キヤノン株式会社
画像表示装置
7日前
住友ベークライト株式会社
積層体の製造方法
1日前
キヤノン株式会社
レンズ装置および撮像装置
1日前
Orbray株式会社
MEMS光スイッチの制御方法
1日前
古河電気工業株式会社
光モジュール、光接続構造
1日前
住友化学株式会社
偏光板及び画像表示装置
2日前
京セラ株式会社
走査装置及び制御装置
今日
京セラ株式会社
走査装置及び制御装置
今日
住友ベークライト株式会社
光学シート
今日
日東電工株式会社
積層光学部材及び光学装置
今日
TDK株式会社
メタサーフェスレンズ
今日
KDDI株式会社
光増幅器
8日前
KDDI株式会社
光増幅器
8日前
国立大学法人徳島大学
光共振器、及び光周波数コム発生装置
1日前
日本カーバイド工業株式会社
微小球型再帰反射シート
今日
日本カーバイド工業株式会社
微小球型再帰反射シート
今日
株式会社精工技研
光コネクタプラグおよびロック工具
2日前
エピフォトニクス株式会社
光導波路素子
8日前
国立大学法人徳島大学
光共振器、及び光周波数コム発生装置
1日前
住友ベークライト株式会社
光学性積層体
今日
住友ベークライト株式会社
光学性積層体
今日
住友化学株式会社
積層体および表示装置
今日
住友化学株式会社
複合偏光板及び画像表示装置
9日前
日本カーバイド工業株式会社
カプセル型再帰反射シート
2日前
株式会社トプコン
ミラー部材
今日
続きを見る
他の特許を見る