TOP
|
特許
|
意匠
|
商標
特許ウォッチ
Twitter
他の特許を見る
公開番号
2025143825
公報種別
公開特許公報(A)
公開日
2025-10-02
出願番号
2024043273
出願日
2024-03-19
発明の名称
金融店舗システム、及び、金融店舗システムが行う方法
出願人
グローリー株式会社
代理人
弁理士法人R&C
主分類
G06Q
40/02 20230101AFI20250925BHJP(計算;計数)
要約
【課題】顧客を円滑に誘導可能な金融店舗システム、及び、顧客を円滑に誘導可能な方法の提供。
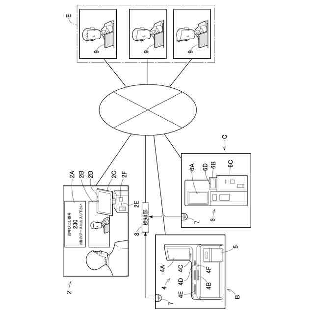
【解決手段】顧客に操作される来店受付装置2と、目的に応じて夫々異なる取引処理を実行する複数種類の取引処理装置4,6と、が備えられる金融店舗で用いられる金融店舗システム。来店受付装置2に、顧客の来店目的を受付ける受付部2B,2Cと、複数種類の取引処理装置4,6のうち来店目的に対応する対象取引処理装置4,6へ顧客を誘導する誘導部2Aと、が備えられている。
【選択図】図2
特許請求の範囲
【請求項1】
顧客に操作される来店受付装置と、目的に応じて夫々異なる取引処理を実行する複数種類の取引処理装置と、が備えられる金融店舗で用いられる金融店舗システムであって、
前記来店受付装置に、前記顧客の来店目的を受付ける受付部と、前記複数種類の取引処理装置のうち前記来店目的に対応する対象取引処理装置へ前記顧客を誘導する誘導部と、が備えられている金融店舗システム。
続きを表示(約 1,100 文字)
【請求項2】
前記複数種類の取引処理装置に、
前記顧客の確認書類に関する情報を遠隔地の係員が操作する接客端末へ送信し、かつ、前記顧客へ受け渡す情報を前記接客端末から受信する店舗側接客装置と、
前記顧客に操作され、貨幣の出し入れを処理する貨幣処理装置と、が含まれる請求項1に記載の金融店舗システム。
【請求項3】
前記複数種類の取引処理装置のうちの少なくとも一つは、遠隔地の係員が操作する接客端末に接続して前記係員との遠隔対話を可能に構成されている請求項1または2に記載の金融店舗システム。
【請求項4】
前記取引処理装置のうちの少なくとも一つに、前記顧客から本人確認のための情報を取得する第一認証情報取得部が備えられている請求項1または2に記載の金融店舗システム。
【請求項5】
前記来店受付装置に、
前記顧客から本人確認のための情報を取得する第二認証情報取得部と、
前記顧客を特定する情報を付した媒体を発行する媒体出力部と、が備えられている請求項1または2に記載の金融店舗システム。
【請求項6】
前記第二認証情報取得部は、前記顧客の身分証明書を撮影するカメラを含む請求項5に記載の金融店舗システム。
【請求項7】
前記取引処理装置は前記金融店舗内において他と隔離された区画に設けられ、
前記区画内の検知領域における人物の存在を検知可能な検知部が備えられ、
前記誘導部は、第一の顧客が前記対象取引処理装置を利用し終え、かつ、前記検知領域に前記人物が前記検知部によって検知されないことに応じて、順番待ちをする第二の顧客を前記対象取引処理装置へ誘導するように構成されている請求項1または2に記載の金融店舗システム。
【請求項8】
前記区画内に設けられ、前記人物を撮像する撮像部が備えられ、
前記検知部は、前記撮像部の撮像画像に基づいて前記検知領域における前記人物を検知するように構成されている請求項7に記載の金融店舗システム。
【請求項9】
前記検知部は、前記撮像画像に基づいて前記検知領域における前記人物の人数を検知可能なように構成されている請求項8に記載の金融店舗システム。
【請求項10】
顧客に操作される来店受付装置と、目的に応じて夫々異なる取引処理を実行する複数種類の取引処理装置と、が備えられている金融店舗システムが行う処理方法であって、
前記顧客の来店目的を受付ける受付ステップと、前記複数種類の取引処理装置のうち前記来店目的に対応する対象取引処理装置へ前記顧客を誘導する誘導ステップと、を備える方法。
発明の詳細な説明
【技術分野】
【0001】
本開示は、金融店舗システム、及び、金融店舗システムが行う方法に関する。
続きを表示(約 1,200 文字)
【背景技術】
【0002】
例えば特許文献1に開示された金融店舗システムでは、顧客が営業店の係員(文献では「担当者」)に来店目的を伝え、係員は顧客の来店目的に応じて取引処理装置(文献では「ATM」)へ顧客を誘導する。
【先行技術文献】
【特許文献】
【0003】
特開2006-133827号公報
【発明の概要】
【発明が解決しようとする課題】
【0004】
従来であれば銀行にはテラー等が配置されていたが、近年の銀行においては、労働力不足、働き方改革、低収益構造等の要因によって、店舗の省人化が進んでいる。このため、金融機関の係員が所望の拠点に配置され、末端店舗に来店した顧客と当該相談員とが遠隔で対話を行う等、業務の効率化が進んでいる。一方、顧客は、取引処理装置の操作に慣れていなければ、店舗に来店してもどの取引処理装置を利用すればよいのか分らない場合も考えられる。また、省人化された店舗や無人店舗では、顧客が店舗内の行先に戸惑うことも考えられる。このような場合、他人が使用している途中の取引処理装置を別の顧客が誤って利用して、利用者同士で混乱が発生する虞もある。
【0005】
本開示の目的は、顧客を円滑に誘導可能な金融店舗システム、及び、顧客を円滑に誘導可能な方法を提供することにある。
【課題を解決するための手段】
【0006】
本開示は、顧客に操作される来店受付装置と、目的に応じて夫々異なる取引処理を実行する複数種類の取引処理装置と、が備えられる金融店舗で用いられる金融店舗システムであって、前記来店受付装置に、前記顧客の来店目的を受付ける受付部と、前記複数種類の取引処理装置のうち前記来店目的に対応する対象取引処理装置へ前記顧客を誘導する誘導部と、が備えられている。
【0007】
本開示による金融店舗システムでは、前記複数種類の取引処理装置に、前記顧客の確認書類に関する情報を遠隔地の係員が操作する接客端末へ送信し、かつ、前記顧客へ受け渡す情報を前記接客端末から受信する店舗側接客装置と、前記顧客に操作され、貨幣の出し入れを処理する貨幣処理装置と、が含まれる。
【0008】
本開示による金融店舗システムでは、前記複数種類の取引処理装置のうちの少なくとも一つは、遠隔地の係員が操作する接客端末に接続して前記係員との遠隔対話を可能に構成されている。
【0009】
本開示による金融店舗システムでは、前記取引処理装置のうちの少なくとも一つに、前記顧客から本人確認のための情報を取得する第一認証情報取得部が備えられている。
【0010】
本開示による金融店舗システムでは、前記来店受付装置に、前記顧客から本人確認のための情報を取得する第二認証情報取得部と、前記顧客を特定する情報を付した媒体を発行する媒体出力部と、が備えられている。
(【0011】以降は省略されています)
この特許をJ-PlatPat(特許庁公式サイト)で参照する
関連特許
グローリー株式会社
物品投出装置
26日前
グローリー株式会社
商品販売システム
1か月前
グローリー株式会社
監視システム及び監視プログラム
1か月前
グローリー株式会社
貨幣処理装置及び貨幣情報出力方法
16日前
グローリー株式会社
ロボットハンドおよびロボットシステム
1か月前
グローリー株式会社
遊技管理システム、各台装置及び遊技管理方法
2日前
グローリー株式会社
情報管理システム、情報取得方法およびプログラム
3日前
グローリー株式会社
注文システム、注文装置、注文方法、及びプログラム
26日前
グローリー株式会社
金融店舗システム、及び、金融店舗システムが行う方法
3日前
グローリー株式会社
収納システム、収納システムの制御方法およびプログラム
10日前
グローリー株式会社
紙葉類処理装置、紙葉類処理システムおよび紙葉類処理方法
2日前
グローリー株式会社
遊技場用装置
1か月前
株式会社シンクアウト
診断装置、診断システムおよび診断方法
26日前
グローリー株式会社
見守りシステム、見守り装置、見守り方法及び見守りプログラム
1か月前
グローリー株式会社
店舗システム、入場規制方法、プログラム、陳列棚および精算端末
1か月前
グローリー株式会社
ロボットシステム、ロボットハンド、位置検出方法、およびプログラム
1か月前
グローリー株式会社
不正検出装置、不正検出システム、不正検出方法及び不正検出プログラム
6日前
グローリー株式会社
検知装置およびプログラム
5日前
グローリー株式会社
商品販売システム、商品販売システムの制御方法、発券装置およびロッカー装置
1か月前
グローリー株式会社
注文システム、注文装置、携帯端末、注文方法、注文受付方法、および、プログラム
1か月前
グローリー株式会社
遊技場用装置及び遊技場用システム
1か月前
個人
裁判のAI化
2か月前
個人
情報処理システム
2か月前
個人
フラワーコートA
1か月前
個人
工程設計支援装置
1か月前
個人
地球保全システム
4日前
個人
為替ポイント伊達夢貯
1か月前
個人
冷凍食品輸出支援構造
1か月前
個人
介護情報提供システム
2か月前
個人
表変換編集支援システム
24日前
個人
設計支援システム
2か月前
個人
設計支援システム
2か月前
個人
携帯情報端末装置
1か月前
個人
知財出願支援AIシステム
1か月前
個人
結婚相手紹介支援システム
1か月前
株式会社カクシン
支援装置
2か月前
続きを見る
他の特許を見る